1891T 680kg Stand Engine
Owner’s Manual


Specifications:
- Safe Working Capacity: 680kg
- Operating Height: 895mm
- Width: 800mm
- Length: 870mm
- Distance between legs: 670mm
- Lower steel tubing: 70x70mm
- Column tubing: 60x60mm
- Column base tubing: 70x76mm
- Leg tubing: 60x60mm
- Mounting head plate: 248x149mm
- Mounting head plate (with fingers): 360x245mm
- Nett Weight: 39kg
- Carton: 870 x 240 x 210mm
- Gross Weight: 41kg
About the TradeQuip brand
The ‘TradeQuip’ brand of workshop equipment, is designed for use in a demanding workshop environment by professional users. With proven and trusted “Made for the Trade” reliability, ‘TradeQuip’ branded products offer the very best in performance for an affordable price. All backed by a 1year trade guarantee across 1,000+ distributors Australia-wide.
![]()
WARNING
IMPORTANT: READ ALL INSTRUCTIONS BEFORE USE
WARNING
The instructions and warnings contained in this manual should be read and understood before using or operating this equipment. Do not allow anyone to use or operate this equipment until they have read this manual and have developed a thorough understanding of how this equipment works. Failure to observe any of the instructions contained in the manual could result in severe personal injury to the user or bystanders, or cause damage to the equipment and property. Keep this manual in a convenient and safe place for future reference.
Whilst every effort has been made to ensure the accuracy of the information contained in this manual, the TQB Brands Pty Ltd policy of continuous improvement determines the right to make modifications without prior warning.
STANDARD OPERATING PROCEDURE
DO NOT use this machine unless you have been trained and assessed to a competent level in its state use and operation, and have been given permission to use this
| Safety glasses must be worn when operating this equipment | |
| Safety footwear must be worn when operating this equipment | |
| Rings and jewelry must not be worn when operating this equipment | |
| Long loose hair must be contained when operating this equipment | |
| Close-fitting/protective clothing must be worn when operating this equipment |
WARNING
ENGINE DIMENSIONS MUST BE WITHIN THE LEGS OF THE ENGINE STAND
PRE-OPERATIONAL SAFETY CHECKS
Before using the stand ensure it is in sound condition, and in good working order.
- Replace or repair damaged parts. Use recommended parts only. Non-authorized parts may be dangerous and will invalidate the warranty.
- Keep the stand clean for the best and safest performance.
- Locate the stand in an adequate working area for its function, keep the area clean and tidy and free from unrelated materials, and ensure there is adequate lighting.
- Use on a firm, level surface capable of sustaining the stand and the load.
- Maintain correct balance and footing. Ensure the floor is not slippery and wear non-slip shoes.
- Ensure all non-essential persons keep a safe distance whilst the stand is in use.
- Lock mounting plate in position before fixing a load, and ensure the load is centered and securely mounted on the locking plate.
- Ensure the Stand and the load is stable.
- Ensure the engine dimensions are within the engine stand dimensions
- To move a loaded stand, push it from the load side, above the two fixed wheels. DO NOT move the stand from the castor end and never pull the stand towards yourself. Also ensure the surface over which the stand is to travel is strong enough to take the standing load and that it is not cracked, uneven or obstructed.
- DO NOT operate the unit if damaged.
- DO NOT allow untrained persons to operate the stand.
- DO NOT exceed the rated capacity of 680kg.
- DANGER: DO NOT work under an engine mounted on the stand.
INTENDED USE
Safely supports an engine in place during repairs after being removed from the vehicle by an engine crane
ASSEMBLY, OPERATION, PREVENTITIVE MAINTENANCE
- FEATURES
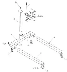
The 1891T Tradequip Engine Stand accepts a wide variety of engines and transmissions. The head swivels 360º for accessibility to all parts of the engine. It has fully adjustable mounting arms. Ball-bearing swivel casters provide excellent maneuverability. - ASSEMBLY
1. Bolt the two 390mm castor wheels (17) to the front legs (14) using bolts (15) and nuts (18).
2. Attach two 75mm castors (11) to the rear of legs (14), using nuts (13), and lock washers (20).
3. Assemble two legs (14) to the rear beam (10) using bolts (19), nuts (13), and flat washers (12).
4. Attach the main post (03) to the rear beam (10) using bolts (09), bolt (19) nuts (13), and flat washers (12).
5. Insert the engine mounting plate (06) through the tube at the top of the main post. Rotate the plate till one of the holes in the inner tube is aligned with a hole in the outer tube and insert the ringed pin (01).
6. Insert the handle (02) through the hole in the turning plate tube which protrudes from the top of the main post.
7. Attach the shifting stands (07) to the rotating head (06) using bolts (08), flat washers (05), and nuts (04).
8. Check all bolts for tightness before operating. - BEFORE USE
Prior to each use conduct a visual inspection by checking for abnormal conditions, such as cracked joints and damaged, loose, or missing parts. Ensure the engine dimensions are within the dimensions of the engine stand. - STORAGE
This Engine Stand should always be stored in a dry location on a level surface. - MAINTENANCE
Replace or repair damaged parts. Use recommended parts only. Non-authorized parts may be dangerous and will invalidate the warranty.
Keep the stand clean for the best and safest performance. - SERVICE & REPAIR
Any Engine Stand found damaged in any way, or found to be worn or operating abnormally should be removed from service until repaired by an authorized service agent. Owners and/or operators should be aware that repair of this product may require specialized equipment and knowledge. Only authorized parts, labels, and decals shall be used on this equipment. An annual inspection of the engine stand is recommended and can be made by an authorized repair facility to ensure that your equipment is in optimum condition and that the equipment has the correct decals and safety labels specified by the manufacturer.
PARTS DIAGRAM

PARTS LIST
| Part | Description | Qty | Part | Description | Qty |
| 1 | Pin | 1 | 11 | 75mm Castor | 2 |
| 2 | Handle | 1 | 12 | Flat Washer °12 | 8 |
| 3 | Main Post | 1 | 13 | Nut M12 | 8 |
| 4 | Nut M14 | 4 | 14 | Leg | 2 |
| 5 | Flat Washer *14 | 8 | 15 | Bolt M8x20 | 8 |
| 6 | Turning Plate | 1 | 16 | Lock Washer °8 | 8 |
| 7 | Shifting Stand | 4 | 17 | 90mm Castor | 2 |
| 8 | Bolt M14x65 | 4 | 18 | Nut M8 | 8 |
| 9 | Bolt M12x80 | 2 | 19 | Bolt M12x90 | 6 |
| 10 | Rear Beam | 1 | 20 | Lock Washer °12 | 2 |
WARRANTY
Tradequip products have been carefully tested and inspected before shipment and are guaranteed to be free from defective materials and workmanship for a period of 12 months from the date of purchase except where tools are hired out when the guarantee period is ninety days from the date of purchase.
Should the machine develop any fault, please return the complete tool to your nearest authorized warranty repair agent or contact TQB Brands Pty Ltd Warranty team – [email protected].
If upon inspection it is found that the fault occurring is due to defective materials or workmanship, repairs will be carried out free of charge. This guarantee does not apply to normal wear and tear, nor does it cover any damage caused by misuse, careless or unsafe handling, alterations, accident, or repairs attempted or made by any person other than the authorized TQB Brands Pty Ltd repair agent.
This guarantee applies in lieu of any other guarantee expressed or implied and variations of its terms are not authorized.
Your TQB Brands Pty Ltd guarantee is not effective unless you can produce upon request a dated receipt or invoice to verify your proof of purchase within the 12 month period.
Consumer Guarantee
Our goods come with a guarantee that cannot be excluded under the Australian Consumer Law. You are entitled to a replacement or refund for a major failure and compensation for any other reasonably foreseeable loss or damage. You are also entitled to have the goods repaired or replaced if the goods fail to be of acceptable quality and the failure does not amount to a major failure.

All images and illustrations shown are for reference purposes only. All information, specifications and illustrations in this manual are based on the latest information available at the time of publication and are subject to change without notice. The information in this manual is periodically revised to ensure the latest information is included. Download the latest version of this manual and other related technical documentation from www.tqbbrands.com.au
Made in China to TQB Brands Pty Ltd specifications
Visit us at www.tqbbrands.com.au


















