ZUMIMALL GX1C BATTERY POWERED CAMERA WIRELESS OUTDOOR I SECURITY User Guide
Thanks for your shopping and trust.
We have been optimizing our products and improve our lifetime customer service to offer you a better shopping experience. If you have any problems, please feel free to send us an E-mail. We will solve your problems within 24 hours. In addition, your advice or suggestions will be much appreciated and welcomed.
Brand Story
Founded in 2008, Zumimall focuses on the design and research of intelligent security technology. Zumimall insists on taking consumer needs as its core and strives to create smart home products that lead a global home fashion trend for consumers. Zumimall believes that craftsmanship creates top quality and technology changes life. With high-quality products and first-class service, Zumimall won the love and trust of millions of customers as soon as it went public. Over the years, Zumimall has served 45 continents of America, covering 80% of the population. Zumimall is the provider of a smart lifestyle and a guardian of the wonderful moments of your life.
What’s in the Box
- ZUMIMALL Battery Camera * 2

- Outdoor Metal Mount *2

- Quick User Guide *1

- USB Cable *2

- Screws Set *2

NOTE: Micro SD card and power adapter are not included.
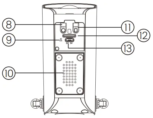
Product Diagram


- Camera Lens
- IR Lamp
- White Light
- PIR Sensor
- Antenna
- Camera Mode Indicator
- Microphone
- Reset Button
- LED Indicator
- Speaker
- Power Button
- SD Card Slot
- USB Port
| Power Button | Keep pressing for 5-10 seconds to power on/power off |
| Reset Button | Keep pressing for 5-10 seconds to reset |
| Blink Slowly in Red | Awaiting Wi-Fi connection, ready for adding devices |
| Blink Fast in Red | Wi-Fi connecting |
| Solid in Red | Network problem |
| Solid in Blue | Wi-Fi connected, camera running normally |
| Blink Slowly in Blue | Firmware update |
Reset Camera
- Keep pressing to remove device
- Press the reset button for 5-10s until hear the ‘Boogu’ sound
- Reconnect as before…

Download and Install App
Download ZUMIMALL App from Google Play™ or App Store™.
Or scan the QR codes as below, with your smart phone.
NOTE: Google Play™ is a trademark of Google Inc.
App Store™ is a service mark of Apple Inc.
NOTE: Please turn on both of the following permissions.
- Allow ZUMIMALL App to access mobile cellular data and wireless LAN, otherwise it will fail to connect the camera.
- Allow ZUMIMALL App to receive pushed messages, otherwise, the phone will not receive alarms when motion is detected.

Account Registration
New user needs to sign up ZUMIMALL App with email address. Click ‘Sign up’ to create a New Account and follow the steps to complete registration.
Add Camera to App
Preparations for connection
- Insert a Micro SD Card into the camera to save video clips or you can start the 7-day free cloud service. Without Micro SD Card or cloud service, no video will be saved.
- The camera only works with 2.4GHz Wi-Fi, not support 5GHz.
- When connecting to the network, please take the camera close to the router (Recommended within 10-15ft).
Connect Camera to App
- Tap ‘Add Device’
- Select ‘Battery Camera’
- Turn on the Camera

- Reset the Camera
- Input Wi-Fi Password
- Prepare the Scanning

- Scan QR Code when Indicator Flashing Slowly in Red
- Finished Installation When Reaches 100%

- Perform Network Diagnosis
- View Installation Tips

Camera Installation
- Fix the bracket to where you want to install the camera with the supplied screw.
- Fasten the camera on the metal mount, and fix them.
- Adjust the viewing angle of the camera.

Important Notes
To reduce false alarms, please note that:
- Do not install the camera in a position facing strong lights/mirror/window/ swimming pool.
- Do not place the camera too close to any angel with busy traffic.
- Keep camera away from the outlets, including air conditioner vents, humidifier outlets, the heat transfer vents of the projectors, etc.
- Keep the camera at least 1 meter away from any wireless devices to avoid interference, such as microwave stove, Wi-Fi routers and etc.
Monitoring Area
- It is not suggested to install the camera vertically towards the moving objects, otherwise, it may not detect the motion events or cause delay.
- It is suggested to make the angle between PIR Sensor and detected objects more than 10 degrees.
- The camera motion sensor is much more sensitive to side-to-side movement across its field of view than to movement directly toward or away from the camera



| 1 | Add Camera | 15 | Cloud Storage |
| 2 | Device List | 16 | Screenshot to Phone |
| 3 | Real Time | 17 | Two-Way Talk |
| 4 | Live View Button | 18 | Record to Phone |
| 5 | Camera Name | 19 | Motion Detection On/Off |
| 6 | Settings | 20 | Light |
| 7 | Device Homepage | 21 | Siren |
| 8 | Messages | 22 | Audio warning and strobe light |
| 9 | Explore | 23 | Album |
| 10 | Personal Homepage | 24 | Time Bar |
| 11 | Quit Live Viewing | 25 | Zoom |
| 12 | Setting Manual | 26 | Date of History Record |
| 13 | View Live | 27 | Alarm time point |
| 14 | SD Card History |
Two – Way Audio
- Open the microphone permission of ZUMIMALL APP.
- Long press the intercom button to start speaking, and the sound will be emitted from the camera at this time.
- Release the intercom button to listen to the speech, and the sound will be emitted from the mobile phone.

PIR Motion Detection
Motion Detection Alarm Setting
Motion detection sensitivity can be adjusted from 1 to 10 .
Please refer to the image below.
- Tap on ‘Settings’
- Select ‘Alarm Management’
- Set it up

Sensitivity Detecting Distance (For moving and living objects) LOW: 1-3 13-16ft(4-5meters) MID: 4-7 16-23ft(5-8meters) HIGH: 8-10 23-42ft(8-13meters) NOTE: The higher the sensitivity is, the longer distance the PIR can detect. Accordingly, the battery will drain faster.
Alarm Notification
This camera does not support 7*24 hours all day recording, it is an event recording camera. It is only triggered when body motion is detected.
Here are system’s reactions:
- Alarm notifications with sounds from App.
- Pictures/videos automatically stored in Micro SD Card or Cloud.
Record/Playback/Delete
- On ‘MESSAGES’ page, click ‘Alarm Messages’, you can view all the records listed.
- Click the following buttons to playback or delete.
- All screenshots or manually recorded videos on live/history/ cloud page will be saved in Pictures & Videos. Files here can be saved in your phone Album or shared with others directly.

Power Saving Settings
Alarm Interval
This is a function that avoids repeated alarms for the same event.
You can choose an alarm interval of different lengths, if the interval is 5 minutes, then the camera is triggered at 08:00, you will receive an alarm message, and you will not receive a new alarm push in the next 5 minutes, even if motion detection continues to occur.
NOTE: This function is off by default, you can set it as needed.
Recording Time
You can choose a different recording length if you set the recording length to 20 seconds, then after the camera is triggered, you can view the 20 seconds of alarm video in the history of cloud playback.
Alarm Plan
You can set the weekly/daily alarm schedule as you need. If you set the camera’s working hours from 0:00 to 1:00 .The camera will only be triggered and record alarm video during this time period.
NOTE :Alarm schedule can be set for up to 4 time periods.
Battery Management
- The camera has a built-in high-capacity battery, which can be used for 2-3 months, assuming the camera wakes up 15 times per day and play video for 10 minutes each day.
NOTE: The battery durability depends on how frequently the camera is woken up.
The more it wakes up, the faster the battery drains. It is recommended to lower down the ‘Motion Detection’ sensitivity or turn it off occasionally. - When power is less than 20%, the App will send you reminding messages for charging in time.
- Charge the camera with DC 5V 2A charger, until it is fully charged after 6-8 hours.

Multi Device Management
Multi Camera Management
Multi-User Sharing
NOTE: One App account (A) can’t login on multiple devices at the same time.
One camera can’t be connected to multiple App accounts either.
But camera can be shared form A to B.
Share steps:
- B download ZUMIMALL App to his/her phone and create a new account in the App.
- Click ‘Add’ in App on A’s phone.
- A scan B’s QR Code or input B’s account ID.
- B accept share and refresh the device page
- Click Device Share
- Watch the instructional video and click Add

- Two ways to share
- Scan other people’s QR code

- Enter other people’s account
- Select device sharing permission

- The shared person clicks Device Share
- Click to accept, the sharing is successful

ZUMIMALL FAQ
Unable to connect network
- Check WiFi name and password (password cannot contain special symbols).
- Make sure WiFi is 2.4GHz, 5GHz is not supported.
- Please make sure the camera and mobile phone are in the same WiFi environment when connecting, and add the camera near the router.
Connect to a new network
- Remove camera from ZUMIMALL APP.
- Long press the reset button to restore factory settings.
- Reconnect.
Reset the camera
- Long press the reset button until you hear the sound of “Boogu”.
- Wait for the camera status indicator to flash red slowly.
Can’t charge
- Charge at least 8~10 hours with a 5V/2A adapter.
- Ensure that the charging cable and power adapter can be used normally.
- The red light of the charging indicator is always on, indicating that it is charging, and the indicator turns blue when it is fully charged.
Frequently received alarm information
- Reduce the sensitivity of motion detection alarm.
- Check whether there is any object within the detection range of the camera to interfere with triggering the PIR sensor.
- Turn on “Alarm only when people appear”, and use the humanoid algorithm to filter false positives.
Some people pass by without calling the police
- Ensure that the network is in good condition, and the WiFi signal value cannot be lower than 70%.
- Ensure that motion detection is turned on and increase the sensitivity of the camera.
- Make sure the motion occurs within the detection range of the PIR.
No alarm video recording
- Make sure the camera is triggered.
- Ensure that the Micro SD card is inserted correctly and recognized successfully, or subscribe to cloud services.
No alarm push
- Open the phone settings, click the notification, find the “ZUMIMALL” APP, and open the permission notification.
- Open the “ZUMIMALL” APP, in the “Settings” interface, enable the alarm push.
- In the “My” interface, enter the settings and turn on the push sound.
- Ensure that the motion detection function of the device is successfully turned on.
- Restart the phone, try to clear the cache on the Android phone.
- Check whether the network is good.
Unable to play local history playback
- Check the status of the Micro SD card in “Settings” to ensure that the Micro SD card has been successfully recognized.
- Reinsert the Micro SD card.
- Format the Micro SD card in the APP.
- Use a new Micro SD card.
Unable to play cloud playback
- Make sure the cloud service function is enabled.
- Open cloud storage button in cloud service interface.
Device offline
- Check whether the device is in sufficient state, and observe whether the camera status indicator lights up normally.
- Check whether the WiFi network is good, restart the router.
- If the camera is installed far away from the router and cannot obtain a good WiFi signal, it is recommended to move the router to a closer place or install a WiFi signal extender to increase the WiFi strength.
- Delete the camera from the ZUMIMALL account, reset the device and add it again.
- Check if the device version and ZUMIMALL APP are the latest version.
Short battery life
- Reduce the sensitivity of camera motion detection and reduce the number of camera triggers.
- Reduce the number of two-way intercoms and watch the live broadcast.
- Set the alarm interval and alarm time plan.
- Check whether there are objects that interfere and trigger the PIR sensor within the field of view of the device.
- In cold weather, the battery capacity will be reduced, which will affect the battery life of the device.
ZUMIMALL APP crashes
- Re-download the latest version of ZUMIMALL APP.
- The version of the mobile phone system is too low or too high.
- Clear the phone cache.
Unable to register an account
- Ensure that ZUMIMALL APP has access to mobile cellular data and wireless LAN.
- Enter an unregistered account and make sure the format of the registered account is correct
Unable to share device
- The accounts you and your friends have registered must be in the same country.
- For example, UK users cannot share with US users.
No sound is heard when the device is talking
- Open the speaker button on the APP.
- Adjust the intercom volume in the settings.
- Turn on the phone media volume.
- Release the intercom button and listen to the other party
Noise during two-way intercom
- If the distance between the camera and the mobile phone is too close (1~2 meters), there will be whistling, which is a normal phenomenon.
- It is recommended to keep a certain distance between the camera and the mobile phone during the intercom.
Live video is blurry
- Check the lens for dust and wipe it clean.
- Try switching between different resolutions.
- Re-add camera after reset.
The live broadcast at night has white spots
- When the light source is directly on the lens, there will be white spots on the screen.
- It is recommended not to point the lens at a strong light source
If you have other questions, please send us the SN number of your camera and describe the problem you have encountered, we will solve it as soon as possible.
Email: [email protected]
How to find SN number?
- Click Settings
- Click Device Information
- View Virtual ID

Warranty Service
Register via link below to get 3 Years Warranty Extension.
http://bit.ly/zuReg
Product Service
Email: [email protected]
Distributor: [email protected]
More About Us
Web: www.zumimall.com
Facebook: www.facebook.com/zumimalloffice
Amazon Store: www.amazon.com/zumimall











































