![]()
Slimline Burner Manual
Operating Manual
Thank you for purchasing this Icon Fires product. Icon Fires places the highest priority on the safety of its products. Every care has been taken in designing, manufacturing, and assembling your Icon Fires Burner to ensure it operates effectively, efficiently, and safely. Live-fire products must be treated with care. We ask that you exercise care when using this product and follow the instructions below. Before using your Icon Fires Burner, please read all the information contained in this Operation Manual carefully. Icon Fires cannot be held responsible for any damage or injury caused if these instructions are not followed. Retain this Manual for future reference.
IMPORTANT SAFEGUARDS
When using this Fireplace, basic precautions should always be followed, including but not limited to the following. Read all instructions and warnings before using this Fireplace.
WARNING
- DO NOT OVERFILL THE BURNER’S INTENDED CAPACITY.
- NEVER LEAVE THE APPLIANCE UNATTENDED DURING OPERATION OR WHEN A FLAME IS PRESENT.
- DO NOT IGNITE THE COMBUSTION CHAMBER WHEN IT IS IN A HOT STATE.
- USE ONLY THE FUEL FOR WHICH THE SLIMLINE BURNER IS INTENDED.
- DO NOT TOUCH THE EXTERIOR OF THE SLIMLINE BURNER DURING OR AFTER BURNING.
- PARTS OF THIS SLIMLINE BURNER CAN REACH HIGH TEMPERATURES.
- DO NOT HAVE COMBUSTIBLE OBJECTS IN CLOSE PROXIMITY TO THE BURNER.
- UNLESS THE BURNER IS OUTDOORS, DO NOT INSTALL IT IN AN AREA WHERE THERE IS A DRAFT THAT CAN AFFECT THE FLAME.
ESPECIALLY WHEN INSTALLING IN OLD HEARTHS, MAKE SURE THE HEARTH IS SEALED. - NEVER POSITION THE BURNER WITHIN RANGE OF COMBUSTIBLE ITEMS THAT CAN BE MOVED/BUMPED BY ACCIDENT OR BLOWN BY THE WIND. E.G. CURTAINS, BLANKETS, PAPERS ETC…
- ONLY USE THE SLIMLINE BURNER IN AREAS WITH GOOD VENTILATION.
- DO NOT COVER THE SLIMLINE BURNER VENT WITH ANY DECORATIVE ITEMS WHETHER THEY ARE COMBUSTIBLE OR NON-COMBUSTIBLE, INCLUDING BUT NOT LIMITED TO ARTIFICIAL LOGS, STONES, PEBBLES, GLASS BEADS, etc.
- CUSTOMS INSTALLATION: ICON FIRES IS NOT LIABLE FOR ANY INJURIES OR DAMAGES SUSTAINED BY CUSTOM-MADE OR PRIVATELY COMMISSIONED FIREBOXES. ICON FIRES RECOMMENDS USING THE BURNERS IN THE FIREBOXES MANUFACTURED BY ICON FIRES ONLY.
ANY ALTERATIONS TO THE ICON PRODUCT VOID ANY WARRANTY OR LIABILITY. - WARNING: FILLING AND ALCOHOL-FUELLED DEVICES WHILE LIT HAS CAUSED SEVERE BURNS AND DEATHS. WHEN REFILLING FIRST CHECK THE FLAME IS EXTINGUISHED AND THAT THE DEVICE IS COOL.
CAUTION
- Make sure you have read and understood this manual before using this product.
- Do not overfill or spill fuel when refilling.
- If fuel is spilled onto the surface of the Firebox WIPE IT IMMEDIATELY AND LEAVE TO DRY BEFORE LIGHTING THE BURNER.
If fuel is spilled on the stainless steel Burner during filling, wipe with a dry cloth and allow the rest to evaporate before lighting the Burner. - If the Burner is accidentally overfilled, follow the steps in the Burner manual to rectify it.
- To refill, wait until the Burner is at room temperature after the flame has been turned off.
NOTE: the flame may not be visible to the naked eye in daylight and must be cool before filling. - NEVER refill over or near an open flame and use a decanter with a flame arrestor only.
- Remove all plastic & packaging before using the Burner.
Troubleshooting and operating tips:
- The hooks on the back of the Sliding Lid Handle can be used to carry the Slimline Burner by hooking it around the slotted openings in the Vent Plate as shown in the image below. Not Applicable to Round Burner.
- The first fill will take longer and more fuel as the material inside the Fuel Tank will absorb the fuel. The subsequent filling should be quicker with less fuel. Take care to not fill the burner at a faster rate than what the material inside can absorb.
- If the fire does not extinguish the first time by closing the Sliding Lid follow these steps and repeat if necessary.
o, Check that the surface below the sliding plate is clean and free from obstruction.
o Apply strong downward force and in one quick motion move the sliding plate towards the closed position. If the flame is still visible repeat this step as a double motion still applying strong downward force in quick succession. - Never blow on the flame whilst the Sliding Lid is in an open position.
- We recommend refilling your Burner to its intended capacity before every use.
- VERY IMPORTANT: Take special care when adding fuel to the Slimline Burner, always close the Sliding Lid for a few minutes before adding fuel to make sure there is no visible flame in the Burner Vent.
- If after some time you find the Sliding Lid has become ‘sticky’ when attempting to move it then remove the Sliding Lid from its housing and rub the underside using the green side of a Scotch Bright scouring pad. Take care to only scrub in the direction of the brushing lines of the stainless steel. Not applicable to Round Burner.
- Make sure you keep your Burner clean especially the surface that the Sliding Lid slides on and ensure that any excess fuel on the surface of the Burner is wiped off before use.
- In Australia is it mandatory for all products to be supplied with a Fuel Canister that has a flame arrestor? Cocoon Fires supplies a fuel canister with a flame arrestor in the Australian market. We recommend in all markets to use a fuel canister with a flame arrestor.
![]()
CONTENT OF PACKAGING:
| • Burner Body • Slider or Closing lid for Round Burner • Sliding Lid Handle • Battery-operated Fuel Pump * • Flame reducer rings for round burner | – qty 1 – qty 1 (2 of for 1400 Burner) – qty 2 (1 of for 500 and Round Burner) – qty 1 (None for Round Burner) – qty 1 x large reducer, 1 x small reducer |
* Australian models are not supplied with a Fuel Pump. They are supplied with the mandatory fuel canister with a flame arrestor.
MAKE SURE THE FIREPLACE HAS COOLED OFF COMPLETELY BEFORE CLEANING:
To clean dust, wipe with a dry cloth or sponge.
To clean stainless steel parts, use bioethanol or Acetone.
Make sure the Sliding Lid for the Slimline Burner slides correctly and fully after cleaning and that any excess cleaning product has been wiped off completely.
KEEP HANDY A CLASS ABE FIRE EXTINGUISHER:
Class ABE fire extinguishers are used to put out fires that are caused by combustible liquids. Class ABE fire extinguishers quell the flames by expelling a dry chemical powder or foam with a nitrogen propellant. The specific chemical can vary depending on the make or model. Water will not extinguish this flame.
PROCEDURE IF BURNER IS OVERFILLED:
In case of accidental overfilling of the fuel tank, follow these steps:
- NEVER light the Slimline Burner if it is filled past the filling line by more than 5mm, as shown in the section of Filling the Slimline Burner.
- Remove the Slimline Burner from its housing, using the hooks on the back end of the Sliding Lid Handle or rubber gloves.
- Empty excess fuel into a container suitable to hold the volume of the Burner, kitchen sink, or toilet bowl.
- Wipe off all excess fuel that may have dripped on the outside of the Slimline Burner during emptying and allow any residual fuel to evaporate. Leave for 1 hour.
- Place the Slimline Burner back into its housing.
- Ignite the Slimline Burner only once all residual fuel outside the Burner has completely evaporated and the dispenser used to fill the Burner has been sealed and moved to a
a safe distance from the Burner.
USE CORRECT FUEL: BIOETHANOL
![]()
Slimline Burner Range
The following information is provided to assist in understanding how each model within our collection can be incorporated into your desired settings. It is intended as a guide only and it is important that you read the detailed Model Specification of the model you are interested in before ordering, specifying, installing, or operating the fire.
| Model No. | Dimensions in mm (L x W x H) | Approx. Fuel Capacity | Material | Heats On Average | Minimum Room Area | Thermal Output Net | Burning Time On *Average | Consumption *Average |
| SB500 | 500x100x100 | 2.75 ℓ | Brushed 304 SS | up to 90 m³ | 40 m³ | 2.5 kW/hr | 6-9 hrs | 0.30 ℓ/hr |
| SB800 | 800x100x100 | 4.50 ℓ | Brushed 304 SS | up to 165 m³ | 70 m³ | 5.0 kW/hr | 5.5-8.5 hrs | 0.60 ℓ/hr |
| SB1100 | 1100x125x100 | 6.25 ℓ | Brushed 304 SS | up to 210m³ | 90 m³ | 7.25 kW/hr | 6.5-9 hrs | 0.90 ℓ/hr |
| SB1400 | 1400x125x100 | 8.15 ℓ | Brushed 304 SS | up to 270 m³ | 110 m³ | 9.5 kW/hr | 7-9.5 hrs | 0.90 ℓ/hr |
| RD380 | 380x380x100 | 6 ℓ | Brushed 304 SS | up to 290 m³ | 130 m³ | 10.5 kW/hr | 6-12 hrs | 0.65 ℓ/hr |
*Average consumption and burn time are based on mixed settings of maximum and moderate output. These burn times and consumption rates may vary depending on room characteristics.
Accompanying Accessories
| Model No. | Burner & Lid | Fuel Pump* | Handles | Instruction Manual |
| SB500 | yes | yes | 1 | yes |
| SB800 | yes | yes | 2 | yes |
| SB1100 | yes | yes | 2 | yes |
| SB1400 | yes | yes | 2 | yes |
| RD380 | yes | no | 1 | yes |
* Australian models are not supplied with a fuel pump. They are supplied with the mandatory fuel canister with a flame arrestor.
![]()
NOTE: There are many different variations available for installing the Burner Range. In all cases, the Slimline Burner must:
- Installed into non-combustible material ONLY;
- All gas connections or pipelines near your new Burner installation must be disconnected and made safe by an appropriately qualified professional prior to installation;
- Installed into a fixed, level, and secure position before filling, lighting and operating;
- Installed in a position that limits relocation requirements to eliminate the risk of accidents caused by fuel spillage. These Burners are not designed to be relocated frequently;
- Installed into a level platform;
- Not installed directly beside or near wallpaper, laminate, veneer, or any surface that has not been fire rated and considered combustible.
- A minimum of 1000mm radius to any combustible material.
- Not be within the reach of any objects that are not fixed in position and can be moved by the wind or bumped over easily i.e. curtains, blankets, newspapers, etc.
Installation Clearances

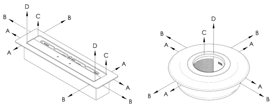
NOTE: all distances are measured from the top plate of the burner, these distances are very important to ensure safe and efficient usage
Burner Clearances
| TO COMBUSTIBLE MATERIALS | TO NON-COMBUSTIBLE MATERIALS | |||||||
| A | B | C | D | A | B | C | D | |
| SB500 | 1000mm | 1000mm | 2000mm | 2000mm | 50mm | 50mm | 500mm | 500mm |
| SB800 | 1000mm | 1000mm | 2000mm | 2000mm | 50mm | 50mm | 500mm | 500mm |
| SB1100 | 1000mm | 1000mm | 2000mm | 2000mm | 50mm | 50mm | 500mm | 500mm |
| SB1400 | 1000mm | 1000mm | 2000mm | 2000mm | 50mm | 50mm | 500mm | 500mm |
| RD380 | 1000mm | 1000mm | 2000mm | 2000mm | 50mm | 50mm | 500mm | 500mm |
Filling the Slimline Burner
![]()
THE BURNER MUST BE COOL BEFORE REFILL!
Fill the Slimline Burner Fuel Tank to the Fill Line until the fuel becomes visible at the bottom of the Burner Vent. Fill using the Fuel Pump supplied (where applicable) or a funnel that fits in the center hole of the Vent Plate. DO NOT OVERFILL
Please wipe any spillage or excess fuel before proceeding to Step 2.
![]()
Igniting the Slimline Burner
![]()
Seal the fuel canister used to fill the Burner and move to a safe distance away from the Burner. While standing at arm’s length away from the Burner, use a long arm lighter as per the image above to introduce a flame to the openings in the Vent Plate. If the Burner has fuel in the reservoir but is not igniting, close the Sliding Lid for 5 minutes then open the Sliding Lid. Ensure there are no flames visible within the burner vent opening, then pour a small amount of fuel across the length of the Burner Vent with the supplied plastic bottle (where applicable) and introduce the flame. This normally happens when the burner has been closed for a day or more.
Note: If fuel is left on the burner for a prolonged time or overnight, before the next use, open the Vent for 2 minutes and let it air before ignition, to let the fuel vapor clear, and only then light.
Adjusting the Flame Size
![]()
The flame intensity is adjusted by inserting the Sliding Lid Handle’s tip into the corresponding holes in the Top Plate Sliding Lid as indicated above. Note the flame intensity takes a few minutes to change after an adjustment has been made. The Round Burner flame is adjusted by placing either the large or small reducer ring on top of the burner.
Extinguishing the Flame
![]()
Using the Sliding Lid Handle, push the Sliding Lid to the front / closed position. Should the flame not extinguish on the first try please repeat until extinguished. It should be a swift action coupled with downward pressure.
For the Round Burner simply place the closing lid on top of the burner making sure it fits into its position.
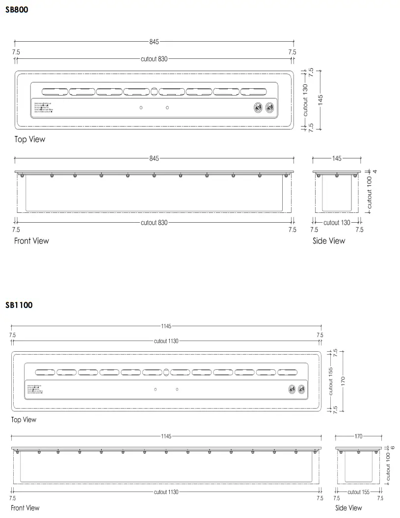
Burner cut out dimensions
![]()
![]()
![]()
- Icon Fires Warranty Terms and ConditionsAll warranty claims are subject to the manufacturer’s review and acceptance.
- Icon Fires warrants that it uses reasonable care and skill to ensure that its products are of reasonable quality. Icon Fires will at its cost and in its sole discretion: (i) remedy any defect or fault in any product purchased; or (ii) replace any product in respect of which there is a defect or fault, during the warranty period, provided that written notice is given by the Purchaser to Icon Fires of any such defect or fault in the product as soon as the Purchaser becomes aware of that fault or defect. All warranty claims must be returned to Icon Fires for assessment with a receipt or other proof of payment. No warranty is given in respect of any glass contained in any product.
- Icon Fires has no liability to remedy any defect in a product or replace a product where the defect or fault is caused or contributed to by (i) the failure of the Purchaser to install the product according to specific installation instructions either supplied within each product box or carton or available on the Icon Fires website or through the retailer representative; or (ii) use of the product in a manner or for the purpose for which it was not designed.
- All site applications or installations must reflect these procedures otherwise the product warranty will be considered void or will not take effect.
All products bearing the logo of Icon Fires logo are covered by a 2-year warranty.
IMPORTANT:
- Stone chipping, painting scratches, and general scratches are not covered by the Warranty.
- Due to the characteristics of Stainless Steel, over time the finish will mature through natural processes associated with the use of heat and a flame.
- Is it recommended the Stainless Steel Components be polished annually with a nonabrasive polish to bring & restore the finish and also to regularly clean the products from residue and dirt?
- The Warranty does not cover any oxidization of material and/or the occurrence of patina.
QC Checklist
Components
Handles 2 of (500 Burner only 1of).…………
Slider 1 of (1400 Burner 2 of)………………….
Manual 1of……………………………………
Burner body 1 of………………………………
Checked by……………………………………
![]()
















