EMERSON DVC6200 Digital Valve Controllers
INTRODUCTION
Certain nameplates may carry more than one approval, and each approval may have unique installation/wiring requirements and/or conditions of “safe use”. These special instructions for “safe use” are in addition to, and may override, the standard installation procedures. Special instructions are listed by approval type.
Note This information supplements the nameplate markings affixed to the product and the DVC6200 Series quick start guide (D103556X012), available from your Emerson sales office or at Fisher.com.
Always refer to the nameplate itself to identify the appropriate certification.
WARNING: Failure to follow these conditions of “safe use” could result in personal injury or property damage from fire or explosion and area re‐classification.
Explosion-proof, Dust-Ignition proof, Non-Incendive, Suitable for Use
DVC6200 and DVC6205 Series (HART HW1 & HW2, SIS, FOUNDATION Fieldbus, PROFIBUS)
- XP: Class I, Division 1, Groups B,C,D
- DIP: Class II, III, Division 1, Groups E,F,G
- NI: Class I, Division 2, Groups A,B,C,D
- S: Class II, III, Division 2, Groups F,G Class I
- Zone 1 AEx d IIC
- Class I Zone 2 Ex nC IIC
- T5 Ta = 80°C, T6 Ta = 75°C
- Type 4X, IP66
DVC6215 Remote Mount*
- XP: Class I, Division 1, Groups A,B,C,D
- DIP: Class II, III, Division 1, Groups E,F,G
- NI: Class I, Division 2, Groups A,B,C,D
- S: Class II, III, Division 2, Groups F,G
- Class I Zone 1 AEx d IIC
- Class I Zone 2 Ex nA IIC
- T4 Ta = 125°C, T5 Ta = 90°C, T6 Ta = 75°C
- Type 4X, IP66
- *Poured seal required within 2 inches of the enclosure for explosion-proof installations of the DVC6215NA.
Intrinsically Safe and Nonincendive Field Wiring
Intrinsic Safety
- IS Class I, II, III Division 1 Groups A,B,C,D,E,F,G
- Class I Zone 0 AEx ia IIC
- Class I Zone 2 AEx ic IIC
Nonincendive Field Wiring - NI Class I Division 2 Groups A,B,C,D
Type 4X, IP66
Intrinsically safe or Nonincendive Field Wiring when connected per control drawing GE42819, as shown in the following figures
DVC6200 HW2 and DVC6200 SIS
Intrinsically Safe . . . . . . . . . . . . . . . . . . . . . . . . . . . . . . . . . . . . . . . . . . . . . . . . . figure 1 and 15
Intrinsically Safe or Nonincendive Field Wiring . . . . . . . . . . . . . . . . . . . . . . . . figure 2 and 15
DVC6205, DVC6205 SIS, and DVC6215 Remote Mount
- Intrinsically Safe . . . . . . . . . . . . . . . . . . . . . . . . . . . . . . . . . . . . . . . . . . . . . . . . . figure 3 and 15
- Intrinsically Safe or Nonincendive Field Wiring . . . . . . . . . . . . . . . . . . . . . . . . figure 4 and 15
DVC6200f and DVC6200p
- Entity Fieldbus Loop: Intrinsically Safe . . . . . . . . . . . . . . . . . . . . . . . . . . . . . . . figure 5 and 15
- Entity Fieldbus Loop: Intrinsically Safe or Nonincendive Field Wiring . . . . . . figure 6 and 15
- FISCO Installations: Intrinsically Safe . . . . . . . . . . . . . . . . . . . . . . . . . . . . . . . . figure 7 and 15
- FISCO Installations: Intrinsically Safe or Nonincendive Field Wiring . . . . . . . figure 8 and 15
DVC6205f, DVC6205p, and DVC6215 Remote Mount
- Entity Fieldbus Loop: Intrinsically Safe . . . . . . . . . . . . . . . . . . . . . . . . . . . . . . . figure 9 and 15
- Entity Fieldbus Loop: Intrinsically Safe or Nonincendive Field Wiring . . . . . . figure 10 and 15
- FISCO Installations: Intrinsically Safe . . . . . . . . . . . . . . . . . . . . . . . . . . . . . . . . figure 11 and 15
- FISCO Installations: Intrinsically Safe or Nonincendive Field Wiring . . . . . . . figure 12 and 15
DVC6200 HW1
- Intrinsically Safe . . . . . . . . . . . . . . . . . . . . . . . . . . . . . . . . . . . . . . . . . . . . . . . . . figure 13 and 15
- Intrinsically Safe or Nonincendive Field Wiring . . . . . . . . . . . . . . . . . . . . . . . . figure 14 and 15
Special Conditions of Safe Use
- When product is used with natural gas as the pneumatic medium, the maximum working pressure of the natural gas supply shall be limited to 10 bar (145 psi).
- When product is used with natural gas as the pneumatic medium the product shall not be permitted in a Class I, Division 2, Group A, B, C, D location without the proper venting installation per the manufacturer’s instruction manual.
- The apparatus enclosure contains aluminum and is considered to constitute a potential risk of ignition by impact or friction. Care must be taken into account during installation and use to prevent impact or friction.
- Part of the enclosure is constructed from plastic. To prevent the risk of electrostatic sparking the plastic surface should only be cleaned with a damp cloth.
Figure 1. FM Loop Schematics—FIELDVUE DVC6200 HW2 and DVC6200 SIS
INTRINSICALLY SAFE
Figure 2. FM Loop Schematics—FIELDVUE DVC6200 HW2 and DVC6200 SIS
INTRINSICALLY SAFE OR NON-INCENDIVE FIELD WIRING
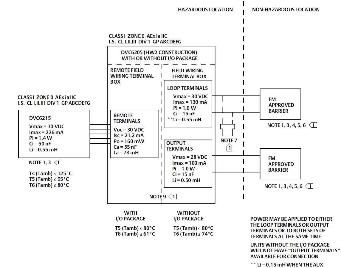
Figure 3. FM Loop Schematics—FIELDVUE DVC6205, DVC6205 SIS, and DVC6215
INTRINSICALLY SAFE
Figure 4. FM Loop Schematics—FIELDVUE DVC6205, DVC6205 SIS, and DVC6215
INTRINSICALLY SAFE OR NON-INCENDIVE FIELD WIRING
Figure 5. FM Loop Schematics—FIELDVUE DVC6200f and DVC6200p, Entity Fieldbus Loop
INTRINSICALLY SAFE
Figure 6. FM Loop Schematics—FIELDVUE DVC6200f and DVC6200p, Entity Fieldbus Loop
INTRINSICALLY SAFE OR NONINCENDIVE FIELD WIRING
Figure 7. FM Loop Schematics—FIELDVUE DVC6200f and DVC6200p, FISCO Installations
INTRINSICALLY SAFE
Figure 8. FM Loop Schematics—FIELDVUE DVC6200f and DVC6200p, FISCO Installations
INTRINSICALLY SAFE OR NON-INCENDIVE FIELD WIRING
Figure 9. FM Loop Schematics—FIELDVUE DVC6205f, DVC6205p, and DVC6215, Entity Fieldbus Loop
INTRINSICALLY SAFE
Figure 10. FM Loop Schematics—FIELDVUE DVC6205f, DVC6205p, and DVC6215, Entity Fieldbus Loop
INTRINSICALLY SAFE OR NONINCENDIVE FIELD WIRING
Figure 11. FM Loop Schematics—FIELDVUE DVC6205f, DVC6205p, and DVC6215, FISCO Installations
INTRINSICALLY SAFE
Figure 12. FM Loop Schematics—FIELDVUE DVC6205f, DVC6205p, and DVC6215, FISCO Installations
INTRINSICALLY SAFE OR NONINCENDIVE FIELD WIRING
Figure 13. FM Loop Schematic—FIELDVUE DVC6200 HW1
INTRINSICALLY SAFE
Figure 14. FM Loop Schematic—FIELDVUE DVC6200 HW1
INTRINSICALLY SAFE OR NONINCENDIVE FIELD WIRING
Figure 15. Notes for FM Loop Schematics
- THE ENTITY CONCEPT ALLOWS INTERCONNECTION OF INTRINSICALLY SAFE APPARATUS TO ASSOCIATED APPARATUS NOT SPECIFICALLY EXAMINED IN SUCH COMBINATION. THE CRITERIA FOR INTERCONNECTION IS THAT THE VOLTAGE (Vmax OR Ui), THE CURRENT (Imax OR Ii), AND THE POWER (Pmax or Pi) OF THE INTRINSICALLY SAFE APPARATUS MUST BE EQUAL TO OR GREATER THAN THE VOLTAGE (Voc OR Uo), AND THE CURRENT (Isc OR Io), AND THE POWER(Po) DEFINED BY THE ASSOCIATED APPARATUS. IN ADDITION, THE SUM OF THE MAX UNPROTECTED CAPACITANCE (Ci) AND MAX UNPROTECTED INDUCTANCE (Li), INCLUDING THE INTERCONNECTING CABLING CAPACITANCE (Ccable) AND CABLING INDUCTANCE (Liable) MUST BE LESS THAN THE ALLOWABLE CAPACITANCE (Ca) AND INDUCTANCE (La) DEFINED BY THE ASSOCIATED APPARATUS. IF THE ABOVE CRITERIA ARE MET, THEN THE COMBINATION MAY BE CONNECTED.
Vmax or Ui
Voc or Uo Imax or Ii
Isc or Io Pmax or Pi
Po Ci + Ccable ≤ Ca Li + Lcable ≤ La - THE FISCO CONCEPT ALLOWS THE INTERCONNECTION OF INTRINSICALLY SAFE APPARATUS TO ASSOCIATED APPARATUS NOT SPECIFICALLY EXAMINED IN SUCH COMBINATION. THE CRITERIA FOR THE INTERCONNECTION IS THAT THE VOLTAGE (Vmax OR Ui), CURRENT (Imax OR Ii), AND POWER (Pmax or Pi), WHICH AN INTRINSICALLY SAFE APPARATUS CAN RECEIVE AND REMAIN INTRINSICALLY SAFE, CONSIDERING FAULTS, MUST BE EQUAL TO OR GREATER THAN THE VOLTAGE (Voc OR Uo), CURRENT (Isc OR Io), AND POWER (Po) LEVELS WHICH CAN BE DELIVERED BY THE ASSOCIATED APPARATUS, CONSIDERING FAULTS AND APPLICABLE FACTORS. IN ADDITION THE MAXIMUM UNPROTECTED CAPACITANCE (Ci) AND INDUCTANCE (Li) OF EACH APPARATUS (OTHER THAN THE TERMINATION) CONNECTED TO THE FIELDBUS MUST BE LESS THAN OR EQUAL TO 5 nF AND 10 uH RESPECTIVELY.
- IN EACH SEGMENT ONLY ONE ACTIVE DEVICE, NORMALLY THE ASSOCIATED APPARATUS, IS ALLOWED TO PROVIDE THE NECESSARY ENERGY FOR THE FIELDBUS SYSTEM. THE VOLTAGE (Uo OR Voc OR Vt) OF THE ASSOCIATED APPARATUS HAS TO BE LIMITED TO THE RANGE OF 9 V TO 17.5 VDC. ALL OTHER EQUIPMENT CONNECTED TO THE BUS CABLE HAS TO BE PASSIVE, MEANING THAT THEY ARE NOT ALLOWED TO PROVIDE ENERGY TO THE SYSTEM, EXCEPT FOR A LEAKAGE CURRENT OF 50 uA FOR EACH CONNECTED DEVICE. SEPARATELY POWERED EQUIPMENT NEEDS A GALVANIC ISOLATION TO ASSURE THAT THE INTRINSICALLY SAFE FIELDBUS CIRCUIT REMAINS PASSIVE.
THE CABLE USED TO CONNECT THE DEVICES NEEDS TO HAVE THE PARAMETERS IN THE FOLLOWING RANGE:
LOOP RESISTANCE R’: 15 TO 150 ohms/km
INDUCTANCE PER UNIT LENGTH L: 0.4 TO 1 mH/km
CAPACITANCE PER UNIT LENGTH C’: 80 TO 200 nF/km
C’ = C’ LINE/LINE + 0.5′ LINE/SCREEN, IF BOTH LINES ARE FLOATING OR
C’ = C’ LINE/LINE + C’ LINE/SCREEN, IF THE SCREEN IS CONNECTED TO ONE LINE.
LENGTH OF SPLICE: < 1 m (T‐BOX MUST ONLY CONTAIN TERMINAL CONNECTIONS WITH NO ENERGY STORAGE CAPABILITY)
LENGTH OF SPUR CABLE: < 30 M
LENGTH OF TRUNK CABLE: < 1 km
AT EACH END OF THE TRUNK CABLE AN APPROVED INFALLIBLE TERMINATION WITH THE FOLLOWING PARAMETERS IS SUITABLE: R = 90 TO 100 ohms AND C = 0 TO 2.2 uF
NOTE, A BUILT‐IN TERMINATOR IS INCLUDED IN THE FIELD SIDE AND A SELECTABLE TERMINATOR IS AVAILABLE ON THE HOST SIDE.
THE NUMBER OF PASSIVE DEVICES CONNECTED TO THE BUS SEGMENT IS NOT LIMITED IN THE FISCO CONCEPT FOR INTRINSICALLY SAFE REASONS. IF THE ABOVE RULES ARE RESPECTED, UP TO A TOTAL LENGTH OF 1000 m (SUM OF THE LENGTH OF THE TRUNK CABLE AND ALL SPUR CABLES), THE INDUCTANCE AND CAPACITANCE OF THE CABLE WILL NOT IMPAIR THE INTRINSIC SAFETY OF THE INSTALLATION.
INSTALLATION MUST BE IN ACCORDANCE WITH THE NATIONAL ELECTRICAL CODE (NEC) AND ANSI/ISA RP12.6.01.
MAXIMUM SAFE AREA VOLTAGE SHOULD NOT EXCEED 250 Vrms.
RESISTANCE BETWEEN INTRINSICALLY SAFE GROUND AND EARTH GROUND MUST BE LESS THAN ONE OHM
LOOPS MUST BE CONNECTED ACCORDING TO THE BARRIER MANUFACTURER’S INSTRUCTIONS.
IF HAND‐HELD COMMUNICATOR OR MULTIPLEXER IS USED, IT MUST BE FM APPROVED WITH ENTITY PARAMETERS AND INSTALLED PER THE MANUFACTURER’S CONTROL DRAWINGS.
FOR NONINCENDIVE APPLICATION, E.G. CLASS I DIVISION 2 OR AEx ic, PLEASE NOTE THE FOLLOWING:
HART MODELS
DURING NORMAL OPERATION, THE VOLTAGE OF THE FIELD WIRING CIRCUIT CONNECTED TO THE DIGITAL VALVE CONTROLLER IS CONTROLLED BY THE DIGITAL VALVE CONTROLLER ITSELF. THEREFORE, THE LIMITING FACTOR IS THE MAXIMUM CURRENT, Imax OR Ii, WHICH MUST NOT BE EXCEEDED.
FIELDBUS/PROFIBUS MODELS
DURING NORMAL OPERATION, THE CURRENT OF THE FIELD WIRING CIRCUIT CONNECTED TO THE DIGITAL VALVE CONTROLLER IS CONTROLLED BY THE DIGITAL VALVE CONTROLLER ITSELF. THEREFORE THE LIMITING FACTOR IS THE MAXIMUM VOLTAGE, Vmax OR Ui, WHICH MUST NOT BE EXCEEDED.
CAUTION/WARNING
THE APPARATUS ENCLOSURE CONTAINS ALUMINUM AND IS CONSIDERED TO CONSTITUTE A POTENTIAL RISK OF IGNITION BY IMPACT AND FRICTION. AVOID IMPACT AND FRICTION DURING INSTALLATION AND USE TO PREVENT THE RISK OF IGNITION.
Neither Emerson, Emerson Automation Solutions, nor any of their affiliated entities assume responsibility for the selection, use, or maintenance of any product. Responsibility for proper selection, use, and maintenance of any product remains solely with the purchaser and end user.
Fisher and FIELDVUE are marks owned by one of the companies in the Emerson Automation Solutions business unit of Emerson Electric Co. Emerson Automation Solutions, Emerson, and the Emerson logo are trademarks and service marks of Emerson Electric Co. All other marks are the property of their respective owners.
The contents of this publication are presented for informational purposes only, and while every effort has been made to ensure their accuracy, they are not to be construed as warranties or guarantees, express or implied, regarding the products or services described herein or their use or applicability. All sales are governed by our terms and conditions, which are available upon request. We reserve the right to modify or improve the designs or specifications of such products at any time without notice.
Emerson Automation Solutions Marshalltown, Iowa 50158 USA Sorocaba, 18087 Brazil Cernay, 68700 France
Dubai, United Arab Emirates Singapore 128461 Singapore
www.Fisher.com




















