EMERSON AVENTICS AV03 Series Valve System

Product Information
The product is called AVENTICSTM and the model number is R412018154-BAL-001-AA. It is an IO-Link system with integrated valve drivers. The product documentation is available in multiple languages including German (Deutsch). The user manual provides information on setting up the IO-Link connection, operating the valve system with IO-Link, handling events, and diagnosing the system using LED indicators. It also includes the technical specifications of the product.
Product Usage Instructions
Before operating the product, make sure you have the following documentation and have read and understood it:
- Anlagendokumentation (System documentation) – Created by the system operator
- Dokumentation des IO-Link-Master-Konfigurationsprogramms (Documentation of the IO-Link master configuration program) – Provided by the master/controller manufacturer
- Montageanleitungen (Installation instructions) – Provided for all components and the entire valve system
- Systembeschreibung (System description) – PDF file on CD
Important safety instructions
- Always provide the necessary documentation when passing on the product to others.
- Ensure that the external power supply is never connected to the SIO pin of the Type-A master.
- The IO-Link system can be used in safety-related control chains if the overall system is designed for it.
About This Documentation
Documentation validity
This documentation applies to the AV series IO-Link interface. It applies to both the type A (3-wire) and type B (5-wire, external actuator supply) interfaces. The documentation is geared toward programmers, electrical engineers, service personnel, and system owners. This documentation contains important information on the safe and proper commissioning and operation of the product and how to remedy simple malfunctions yourself. In addition to a description of the interface, it also contains information on the configuration of the IO-Link interface.
Required and supplementary documentation
- Only commission the product once you have obtained the following documentation and understood and complied with its contents.
Table 1: Required and supplementary documentation
| Documentation | Document type | Comment |
| System documentation | Operating instruc- tions | To be created by system owner |
| Documentation of the IO-Link-Mas- ter configuration program | Software manual | Scope of delivery of the master manufacturer/controller manu- facturer |
| Assembly instructions for all current components and the entire AV valve system | Assembly instruc- tions | Printed documentation |
| System description for electrically connecting the IO-Link interface
All assembly instructions well as the configuration | System descrip- tion
and system desc files, can be foun | PDF file on CD
riptions for the AV series, as d on the CD R412018133. |
- All assembly instructions and system descriptions for the AV series, as well as the configuration files, can be found on CD R412018133.
Presentation of information
Warnings
In this documentation, there are warning notes before the steps whenever there is a risk of personal injury or damage to equipment. The measures described to avoid these hazards must be followed.
Structure of warnings
SIGNAL WORD
Hazard type and source Consequences
- Precautions
Meaning of the signal words
DANGER
Immediate danger to the life and health of persons. Failure to observe these notices will result in serious health consequences, in-cluding death.
WARNING
Possible danger to the life and health of persons. Failure to observe these notices can result in serious health consequences, in-cluding death.
CAUTION
Possible dangerous situation. Failure to observe these notices may result in minor injuries or damage to property.
NOTICE
Possibility of damage to property or malfunction. Failure to observe these notices may result in damage to property or malfunc-tions, but not in personal injury.
Symbols
- Recommendation for the optimum use of our products. Observe this information to ensure the smoothest possible operation.
Designations
The following designations are used in this documentation:
Table 2: Designations
| Designation | Meaning |
| IO-Link interface | IO-Link module with integrated valve drivers |
| IO-Link master | Point-to-point communication partner to the IO-Link interface |
Abbreviations
This documentation uses the following abbreviations:
Table 3: Abbreviations
| Abbreviation | Meaning |
| AV | Advanced Valve |
| IODD | Device master data (IO Device Description) |
| n.c. | not connected |
| PLC | Programmable Logic Controller or PC assuming control functions |
| UA | Actuator voltage (power supply for valves and outputs) |
Notes on Safety
About this chapter
The product has been manufactured according to the accepted rules of current technology. Even so, there is danger of injury and damage to equipment if the following chapter and safety instructions of this documentation are not followed.
- Read these instructions completely before working with the product.
- Keep this documentation in a location where it is accessible to all users at all times.
- Always include the documentation when you pass the product on to third par-ties.
Intended use
The AV series IO-Link interface with integrated multipole board is an electronic component and was developed for use in the area of industrial automation tech-nology. It serves to connect valves to the IO-Link communication system. The IO-Link in-terface should only be connected to a master of the same type (type A to type A, type B to type B).
NOTICE: If connecting a type B IO-Link interface to a type A master:
- Make sure that the external supply is never connected to the SIO pin on the type A master.The AV series IO-Link interface may only be used to control AV03 and AV05 valves. The IO-Link interface is intended for professional use only and not for private use. The IO-Link interface may only be used for industrial applications (class A). An in-dividual license must be obtained from the authorities or an inspection center for systems that are to be used in a residential area (residential, business, and commercial areas). In Germany, these individual licenses are issued by the Regulating Agency for Telecommunications and Post (Regulierungsbehörde für Telekommu-nikation und Post, Reg TP). The IO-Link interface may be used in safety-related control chains if the entire system is geared toward this purpose.
- Observe the documentation R412018148 if you use the valve system in safety-related control chains.
Use in explosive atmospheres
The IO-Link interface is not ATEX-certified. ATEX certification can only be granted to complete valve systems. Valve systems may only be operated in explosive at-mospheres if the valve system has an ATEX identification!
- Always observe the technical data and limits indicated on the nameplate for the complete unit, particularly the data from the ATEX identification.Always observe the technical data and limits indicated on the rating plate for the complete unit, particularly the data from the ATEX identification.Conversion of the valve system for use in explosive atmospheres is permissible within the scope described in the following documents:
- Assembly instructions for the AV valve system
- Assembly instructions for pneumatic components.
Improper use
Any use other than that described under intended use is improper and is not permitted.
Improper use of the IO-Link interface includes:
- Use as a safety component
- Use in explosive areas in a valve system without ATEX certification
The installation or use of unsuitable products in safety-relevant applications can result in unanticipated operating states in the application that can lead to per-sonal injury or damage to equipment. Therefore, only use a product in safety-rel-evant applications if such use is specifically stated and permitted in the product documentation. For example, in areas with explosion protection or in safety-re-lated components of control systems (functional safety). AVENTICS GmbH is not liable for any damages resulting from improper use. The user alone bears the risks of improper use of the product.
Personnel qualifications
The work described in this documentation requires basic electrical and pneumatic knowledge, as well as knowledge of the appropriate technical terms. In or-der to ensure safe use, these activities may therefore only be carried out by quali-fied technical personnel or an instructed person under the direction and supervision of qualified personnel. Qualified personnel are those who can recognize possible dangers and institute the appropriate safety measures, due to their professional training, knowledge, and experience, as well as their understanding of the relevant regulations pertaining to the work to be done. Qualified personnel must observe the rules rele-vant to the subject area.
General safety instructions
- Observe the regulations for accident prevention and environmental protec-tion.
- Observe the national regulations for explosive areas.
- Observe the safety instructions and regulations of the country in which the product is used or operated.
- Only use AVENTICS products that are in perfect working order.
- Follow all the instructions on the product.
- Persons who assemble, operate, disassemble, or maintain AVENTICS products must not consume any alcohol, drugs, or pharmaceuticals that may affect their ability to respond.
- To avoid injuries due to unsuitable spare parts, only use accessories and spare parts approved by the manufacturer.
- Comply with the technical data and ambient conditions listed in the product documentation.
- You may only commission the product if you have determined that the end product (such as a machine or system) in which the AVENTICS products are in-stalled meets the country-specific provisions, safety regulations, and stan-dards for the specific application.
Safety instructions related to the product and technology
DANGER
Danger of explosion if incorrect devices are used!
There is a danger of explosion if valve systems without ATEX identification are used in an explosive atmosphere.
- When working in explosive atmospheres, only use valve systems with an ATEX identification on the rating plate.
DANGER
Danger of explosion if plugs are disconnected in a potentially explosive atmosphere!
- Disconnecting plugs while under voltage results in large potential differences.
- Never disconnect plugs in an explosive atmosphere.
- Only work on the valve system in non-explosive atmospheres.
DANGER
Danger of explosion caused by defective valve system in an explosive atmosphere! Malfunctions may occur after the configuration or conversion of the valve sys-tem.
- After configuring or converting a system, always perform a function test in a non-explosive atmosphere before decommissioning.
CAUTION
Risk of uncontrolled movements when switching on the system!
There is a danger of personal injury if the system is in an undefined state.
- Put the system in a safe state before switching it on.
- Make sure that no personnel are within the hazardous zone when the valve system is switched on.
CAUTION
Danger of burns caused by hot surfaces!
Touching the surfaces of the unit and adjacent components during operation could cause burns.
- Let the relevant system component cool down before working on the unit.
- Do not touch the relevant system component during operation.
Responsibilities of the system owner
As the owner of a system that will be equipped with an AV series valve system, you are responsible for
- ensuring intended use,
- ensuring that operating employees receive regular training,
- ensuring that the operating conditions are in line with the requirements for the safe use of the product,
- ensuring that cleaning intervals are determined and complied with according to environmental stress factors at the operating site,
- ensuring that, in the presence of an explosive atmosphere, ignition hazards that develop due to the installation of system equipment are observed,
- ensuring that no unauthorized repairs are attempted if there is a malfunction.
General Instructions on Equipment and Product Damage
NOTICE
Disconnecting plugs while under voltage will destroy the electronic components of the valve system!
Large differences in potential occur when disconnecting plugs under voltage, which can destroy the valve system.
- Make sure the relevant system component is not under voltage before assembling the valve system or when connecting and disconnecting plugs.
NOTICE
Communication malfunctions due to incorrect or insufficient grounding!
Connected components receive incorrect or no signals.
- Make sure that the ground connections of all valve system components are electrically connected to each other and grounded.
NOTICE
Malfunctions in the fieldbus communication due to improperly laid communication lines!
Connected components receive incorrect or no signals.
- Lay the communication lines within buildings. If you lay the communication lines outside of buildings, the lines laid outside must not exceed 42 m.
NOTICE
The valve system contains electronic components that are sensitive to elec-trostatic discharge (ESD)!
If the electrical components are touched by persons or objects, this may lead to an electrostatic discharge that could damage or destroy the components of the valve system.
- Ground the components to prevent electrostatic charging of the valve sys-tem.
- Use wrist and shoe grounding straps, if necessary, when working on the valve system.
About This Product
IO-Link interface
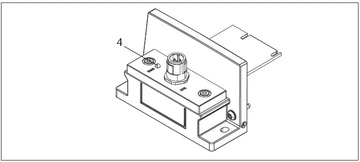
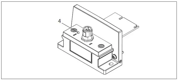
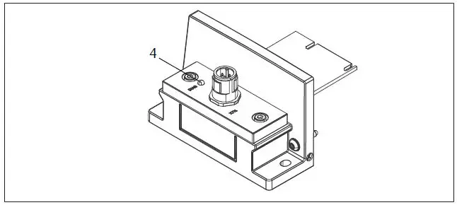
The AV series interface for IO-Link establishes point-to-point communication between the superordinate IO-Link master and the connected valves. The CD R412018133, included on delivery, contains an IODD configuration file for the configuration Loading device master data. During cyclic data transfer, the IO-Link interface can receive 3 bytes (24 bits) out-put data from the IO-Link master. All electrical connections and all status displays are located on the top.
Fig. 1: IO-Link interface
- IO-Link interface
- IO-Link interface multipole board
- IO-Link connection X7I1
- DIAG LED
- Mounting screw
Electrical connections

The IO-Link interface has the following electrical connection:
- Plug X7I1 (3): IO-Link connection The tightening torque for the connection plugs and sockets is 1.5 Nm +0.5.
IO-Link connection
The IO-Link connection X7I1 (3) is a male, 5-pin, A-coded M12 plug.
- See Table 6 for the pin assignments for the IO-Link connection. The view shown displays the device connections.

Table 4: Pin assignment of IO-Link X7I1 connection (M12 plug, male, 5-pin, A-coded)
| Pin | Type A | Type B |
| 1 | L+ | L+ |
| 2 | n.c. | UA + 24 V |
| 3 | L- | L- |
| 4 | CQ (IO-Link data) | CQ (IO-Link data) |
| 5 | n.c. | UA 0V |
Fieldbus cable
NOTICE
Danger caused by incorrectly assembled or damaged cables!The IO-Link interface may be damaged.
- Only use tested cables.
Only use standard sensors/actuator cables in accordance with IEC 61076-2.
LED
The IO-Link interface features an LED. The table below describes the functions of the LED. For a comprehensive descrip-tion of the LEDs LED Diagnosis on the IO-Link Interface.

Table 5: Meaning of the LEDs in normal mode
| Designation | Function | State in normal mode |
| DIAG (4) | Load supply and display of the communica- tion status | Illuminated green |
Baud rate
The IO-Link interface is fixed to 38.4 kBaud (COM2). The IO-Link master automat-ically syncs to this Baud rate. Adjustments to the IO-Link interface are not possi-ble.
Configuration of the AV Valve System
For the IO-Link interface to correctly exchange data from the valve system with the PLC, the IO-Link master must be able to detect the valve system structure. For this purpose, the electrical component must be integrated into the IO-Link master. This process is known as the IO-Link configuration.
NOTICE
Configuration error!
An incorrect valve system configuration can cause malfunctions in and dam-age to the overall system.
- The configuration may only be carried out by qualified personnel Personnel qualifications.
- Observe the specifications of the system owner as well as any restrictions resulting from the overall system.
- Observe the documentation of your configuration program.
- You may configure the valve system on your computer without the need to connect the unit. The data can then be loaded on the system at a later time on site.
Loading device master data
The IODD files for the AV series IO-Link interface with English and German language content are located on the CD R412018133, included on delivery. The files can also be downloaded online from the Media Center.
They apply to both type A and type B.
- To configure the valve system IO-Link, copy the IODD data files to the computer containing the configuration program. You can use configuration software from various manufacturers for the IO-Link configuration. The descriptions in the following sections, therefore, focus on the basic procedure for configuration.
Configuring the IO-Link interface in the IO-Link system
Before you can use the IO-Link interface, it has to be recognized by the IO-Link master. This process is either automatic or must be completed manually. Please observe the documentation for the IO-Link master used. Since the IO-Link inter-face does not require changeable parameters, further configuration is not necessary. The configuration can be transferred directly to the superordinate controller and the IO-Link interface can begin operation.
Configuring the valve system
The valve system does not have to be configured. The data is set to a fixed length of 3 bytes (24 bits).
Structure of the IO-Link Interface Data
Process data
WARNING
Incorrect data assignment! Danger caused by uncontrolled movement of the system.
- Always set the unused bits to the value “0”.
The IO-Link interface receives output data from the controller with set points for the position of the valve solenoid coils. The multipole board translates this data into the voltage required to actuate the valves. The multipole board of the IOLink interface consists of two valve positions for double solenoid valves. Single or double solenoid valve multipole extension kits can be added up to a length of 24 solenoid coils. The exact assignment of the solenoid coils to the output bits depends on the type of valves used. The different assignment tables for the possible configurations can be found in the appendix Address tables.
Commissioning the valve system with IO-Link
Before commissioning the system, the following steps must have been carried out and completed:
- You have assembled the valve system with the IO-Link interface.
- You have connected the IO-Link interface to the IO-Link master (see AV valve system assembly instructions).
Assembly and commissioning may only be carried out by qualified electrical or pneumatic personnel or an instructed person under the direction and supervision of qualified personnel Personnel qualifications.
DANGER
The danger of explosion with no impact protection! Mechanical damage, e.g. strain on the pneumatic or electrical connectors, will lead to non-compliance with the IP65 protection class.
- In explosive environments, make sure that the equipment is installed in a manner that protects it from all types of mechanical damage.
DANGER
The danger of explosion due to damaged housings!
Damaged housing can lead to an explosion in explosive areas.
- Make sure that the valve system components are only operated with completely assembled and intact housing.
DANGER
The danger of explosion due to missing seals and plugs! Liquids and foreign objects could penetrate and destroy the device.
- Make sure that the seals are integrated into the plug and not damaged.
- Make sure that all plugs are mounted before starting the system.
CAUTION
Risk of uncontrolled movements when switching on the system! There is a danger of personal injury if the system is in an undefined state.
- Put the system in a safe state before switching it on.
- Make sure that no personnel is within the hazardous zone when the compressed air supply is switched on.
Switch on the operating voltage.
On start-up, the IO-Link master sends parameters and configuration data to the IO-Link interface and the electronics in the valve zone.
Before switching on the operating pressure, the diagnostic LED may only be illuminated in green, as described in Table 8:
Table 6: Status of the LEDs on commissioning
| Designation | Color | State | Meaning |
| DIAG (4) | Green | Illuminated | The electronics and valve supply voltage is greater than the lower tolerance limit (21.6 V DC). |
If the diagnostic run is successful, you may commission the valve system. Otherwise, the errors must be remedied Troubleshooting.
- Send payload data to the IO-Link interface. The valve coils and thus the corresponding LEDs are not actively actuated until the data has been set to valid by the IO-Link master.
- Switch on the compressed air supply.
Event handling
The IO-Link interface reports insufficient or missing UA valve supply voltage to the IO-Link master as a “low sensor voltage” event (0x5112).
LED Diagnosis on the IO-Link Interface
The IO-Link interface monitors the supply voltages for the electronics components and valve control. If the values fall below a set limit, an event is generated and reported to the IO-Link master. In addition, the status is displayed by the diagnostic LED.
Reading the diagnostic display on the IO-Link interface
The LEDs on the top side of the IO-Link interface report the messages listed in Table 9.
- Before commissioning and during operation, regularly check IO-Link interface functions by reading the LEDs.

Table 7: Meaning of the diagnostic LEDs
| Designation | Color | State | Meaning |
| DIAG (4) | Green | Illumi- nated | The electronics and valve supply voltage is greater than the lower tolerance limit (21.6 V DC). The communication connection to the IO-Link master is in the ONLINE operating state and IO-Link com- munication has been started. |
| Green | Flashes | The electronics and valve supply voltage is greater than the lower tolerance limit (21.6 V DC). The communication connection to the IO-Link master is in the OFFLINE operating state or IO-Link com- munication has not been started. | |
| Red/yellow | Alternates | The supply voltage to the valves is not switched on. The communication connection to the IO-Link master is OFFLINE or the IO-Link communication has not been started. | |
| Green/ yel- low | Alternates | The supply voltage to the valves is not switched on. The communication connection to the IO-Link master is ONLINE and IO-Link communication has been started. | |
| – | Off | The supply voltage to the valves is not switched on. The IO-Link interface is not connected to the master. |
Conversion of the Valve System
DANGER
The danger of explosion caused by defective valve system in an explosive atmosphere! Malfunctions may occur after the configuration or conversion of the valve system.
- After configuring or converting a system, always perform a function test in a non-explosive atmosphere before recommissioning.
This chapter describes the structure of the complete valve system, the rules for converting the valve system, the documentation of the conversion, as well as the re-configuration of the valve system.
The assembly of the components and the complete unit is described in the respective assembly instructions. All necessary assembly instructions are included as printed documentation on delivery and can also be found on CD R412018133.
- The extension circuit boards of a valve system use length-optimized boards according to the configuration. Subsequent shortening is not possible. If necessary, the base plate area has to be replaced by extension base plates after the 2nd valve position.
Valve system
The IO-Link interface valve system can be extended by up to a permissible maximum of 24 solenoid coils.
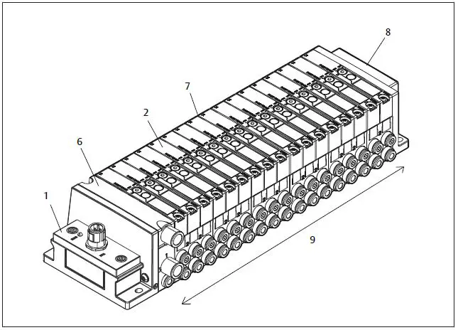
Fig. 2: Example configuration: unit consisting of IO-Link interface and AV series valves
- IO-Link interface with valve drivers
- Valve
- 6 Pneumatic supply plate
- 7 Multipole board (not visible)
- 8 Right end plate
- 9 Pneumatic unit, AV series
Valve zone
The following figures show the components as illustrations and symbols. The symbol representations are used in the section “Conversion of the valve zone”.
Base plates
The valves from the AV series are always mounted on base plates that are assembled into blocks so that the supply pressure is applied to all valves. The base plates are always 2x or 3x base plates for two or three single or double solenoid valves. The first base plate for minimal configuration of the IO-Link interface is always a 2x base plate. Base plate extension kits always include the corresponding multipole board.
Fig. 3: Base plates, 2x and 3x
- (1) Valve position 1
- (2) Valve position 2
- (3) Valve position 3
- 10 Base plate, 2x
- 11 Base plate, 3x
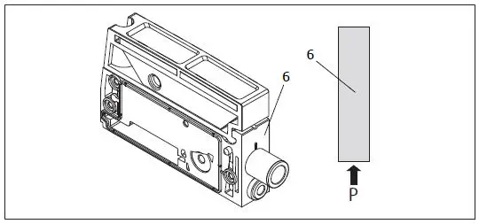
Pneumatic supply plates and AV03-AV05 combination plates
Pneumatic supply (6) and combination plates can be used to divide the valve system into sections with different pressure zones Conversion of the valve zone. Supply and combination plate extension kits always include the corresponding multipole board.
Fig. 4: Example with pneumatic supply plate
Identifying the modules
Material number for valve system

Fig. 5: Position of the material number
The material number for the complete valve system (16) is printed on the right end plate. You can use this material number to reorder an identically configured valve system.
- Note that, after a valve system conversion, the material number still refers to the original configuration Conversion documentation.
Address table for PLC configuration
For PLC configuration, you need the address table corresponding to your configuration. The number of the address table for your IO-Link interface can be found on the nameplate on the right end plate.
- Note that, after a valve system conversion, the address table still refers to the original configuration Conversion documentation.

Fig. 6: Example of rating plate with address table
17 Address table number Address tables
Table 8: Example address table (address table 7)
| Valve position | 14 coil | 12 coil |
| 1 | Coil 1 (X.0) | Coil 2 (X.1) |
| 2 | Coil 3 (X.2) | Coil 4 (X.3) |
| 3 | Coil 5 (X.4) | Coil 6 (X.5) |
| 4 | Coil 7 (X.6) | Coil 8 (X.7) |
| Valve position | 14 coil | 12 coil |
| 5 | Coil 9 (X+1.0) | Coil 10 (X+1.1) |
| 6 | Coil 11 (X+1.2) | Coil 12 (X+1.3) |
| 7 | Coil 13 (X+1.4) | Coil 14 (X+1.5) |
| 8 | Coil 15 (X+1.6) | Coil 16 (X+1.7) |
| 9 | Coil 17 (X+2.0) | Coil 18 (X+2.1) |
| 10 | Coil 19 (X+2.2) | Coil 20 (X+2.3) |
| 11 | Coil 21 (X+2.4) | Coil 22 (X+2.5) |
| 12 | Coil 23 (X+2.6) | – |
| 13 | Coil 24 (X+2.7) | – |
Conversion of the valve zone
The symbols for the valve zone components are explained in section “Valve zone”.
NOTICE
The extension circuit boards of a configured valve system use length-optimized boards according to the configuration. Subsequent shortening is not possible. If necessary, the base plate area has to be replaced by extension base plates after the 2nd valve position. You may use the following components for the extension or conversion of the system:
- Base plate extension kit (multipole version)
- Pneumatic supply plate extension kit (multipole version)
- Combination plate extension kit (multipole version)
Sections
The valve zone of a valve system can consist of multiple sections. A section always starts with a supply plate that marks the beginning of a new pressure zone. The first section is always a minimum of 2 valve positions long.
Fig. 7: Example valve system, consisting of three sections.
| Section | Components | |
| Section 1 | Minimum configura- tion | • Pneumatic supply plate (6) • Two base plates, 2x (10) • IO-Link interface multipole board (2) • 2 valves (18) |
| Extension | • Base plate, 3x (11) • Two base plates, 2x (10) • Multipole board, 7x (13) • 7 valves (18) |
| Section | Components | |
| Section 2 | Extension | • Pneumatic supply plate (6) • Two 3x (11) • Base plate, 2x (10) • Multipole boards, 8x (14) • 8 valves (18) |
| Section 3 | Extension | • Supply plate extension kit with board (15) • Base plate 3x (11) with multipole board • Base plate 2x (10) with multipole board • 7 valves (18) |
- 1 IO-Link interface
- 2 IO-Link interface for 2 valves
- 6 Pneumatic supply plate
- 10 Base plate, 2x
- 11 Base plate, 3x
- 13 Multipole board
- 15 Supply plate extension kit
- 16 Extension base plate, 2x, with multipole board
- 17 Extension base plate, 3x, with multipole board
- 18 Valve
- S1 Section 1, multipole extension (factory configuration)
- S2 Section 2, multipole extension (factory configuration)
- S3 Section 3, multipole extension (subsequent extension)
- MIN Minimum configuration
- P Pressure supply
- IOLink Power and signal supply
The valve system in Fig. 7 consists of three sections:
Table 9: Example valve system, consisting of three sections
Permissible configurations

Fig. 8: Permissible configurations
You can extend the valve system at all points labeled with an arrow as long as you do not exceed the maximum number of 24 solenoid coils:
- After the minimal configuration (A)
- Before a pneumatic supply plate (B) except for the first
- After a subsequently extended supply plate (C)
- After a subsequently extended base plate (D)
- At the end of the valve system (E)
- To simplify your documentation and configuration, we recommend that you extend the valve system on the right end (E).
Impermissible configurations

Fig. 9: Impermissible configurations
You may not:
- Mount more than 24 solenoid coils (F)
- Separate within a multipole board (G)
- Mount fewer than 2 valve positions (H)
- Occupy 3 valve positions (I)
Reviewing the valve zone conversion
- Following the conversion of the valve zone, use the following questions to determine whether you have complied with all rules:
- Have you mounted no more than 24 solenoid coils?
- Have you always installed the multipole boards to be in line with the base plate limits?
- I.e.:
- One base plate 2x is installed with one multipole board, 2x
- One base plate 3x is installed with one multipole board, 3x
- Have you adhered to the minimal configuration with a base plate 2x? If you have answered “Yes” to all these questions, you may proceed with the documentation and configuration of the valve system.
Conversion documentation Mat. no.
After a conversion, the material number (MNR) on the right end plate and the address table are no longer valid.
- Mark the material number and address table so that it is clearly visible that the unit no longer corresponds to its original condition on delivery.
Troubleshooting
Proceed as follows for troubleshooting
- Even if you are in a rush, proceed systematically and in a targeted manner.
- In the worst case, arbitrary, indiscriminate disassembly and modifications to the settings may mean that you are no longer able to determine the original cause of the error.
- Get an overview of the function of the product as related to the overall system.
- Try to clarify whether the product fulfilled the required function in the overall system before the error occurred.
- Try to record any changes to the overall system where the product is installed:
- Have changes been made to the operating conditions or area of application of the product?
- Have changes (e.g. conversions) or repairs been made to the overall system (machine/system, electrical system, controller) or the product? If so: What are they?
- Has the product or machine been operated as intended?
- How does the malfunction manifest itself?
- Try to get a clear picture of the cause of the error. If necessary, ask the immediate machine operator or foreman.
Table of malfunctions
The following table contains an overview of malfunctions, possible causes, and remedies. If you cannot remedy a malfunction, please contact AVENTICS GmbH. The address is printed on the back cover of these instructions.
Table 10: Table of malfunctions
| Malfunction | Possible cause | Remedy |
| No outlet pressure at the | No supply voltage at the IO- | Supply voltage at plug X7I1 |
| valves | Link interface | on the IO-Link interface |
| (see also the behavior of the individual LEDs at the end of the table) | Check polarity of the power supply on the IO-Link inter- face | |
| Switch on system component | ||
| No supply pressure available | Connect the supply pressure | |
| Output pressure too low | Supply pressure too low | Increase the supply pressure |
| Insufficient power supply for the device | Check the LED on the IO-Link interface and supply the de- vices with the correct (suffi- cient) voltage | |
| Air is audibly escaping | Leaks between the valve sys- tem and connected pressure line | Check the pressure line con- nections and tighten, if nec- essary. |
| Pneumatic connections con- fused | Properly connect the pneu- matics for the pressure lines | |
| DIAG LED flashes red/yellow | The valve supply voltage is | Check the power supply at |
| or green/yellow | less than the lower tolerance limit (21.6 V DC) | plug X7I1 |
| DIAG LED is off | IO-Link master is not con- nected | Check the connection to the IO-Link master at plug X7I1 |
| Malfunction | Possible cause | Remedy |
| DIAG LED flashes green | IO-Link interface is OFFLINE. | Configure the IO-Link inter- face and go ONLINE. |
| IO-Link communication has not been started | Start the IO-Link communica- tion |
Technical Data
Table 11: Technical data
| General data | |
| Dimensions | The dimensions and weight of the unit are determined by the number of configured valves and can be found in the valve unit documentation supplied by the con- figurator. |
| Weight | |
| Operating temperature range | -10°C to 60°C |
| Storage temperature range | -25°C to 80°C |
| Operating pressure (UL/CSA appli- cation) | -0.9 bar/8 bar |
| Ambient operating conditions | Max. height above sea level: 2000 m |
| Vibration resistance | Wall mounting EN 60068-2-6: • ±0.35 mm displacement at 10 Hz to 60 Hz, • 5 g acceleration at 60 Hz to 150 Hz |
| Shock resistance | Wall mounting EN 60068-2-27: • 30 g with 18 ms duration, • 3 shocks each direction |
| Protection class according to EN60529/IEC60529 | IP65 with assembled connections |
| Relative humidity | 95%, non condensing |
| Degree of contamination | 2 |
| Use | Only in closed rooms |
| Electronics | |
| Electronics power supply | 24 V DC ±25% |
| Valve power supply | 24 V DC ±10% (the IO-Link specification with the minimal voltage of 20 V is outside of the tolerated limits with type A IO- Link interface) |
| Valve inrush current | 50 mA |
| Rated current for both 24 V power supplies | 1.2 A Check the available output when using a type A IO- Link master. Depending on the configuration, the AV valve system requires max. 27 W (max. 1.125 A). If the master does not provide this output, reduce the con- figuration level of the valve system accordingly or re- duce the number of simultaneously controlled valves. |
| Connections | Supply voltage for IO-Link interface X7I1: • Plug, male, M12, 5-pin, A-coded |
| BUS | |
| Bus protocol | IO-Link |
| Connections | IO-Link connection X7I1: • Plug, male, M12, 5-pin, A-coded |
| Output data quantity | Max. 24 bits |
| Parameter | |
| Vendor name | AVENTICS GmbH |
| Vendor text | www.aventics.com |
| Product Name | AES-D-IOLINK-24DOAVx-B |
| Product ID | Type A: R419501558 Type B: R419500848 |
| Product text | Max. 24 coils |
| Standards and directives |
| 2004/108/EC “Electromagnetic compatibility” (EMC directive) |
| DIN EN 61000-6-2 “Electromagnetic compatibility” (Immunity for industrial environments) |
| DIN EN 61000-6-4 “Electromagnetic compatibility” (Emission standard for industrial envi- ronments) |
| DIN EN 60204-1 “Safety of machinery – Electrical equipment of machines – Part 1: General requirements” |
Appendix
Accessories
Table 12: Accessories
| Description | Mat. no. |
| Socket, CN2 series, female, M12x1, 5-pin, A-coded, for IO-Link connec- tion X7I1 | 8942051602 |
| Protective cap M12x1 | 1823312001 |
Address tables
The minimal configuration consists of two valve positions. Due to the design, an extension of valve positions to three is not possible.
Table 13: Address table: A
| Valve position | 14 coil | 12 coil |
| 1 | Output 1 (X.0) | Output 2 (X.1) |
| 2 | Output 3 (X.2) | Output 4 (X.3) |
Table 14: Address table: B
| Valve position | 14 coil | 12 coil |
| 1 | Output 1 (X.0) | Output 2 (X.1) |
| 2 | Output 3 (X.2) | Output 4 (X.3) |
| 3 | Output 5 (X.4) | Output 6 (X.5) |
| 4 | Output 7 (X.6) | Output 8 (X.7) |
Table 15: Address table: C
| Valve position | 14 coil | 12 coil |
| 1 | Output 1 (X.0) | Output 2 (X.1) |
| 2 | Output 3 (X.2) | Output 4 (X.3) |
| 3 | Output 5 (X.4) | Output 6 (X.5) |
| 4 | Output 7 (X.6) | Output 8 (X.7) |
| 5 | Output 9 (X+1.0) | Output 10 (X+1.1) |
Table 16: Address table: 1
| Valve position | 14 coil | 12 coil |
| 1 | Output 1 (X.0) | Output 2 (X.1) |
| 2 | Output 3 (X.2) | Output 4 (X.3) |
| 3 | Output 5 (X.4) | Output 6 (X.5) |
| 4 | Output 7 (X.6) | Output 8 (X.7) |
| 5 | Output 9 (X+1.0) | Output 10 (X+1.1) |
| 6 | Output 11 (X+1.2) | Output 12 (X+1.3) |
Table 17: Address table: D
| Valve position | 14 coil | 12 coil |
| 1 | Output 1 (X.0) | Output 2 (X.1) |
| 2 | Output 3 (X.2) | Output 4 (X.3) |
| 3 | Output 5 (X.4) | Output 6 (X.5) |
| 4 | Output 7 (X.6) | Output 8 (X.7) |
| 5 | Output 9 (X+1.0) | Output 10 (X+1.1) |
| 6 | Output 11 (X+1.2) | Output 12 (X+1.3) |
| 7 | Output 13 (X+1.4) | Output 13 (X+1.5) |
Table 18: Address table: 2
| Valve position | 14 coil | 12 coil |
| 1 | Output 1 (X.0) | Output 2 (X.1) |
| 2 | Output 3 (X.2) | Output 4 (X.3) |
| 3 | Output 5 (X.4) | Output 6 (X.5) |
| 4 | Output 7 (X.6) | Output 8 (X.7) |
| 5 | Output 9 (X+1.0) | Output 10 (X+1.1) |
| 6 | Output 11 (X+1.2) | Output 12 (X+1.3) |
| 7 | Output 13 (X+1.4) | Output 14 (X+1.5) |
| Valve position | 14 coil | 12 coil |
| 8 | Output 15 (X+1.6) | Output 16 (X+1.7) |
Table 19: Address table: 3
| Valve position | 14 coil | 12 coil |
| 1 | Output 1 (X.0) | Output 2 (X.1) |
| 2 | Output 3 (X.2) | Output 4 (X.3) |
| 3 | Output 5 (X.4) | Output 6 (X.5) |
| 4 | Output 7 (X.6) | Output 8 (X.7) |
| 5 | Output 9 (X+1.0) | Output 10 (X+1.1) |
| 6 | Output 11 (X+1.2) | Output 12 (X+1.3) |
| 7 | Output 13 (X+1.4) | Output 14 (X+1.5) |
| 8 | Output 15 (X+1.6) | Output 16 (X+1.7) |
| 9 | Output 17 (X+2.0) | Output 18 (X+2.1) |
Table 20: Address table: 4
| Valve position | 14 coil | 12 coil |
| 1 | Output 1 (X.0) | Output 2 (X.1) |
| 2 | Output 3 (X.2) | Output 4 (X.3) |
| 3 | Output 5 (X.4) | Output 6 (X.5) |
| 4 | Output 7 (X.6) | Output 8 (X.7) |
| 5 | Output 9 (X+1.0) | Output 10 (X+1.1) |
| 6 | Output 11 (X+1.2) | Output 12 (X+1.3) |
| 7 | Output 13 (X+1.4) | Output 14 (X+1.5) |
| 8 | Output 15 (X+1.6) | Output 16 (X+1.7) |
| 9 | Output 17 (X+2.0) | Output 18 (X+2.1) |
| 10 | Output 19 (X+2.2) | Output 20 (X+2.3) |
Table 21: Address table: 5
| Valve position | 14 coil | 12 coil |
| 1 | Output 1 (X.0) | Output 2 (X.1) |
| 2 | Output 3 (X.2) | Output 4 (X.3) |
| 3 | Output 5 (X.4) | Output 6 (X.5) |
| 4 | Output 7 (X.6) | Output 8 (X.7) |
| 5 | Output 9 (X+1.0) | Output 10 (X+1.1) |
| 6 | Output 11 (X+1.2) | Output 12 (X+1.3) |
| 7 | Output 13 (X+1.4) | Output 14 (X+1.5) |
| 8 | Output 15 (X+1.6) | Output 16 (X+1.7) |
| 9 | Output 17 (X+2.0) | Output 18 (X+2.1) |
| 10 | Output 19 (X+2.2) | Output 20 (X+2.3) |
| 11 | Output 21 (X+2.4) | Output 22 (X+2.5) |
Table 22: Address table: 6
| Valve position | 14 coil | 12 coil |
| 1 | Output 1 (X.0) | Output 2 (X.1) |
| 2 | Output 3 (X.2) | Output 4 (X.3) |
| 3 | Output 5 (X.4) | Output 6 (X.5) |
| 4 | Output 7 (X.6) | Output 8 (X.7) |
| 5 | Output 9 (X+1.0) | Output 10 (X+1.1) |
| 6 | Output 11 (X+1.2) | Output 12 (X+1.3) |
| 7 | Output 13 (X+1.4) | Output 14 (X+1.5) |
| 8 | Output 15 (X+1.6) | Output 16 (X+1.7) |
| 9 | Output 17 (X+2.0) | Output 18 (X+2.1) |
| 10 | Output 19 (X+2.2) | Output 20 (X+2.3) |
| 11 | Output 21 (X+2.4) | Output 22 (X+2.5) |
| 12 | Output 23 (X+2.6) | Output 24 (X+2.7) |
Table 23: Address table: 7
| Valve position | 14 coil | 12 coil |
| 1 | Output 1 (X.0) | Output 2 (X.1) |
| 2 | Output 3 (X.2) | Output 4 (X.3) |
| 3 | Output 5 (X.4) | Output 6 (X.5) |
| Valve position | 14 coil | 12 coil |
| 4 | Output 7 (X.6) | Output 8 (X.7) |
| 5 | Output 9 (X+1.0) | Output 10 (X+1.1) |
| 6 | Output 11 (X+1.2) | Output 12 (X+1.3) |
| 7 | Output 13 (X+1.4) | Output 14 (X+1.5) |
| 8 | Output 15 (X+1.6) | Output 16 (X+1.7) |
| 9 | Output 17 (X+2.0) | Output 18 (X+2.1) |
| 10 | Output 19 (X+2.2) | Output 20 (X+2.3) |
| 11 | Output 21 (X+2.4) | Output 22 (X+2.5) |
| 12 | Output 23 (X+2.6) | – |
| 13 | Output 24 (X+2.7) | – |
Table 24: Address table: 8
| Valve position | 14 coil | 12 coil |
| 1 | Output 1 (X.0) | Output 2 (X.1) |
| 2 | Output 3 (X.2) | Output 4 (X.3) |
| 3 | Output 5 (X.4) | Output 6 (X.5) |
| 4 | Output 7 (X.6) | Output 8 (X.7) |
| 5 | Output 9 (X+1.0) | Output 10 (X+1.1) |
| 6 | Output 11 (X+1.2) | Output 12 (X+1.3) |
| 7 | Output 13 (X+1.4) | Output 14 (X+1.5) |
| 8 | Output 15 (X+1.6) | Output 16 (X+1.7) |
| 9 | Output 17 (X+2.0) | Output 18 (X+2.1) |
| 10 | Output 19 (X+2.2) | Output 20 (X+2.3) |
| 11 | Output 21 (X+2.4) | – |
| 12 | Output 22 (X+2.5) | – |
| 13 | Output 23 (X+2.6) | – |
| 14 | Output 24 (X+2.7) | – |
Table 25: Address table: 9
| Valve position | 14 coil | 12 coil |
| 1 | Output 1 (X.0) | Output 2 (X.1) |
| 2 | Output 3 (X.2) | Output 4 (X.3) |
| 3 | Output 5 (X.4) | Output 6 (X.5) |
| 4 | Output 7 (X.6) | Output 8 (X.7) |
| 5 | Output 9 (X+1.0) | Output 10 (X+1.1) |
| 6 | Output 11 (X+1.2) | Output 12 (X+1.3) |
| 7 | Output 13 (X+1.4) | Output 14 (X+1.5) |
| 8 | Output 15 (X+1.6) | Output 16 (X+1.7) |
| 9 | Output 17 (X+2.0) | Output 18 (X+2.1) |
| 10 | Output 19 (X+2.2) | – |
| 11 | Output 20 (X+2.3) | – |
| 12 | Output 21 (X+2.4) | – |
| 13 | Output 22 (X+2.5) | – |
| 14 | Output 23 (X+2.6) | – |
| 15 | Output 24 (X+2.7) | – |
Table 26: Address table: 10
| Valve position | 14 coil | 12 coil |
| 1 | Output 1 (X.0) | Output 2 (X.1) |
| 2 | Output 3 (X.2) | Output 4 (X.3) |
| 3 | Output 5 (X.4) | Output 6 (X.5) |
| 4 | Output 7 (X.6) | Output 8 (X.7) |
| 5 | Output 9 (X+1.0) | Output 10 (X+1.1) |
| 6 | Output 11 (X+1.2) | Output 12 (X+1.3) |
| 7 | Output 13 (X+1.4) | Output 14 (X+1.5) |
| 8 | Output 15 (X+1.6) | Output 16 (X+1.7) |
| 9 | Output 17 (X+2.0) | – |
| 10 | Output 18 (X+2.1) | – |
| 11 | Output 19 (X+2.2) | – |
| 12 | Output 20 (X+2.3) | – |
| 13 | Output 21 (X+2.4) | – |
| 14 | Output 22 (X+2.5) | – |
| Valve position | 14 coil | 12 coil |
| 15 | Output 23 (X+2.6) | – |
| 16 | Output 24 (X+2.7) | – |
Table 27: Address table: E
| Valve position | 14 coil | 12 coil |
| 1 | Output 1 (X.0) | Output 2 (X.1) |
| 2 | Output 3 (X.2) | Output 4 (X.3) |
| 3 | Output 5 (X.4) | Output 6 (X.5) |
| 4 | Output 7 (X.6) | Output 8 (X.7) |
| 5 | Output 9 (X+1.0) | Output 10 (X+1.1) |
| 6 | Output 11 (X+1.2) | Output 12 (X+1.3) |
| 7 | Output 13 (X+1.4) | Output 14 (X+1.5) |
| 8 | Output 15 (X+1.6) | – |
| 9 | Output 16 (X+1.7) | – |
| 10 | Output 17 (X+2.0) | – |
| 11 | Output 18 (X+2.1) | – |
| 12 | Output 19 (X+2.2) | – |
| 13 | Output 20 (X+2.3) | – |
| 14 | Output 21 (X+2.4) | – |
| 15 | Output 22 (X+2.5) | – |
| 16 | Output 23 (X+2.6) | – |
| 17 | Output 24 (X+2.7) | – |
Table 28: Address table: F
| Valve position | 14 coil | 12 coil |
| 1 | Output 1 (X.0) | Output 2 (X.1) |
| 2 | Output 3 (X.2) | Output 4 (X.3) |
| 3 | Output 5 (X.4) | Output 6 (X.5) |
| 4 | Output 7 (X.6) | Output 8 (X.7) |
| 5 | Output 9 (X+1.0) | Output 10 (X+1.1) |
| 6 | Output 11 (X+1.2) | – |
| 7 | Output 12 (X+1.3) | – |
| 8 | Output 13 (X+1.4) | – |
| 9 | Output 14 (X+1.5) | – |
| 10 | Output 15 (X+1.6) | – |
| 11 | Output 16 (X+1.7) | – |
| 12 | Output 17 (X+2.0) | – |
| 13 | Output 18 (X+2.1) | – |
| 14 | Output 19 (X+2.2) | – |
| 15 | Output 20 (X+2.3) | – |
| 16 | Output 21 (X+2.4) | – |
| 17 | Output 22 (X+2.5) | – |
| 18 | Output 23 (X+2.6) | – |
| 19 | Output 24 (X+2.7) | – |
Table 29: Address table: G
| Valve position | 14 coil | 12 coil |
| 1 | Output 1 (X.0) | Output 2 (X.1) |
| 2 | Output 3 (X.2) | Output 4 (X.3) |
| 3 | Output 5 (X.4) | Output 6 (X.5) |
| 4 | Output 7 (X.6) | Output 8 (X.7) |
| 5 | Output 9 (X+1.0) | – |
| 6 | Output 10 (X+1.1) | – |
| 7 | Output 11 (X+1.2) | – |
| 8 | Output 12 (X+1.3) | – |
| 9 | Output 13 (X+1.4) | – |
| 10 | Output 14 (X+1.5) | – |
| 11 | Output 15 (X+1.6) | – |
| 12 | Output 16 (X+1.7) | – |
| 13 | Output 17 (X+2.0) | – |
| 14 | Output 18 (X+2.1) | – |
| 15 | Output 19 (X+2.2) | – |
| Valve position | 14 coil | 12 coil |
| 16 | Output 20 (X+2.3) | – |
| 17 | Output 21 (X+2.4) | – |
| 18 | Output 22 (X+2.5) | – |
| 19 | Output 23 (X+2.6) | – |
| 20 | Output 24 (X+2.7) | – |
Table 30: Address table: H
| Valve position | 14 coil | 12 coil |
| 1 | Output 1 (X.0) | Output 2 (X.1) |
| 2 | Output 3 (X.2) | Output 4 (X.3) |
| 3 | Output 5 (X.4) | Output 6 (X.5) |
| 4 | Output 7 (X.6) | – |
| 5 | Output 9 (X+1.0) | – |
| 6 | Output 10 (X+1.1) | – |
| 7 | Output 11 (X+1.2) | – |
| 8 | Output 12 (X+1.3) | – |
| 9 | Output 13 (X+1.4) | – |
| 10 | Output 14 (X+1.5) | – |
| 11 | Output 15 (X+1.6) | – |
| 12 | Output 16 (X+1.7) | – |
| 13 | Output 17 (X+2.0) | – |
| 14 | Output 18 (X+2.1) | – |
| 15 | Output 19 (X+2.2) | – |
| 16 | Output 20 (X+2.3) | – |
| 17 | Output 21 (X+2.4) | – |
| 18 | Output 22 (X+2.5) | – |
| 19 | Output 23 (X+2.6) | – |
| 20 | Output 24 (X+2.7) | – |
Table 31: Address table: I (also valid for 21 valves)
| Valve position | 14 coil | 12 coil |
| 1 | Output 1 (X.0) | Output 2 (X.1) |
| 2 | Output 3 (X.2) | Output 4 (X.3) |
| 3 | Output 5 (X.4) | – |
| 4 | Output 6 (X.5) | – |
| 5 | Output 7 (X.6) | – |
| 6 | Output 8 (X.7) | – |
| 7 | Output 9 (X+1.0) | – |
| 8 | Output 10 (X+1.1) | – |
| 9 | Output 11 (X+1.2) | – |
| 10 | Output 12 (X+1.3) | – |
| 11 | Output 13 (X+1.4) | – |
| 12 | Output 14 (X+1.5) | – |
| 13 | Output 15 (X+1.6) | – |
| 14 | Output 16 (X+1.7) | – |
| 15 | Output 17 (X+2.0) | – |
| 16 | Output 18 (X+2.1) | – |
| 17 | Output 19 (X+2.2) | – |
| 18 | Output 20 (X+2.3) | – |
| 19 | Output 21 (X+2.4) | – |
| 20 | Output 22 (X+2.5) | – |
| 21 | Output 23 (X+2.6) | – |
| 22 | Output 24 (X+2.7) | – |
Table 32: Address table: J
| Valve position | 14 coil | 12 coil |
| 1 | Output 1 (X.0) | Output 2 (X.1) |
| 2 | Output 3 (X.2) | – |
| 3 | Output 5 (X.4) | – |
| 4 | Output 6 (X.5) | – |
| 5 | Output 7 (X.6) | – |
| 6 | Output 8 (X.7) | – |
| Valve position | 14 coil | 12 coil |
| 7 | Output 9 (X+1.0) | – |
| 8 | Output 10 (X+1.1) | – |
| 9 | Output 11 (X+1.2) | – |
| 10 | Output 12 (X+1.3) | – |
| 11 | Output 13 (X+1.4) | – |
| 12 | Output 14 (X+1.5) | – |
| 13 | Output 15 (X+1.6) | – |
| 14 | Output 16 (X+1.7) | – |
| 15 | Output 17 (X+2.0) | – |
| 16 | Output 18 (X+2.1) | – |
| 17 | Output 19 (X+2.2) | – |
| 18 | Output 20 (X+2.3) | – |
| 19 | Output 21 (X+2.4) | – |
| 20 | Output 22 (X+2.5) | – |
| 21 | Output 23 (X+2.6) | – |
| 22 | Output 24 (X+2.7) | – |
| 23 | Output 4 (X+3) | – |
Table 33: Address table: K
| Valve position | 14 coil | 12 coil |
| 1 | Output 1 (X.0) | – |
| 2 | Output 3 (X.2) | – |
| 3 | Output 5 (X.4) | – |
| 4 | Output 6 (X.5) | – |
| 5 | Output 7 (X.6) | – |
| 6 | Output 8 (X.7) | – |
| 7 | Output 9 (X+1.0) | – |
| 8 | Output 10 (X+1.1) | – |
| 9 | Output 11 (X+1.2) | – |
| 10 | Output 12 (X+1.3) | – |
| 11 | Output 13 (X+1.4) | – |
| 12 | Output 14 (X+1.5) | – |
| 13 | Output 15 (X+1.6) | – |
| 14 | Output 16 (X+1.7) | – |
| 15 | Output 17 (X+2.0) | – |
| 16 | Output 18 (X+2.1) | – |
| 17 | Output 19 (X+2.2) | – |
| 18 | Output 20 (X+2.3) | – |
| 19 | Output 21 (X+2.4) | – |
| 20 | Output 22 (X+2.5) | – |
| 21 | Output 23 (X+2.6) | – |
| 22 | Output 24 (X+2.7) | – |
| 23 | Output 4 (X.3) | – |
| 24 | Output 2 (X.1) | – |
Emerson Automation Solutions
AVENTICS GmbHUlmer Straße 430880 Laatzen, GERMANY phone +49 511 2136-0 fax +49 511 2136-269 www.emerson.com/[email protected] addresses:www.emerson.com/contactus
References
AVENTICS – Smart, reliable solutions for pneumatic automation | Emerson DE
AVENTICS – Smart, reliable solutions for pneumatic automation | Emerson US
Contact Us | Emerson US
AVENTICS – Smart, reliable solutions for pneumatic automation | Emerson DE
AVENTICS – Smart, reliable solutions for pneumatic automation | Emerson US
Contact Us | Emerson US






















