Feit LED Outdoor Wall Pack
Model: SSWPK/850/DD/BZ

User Manual
LED OUTDOOR WALL PACK
IMPORTANT SAFETY INSTRUCTIONS AND INSTALLATION GUIDE
READ BEFORE INSTALLATION
SAVE THESE INSTRUCTIONS
Questions, problems, missing parts? Before returning to the store, call Feit Electric Customer Service
8 a.m. – 5 p.m., PST, Monday – Friday
1-866-326-BULB (2852)
FEIT.COM
We appreciate the trust and confidence you have placed in Feit Electric through the purchase of this LED Outdoor Wall Pack.
We strive to continually create quality products designed to enhance your home. Visit us online to see our full line of products available for your home improvement needs.
Thank you for choosing Feit Electric.
Safety Information
READ BEFORE INSTALLATION
- Follow all safeguards stated in the manual, in addition to normal safety precautions in working with electrical devices. Always follow basic safety precautions to reduce the risk of fire, electric shock and personal injury.
- WARNING: RISK OF SHOCK: House electric current can cause painful shock or serious injury unless handed properly. For your safety, always remember to:
A. Tum OFF the power supply at the fuse or circuit breaker box before you install the fixture.
B. Ground the fixture to avoid potential electric shocks and to ensure reliable starting.
C. Double check all connections to be sure they are tight and correct.
D. Wear rubber sole shoes and work on a sturdy ladder. - This fixture is designed for use in a circuit protected by a fuse or circuit breaker. It is also designed to be installed in accordance with local electrical codes. If you are unsure about your wiring, consult a qualified electrician or local electrical inspector, and check your local electrical code.
- WARNING: RISK OF CUTS: Some metal parts in the fixture may have sharp edges. To prevent cuts and scrapes, wear gloves when handling the parts.
- Account for small parts and destroy packaging material, as these may be hazardous to children.
SAVE THESE INSTRUCTIONS
WARNING: These products may represent a possible shock or fire hazard if improperly installed or attached in any way. Products should be installed in accordance with the owners manual, current electrical codes and/or the current National Electric Code (NEC). Proper1y ground electrical enclosure. Use only UL or IEC approved wire for input/output connections.
WARNING: Risk of fire. Use only on 120 volt 60Hz circuits. .. Suitable for wet locations. Do not use with dimmers. Do not look directly at the operating LED lamp. The luminaire should be grounded. This device is not intended for use with emergency exits or emergency lights.
CAUTION: To avoid risk of fire, explosion, or electrical .. shock, this product should be installed, inspected and maintained by a qualified electrician only, in accordance with all applicable electrical codes. Be certain electrical power is OFF before and during installation and maintenance.
CAUTION: This product must be installed in accordance .. with the applicable installation code by a person familiar with the construction and operation of the product and the hazards involved.
FCC STATEMENT
This device complies with part 15 of the FCC Rules. Operation is subject to the following two conditions:
(1) This device may not cause harmful interference, and
(2) this device must accept any interference received, including interference that may cause undesired operation.
Note: This equipment has been tested and found to comply with the limits for a Class B digital device, pursuant to part 15 of the FCC Rules. These limits are designed to provide reasonable protection against harmful interference in a residential installation. This equipment generates, uses and can radiate radio frequency energy and, if not installed and used in accordance with the instructions, may cause harmful interference to radio communications. However, there is no guarantee that interference will not occur in a particular installation. If this equipment does cause harmful interference to radio or television reception, which can be determined by turning the equipment off and on, the user is encouraged to try to correct the interference by one or more of the following measures: Reorient or relocate the receiving antenna. Increase the separation between the equipment and receiver. Connect the equipment into an outlet on a circuit different from that to which the receiver is connected. Consult the dealer or an experienced radio/TV technician for help. Any changes or modifications not expressly approved by the manufacturer could void the user’s authority to operate the equipment. CAN ICES-OO5 (B).
Supplier’s Declaration of Conformity:
47 CFR § 2.1077 Compliance Information
Responsible Party:
Feit Electric Company
4901 Gregg Road,
Pico Rivera, CA 90660, USA
562-463-2852
Unique Identifier: SBWPK/850/DD/BZ
Limited Warranty
This product is warrantied to be free from defects in workmanship and materials for up to 5 years from date of purchase. If the product fails within the warranty period, please contact Feit Electric at [email protected], visit feit.com/contact-us or call 1-866-326-BULB (2852) for instructions on replacement or refund. REPLACEMENT OR REFUND IS YOUR SOLE REMEDY. EXCEPT TO THE EXTENT PROHIBITED BY APPLICABLE LAW, ANY IMPLIED WARRANTIES ARE LIMITED IN DURATION TO THE DURATION OF THIS WARRANTY. LIABILITY FOR INCIDENTAL OR CONSEQUENTIAL DAMAGES IS HEREBY EXPRESSLY EXCLUDED. Some states and provinces do not allow the exclusion of incidental or consequential damages, so the above limitation or exclusion may not apply to you. This warranty gives you specific legal rights, and you may also have other rights which vary from state to state or province to province.
Pre-Assembly
HARDWARE THAT IS PRE-INSTALLED

PARTS IN THE BAG

TOOLS REQUIRED (NOT INCLUDED)


Installation
1.Turn the power OFF at the switch and fusebox or the circuit breaker.
2. Remove the Fixture Lens (7) from the Wall Pack Fixture (3) by unscrewing the four Lens Screws (8).

3. Remove the Reflector (4) from the Wall Pack Fixture (3) by unscrewing the two Reflector Screws (6).

4. Use a screwdriver and hammer (not provided) to knock out the screw holes on the Wall Pack Fixture (3).

5. Using Wire Connectors (2), connect the 3 wires coming from the Wall Pack Fixture (3) to the Junction Box Wires:
Black – Line Voltage,
White – Neutral
Green – Ground

6. Feed the junction box wires and fixture wires into the Junction Box. Mount the Wall Pack Fixture (3) to the J-Box (1) using the J-Box Screws (5) through the knockout screw holes.

7. Re-assemble the Reflector (4) to the Wall Pack Fixture (3) by screwing in the two Reflector Screws (6).

8. Re-assemble the Fixture Lens (7) to the Wall Pack Fixture (3) by screwing in the four Lens Screws (8).

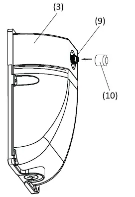
9. (Optional) To bypass the (9) so the (3) Fixture can operate by wall switch only, simply place the Dust-To-Dawn Sensor Cover(1O) over the Sensor (9).

10. Turn the power ON at the circuit breaker or fuse box.
11. Once the fixture is tightly secured to J-Box, apply silicone sealant around the base of the fixture to prevent moisture from reaching the connections.
CARE AND MAINTENANCE
Periodically clean the fixture and diffuser using a mild, non-abrasive cleaner and soft cloth. When cleaning the fixture, make sure the power is turned off. Do not spray cleaner directly onto any part of the fixture or LEDs.
TROUBLESHOOTING
Extreme hot or cold weather could affect the performance of the built-in sensors that detect body heat
Certain winter clothing can shield a person’s body heat from the sensor during extreme cold weather.
During extreme hot weather, the sensor may not be able to distinguish the difference between normal body temperatures and the surrounding high temperatures. The sensor will begin working normally once weather conditions return to normal.



















