Network Camera
Quick Start Guide
- Please read this instruction carefully before operating the unit and keep it for further reference.
- All the examples and pictures used here are for reference only.
- The contents of this manual are subject to change without notice.
1 Warning and Caution
- If the product does not work properly, please contact your dealer or the nearest service center. Never attempt to disassemble the camera yourself. (We shall not be responsible for any problems caused by unauthorized repair or maintenance.)
- Do not allow water or liquid intrusion into the water.
- In the use of the product, you must be strict compliance with the electrical safety regulations of the nation and region. When the product is mounted on wall or ceiling, the device shall be firmly fixed.
- Do not use camera beyond specified voltage range.
- Do not drop the camera or subject it to physical shock.
- Avoid touching the camera lens.
- If cleaning is necessary, please use clean cloth to wipe it gently.
If the device will not be used for a long time, please cover the lens cap to protect the device from dirt. - Do not aim the camera at the sun or extra bright place.
- Do not place the camera in extremely hot, cold (the operating temperature shall be -30˚C~60˚C), dusty or damp locations, and do not expose it to high electromagnetic radiation.
- To avoid heat accumulation, good ventilation is required for operating environment.
2 Package

Camera Quick start guide

4 tapping screws PA 4×25 CD

Drill Template Plastic plug × 4
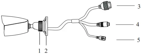
3 Overview


- Fixed ring
- Mounting base
- Ethernet connector
- Audio input
- Power connector
- Micro SD card slot
- Reset

- Security Cap
- DC12V
* 1 It is recommended to install the security cap for outdoor installation.
* 2 DC12V power supply is not required if a PoE switch is used to power the camera.
► Connecting Network Cable

(1) Loosen the nut from the main element.
(2) Run the network cable (without RJ 45 connector) through the both elements. Then crimp the cable with RJ 45 connector.
(3) Connect the cable to the hermetic connector. Then tighten the nut and the main cover.
4 Installation
Please make sure that the wall or ceiling is strong enough to withstand 3 times the weight of the camera. Please install and use the camera in the dry environment.
(1) Install a micro SD card. Remove the plastic cover (a) from the camera and then loosen the two screws of (b). Remove (b) and then insert a micro SD card. After that, install back (b) and (a).

- Insert a micro SD card
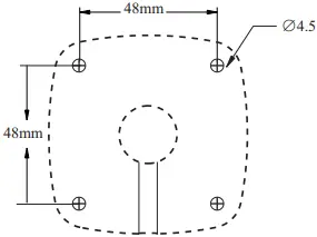
(2) Attach the drill template to the place where you want to fix the camera and then drill the screw holes and the cable hole on the wall according to the drill template.

(3) Route and connect the cables.
(4) Secure the mounting base with camera to the wall with screws as shown below.

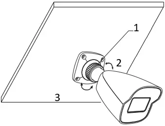
(5) Bracket adjustment. Before adjustment, preview the image of the camera on a monitor and then loosen the fixed ring to adjust the view angle of the camera.

- Fixed Ring
- Tilt 80°
- Pan 360°
(6) Tighten the fixed ring after the adjustment.
5 Network Connection
Here we take accessing IP camera via LAN for example.
• Access Through IP-Tool

- IPC
- Network Cable
- Switch
- Router
- Computer
(1) Make sure that the camera and the PC are well connected via LAN.
(2) Find the IP-Tool from the CD and then install it in the computer. After that, run the IP-Tool as shown below.

(3) Modify the IP address. The default IP address of this camera is 192.168.226.201. Click the information of the camera listed in the above table to show the network information on the right hand. Modify the IP address and gateway of the camera and make sure its network address is in the same local network segment as that of the computer. Please modify the IP address of your device according to the practical situation.

For example, the IP address of your computer is 192.168.1.4. So the IP address of the camera shall be changed to 192.168.1.X and the gateway shall be changed to 192.168.1.1. After modification, please enter the password of the administrator and click “Modify” button to modify the settings.
The default password of the administrator is “123456”.
(4) Double-click the camera listed in the IP-Tool or manually enter the IP address in the address bar of the web browser to connect IP-CAM.
Then follow directions to download and install the plugin.
(5) Enter the username and password in the login interface.
The default username is admin; the default password is 123456.
450043001355 A0
Network Camera
