COSTWAY FH10022 Foldable Weight Bench Multifunctional Dumbbell Gym Bench with Elastic Ropes

Adjustable Weight Bench
- When using it as a sit-up bench, just ta ke Part# C out from the backrest fixing hole.
- Don’t use this weight bench for barbell exercises. Keep away from objects which could interfere with safe use.

- Make sure all the bolts and nuts are well-tightened.Max load capac ity is 550 KG/1212 LBS.
- Never use this bench on an un-level surface. For better exercise experience, use this bench on the felt mat or your carpet.
- Users should consult with a physician before beginning any exercise or conditioning program. Pay attention to your body’s reaction, don’t overexercise. It may harm your health.
- Recommended exercise duration is no more than 30 minutes.
- Inspect before each use. Replace or adjust any loose, worn, defective, or missing parts.
When using this bench, please wear appropriate clothing, such as tracksuit.
Parts List
Please read this product user manual carefully before using.
| Part # | Part Image | Description | Qty |
| A | ![]() | Adjustable Weight Bench Frame | 1 |
| B | ![]() | Safety Lock B | 1 |
| C | ![]() | Quick Fixing Lock C | 3 |
| D | ![]() | Resistance bands | 1 |
| E | ![]() | Felt Mat | 2 |
| F | ![]() | Back Cushion | 1 |
| Notice: Part # B and Part # C are attached to Part # A. | |||
Product Assembly
Follow these 4 steps to assemble your weight bench:
- Pull out the Part B.

- Unfold weight bench.

a: Firstly unfold the bench to the widest range,
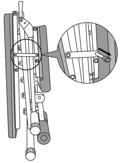
b: Then insert Part#B to lock the connector as below. - Adjust the backrest, seat and foot rack to your needed position and insert Part# C into the adjustable fixing hole as below.

- Put felt mat under support feet as below.

How to fold your bench
- Take Part# Bout as below.

- Take Part#C out from the backrest, seat and foot rack, and fold as below, then insert Part B to lock the bench as the following picture.

Maintenance Service Description
Installation of goods shall be carried out in accordance with the instructions of the product drawings. Damage or accident caused by wrong installation or improper use shall not be included in the scope of free maintenance.































