
YU300/YU500
Homecare Oxygen Concentrator
User’s Manual

Please read the user’s manual closely before using it!
SAFETY NOTES
WARNING: For avoiding power outages or oxygen concentrator operating failure, exigent oxygen users and serious patients must equip with a reserve oxygen supply (for example oxygen cylinder, oxygen bag). This device must equip with a reserved oxygen supply and is not used as life-supporting or life-sustaining.
BEFORE INSTALLATION
- The concentrator should always be kept in upright to prevent cabinet damage when transporting.
- When the electrical source, power voltage is beyond the normal power voltage range. Please add a voltage stabilizer.
- Use eligible, safe power set and junction box.
- Only the technician can open the oxygen concentrator’s cabinet.
STORAGE PLACE
- Keep the concentrator away from inflammable and explosive occasions.
- The concentrator should be placed in a ventilated room without direct sunlight. Place the unit away from all sides for at least 10cm (4inches) from walls, draperies, furniture, or other obstruction. Do not place the unit in a confined area.
- Oxygen concentrator must avoid heat, fire, moisture, exorbitant, or over-low extreme conditions.
- Sundries and vessels should not be placed on top of the concentrator.
- NEVER put any stuff under the machine to prevent blocking the air inlet or outlet of the unit. Otherwise may cause the high temperature to shut down the machine or low oxygen concentration.
USING
- Oxygen is combustion-supporting gas. Users MUST NOT SMOKE while using this device. Keep all matches, lighted cigarettes or other sources of ignition out of the room in which this product is located.
- A spontaneous and violent ignition may occur if oil, grease or greasy substances come in contact with oxygen under pressure. These substances MUST be kept away from the oxygen concentrator.
- Do not place the machine in a damp room or near other liquid.
FEATURES
SUMMARY
The function of oxygen
Oxygen could improve body function, especially suit for elderly, pregnant women, physique, students etc. Who got physiological hypoxia. It may also reduce fatigue after heavy manual or mental consumption.
THE SCOPE OF PRODUCTS
Produce oxygen for personal homecare and cosmetics.
STRUCTURE
- Safety plastic shell. With infrared remote control system, can be operated conveniently.
- With time collect function: Display the operation time in LCD.
- With timing power-off function. The anion-generating function can improve the alveolar ventilation function and increase the oxygen absorption rate.
- The compressor with a thermal protector guarantees better security.
SPECIFICATIONS
- Power Supply:
❑AC120V ± 10% ❑AC220V ± 10% ❑AC230V ± 10% ❑50Hz ❑60Hz - Input Power: 100VA
- Oxygen Concentration: 30%-90%
- Flow Range: 1 —5L/min
- Noise: ts:43dB(A)
- Weight: 7.5kg
- Dimension: H27cm (10.61 x W17.5cm (6.9″) x D29.5cm (11.6″)
- Safety system:
Current overload or loose connection, automatic shutdown;
Compressor with abnormal high temperature, automatic shutdown; - Electric classification: Class II
- Work system: work continuously.
- NORMAL OPERATION CONDITIONS:
Temperature range: 10t -40r (50°F – 104°F):
Relative humidity: 30%- 75%;
Atmosphere pressure: 860hPa -1060hPa(12.47psi 15.37ps0;
NOTE: When storage temperature is below 5°C, please keep the equipment in normal working condition for at least 4 hours before use. - Transportation and storage conditions:
Temperature range: -20C — +60’C(-68°F – +140T), Relative humidity: 10% – 93%, no condensation,Atmosphere pressure: 700hPa -1060hPa(10.15psi -15.37psi). NOTE: Oxygen concentrator should be stored with out intense sunlight, no corrosive gas and ina well ventilated room, avoid jolt and inverted recumbent transport.
OPERATING & INSTALLATION
UNPACKING
- Check for any obvious damage to the carton or its contents before
using. If damage is evident, please notify the carrier or local dealer.
FEATURE VIEW



PREPARE WORK
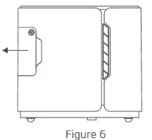
- Pull out the humidifier as the direction in Figure 6, remove the rubber stopper, then fill the bottle with pure water (or distilled water) to the level indicated by the manufacturer.(Figure 6)

- Note: The mashine can generate oxygen also without water in the water container. 0 Connecting the power source: connect the power cord to the power connection port of the machine.
- Turn the power switch to ” I ” , the LCD showing “HELLO” indicates that the machine is normal. 4 seconds later, the LCD shows flow rate, oxygen concentration, elapsed time and time setting interface “–“, then the machine goes to normal operation.
PERFORM THE OXYGEN INHALATION
- Push the “FLOW RATE” button on the control panne! to require oxygen need, the display screen shows the flow rate and oxygen concentration. Meanwhile, oxygen comes from the oxygen outlet.
- Connect the nasal oxygen cannula to the oxygen outlet of the humidifier, the other end matches the patient.
TIME SETTING
This machine has a timer function, which users can set in the range of 10 -120 minutes.
- When LCD shows “–” it means continuous operation state.
- Every time press the “+”, means runtime increases 10 minutes, press for more than I .5 seconds for continuous increasing.” Every time press the “-“, means runtime decreases 10 minutes, press for more than 1 .5 seconds for continuous decreasing.
- The oxygen concentrator will automatically shut down meanwhile LCD shows “0” when time runs out.
ANION FUNCTION
- Press the “ANION” button on the control panne! to generate anion of oxygen.
TURNING OFF
- Push the power switch on the control panel to suspend inhaling oxygen.
- Take off nasal oxygen cannula from oxygen outlet first, close power switch, and then cut off the power source.
INFRARED REMOTE CONTROL SYSTEM
Remote operating the machine with the tele controller, it’s function is as same as the control panel of the machine.
Note: The telecontroller should be aimed at the remote receiving device while using.
SYMBOLS

MAINTENANCE
WARNING: CUT OFF the power supply first. To avoid electrical shock. DO NOT remove the cabinet.
CLEANING CABINET
Clean the cabinet with a mild household cleaner and non-abrasive cloth or sponge at least one time each month.
CLEANING OR REPLACING FILTERS
Please clean and replace the filters in time, it’ s very important to protect the compressor and delay the machine’s life.
CAUTION: DO NOT operate the concentrator without the filters installed.
- The mesh in the filter cleans once half a month. ( See Figure 7. Figure 8 ) The filter can be taken out from the back panel.
- The frequency for replacing the filter mesh depends on plantar., using, and condition. If the filter core turns black, please replace it at once, no matter how long it is used.
- Clean the filters with a vacuum cleaner or wash in warm soapy water and rinse thoroughly. DRY the filters thoroughly before reinstallation.
CLEANING THE WATER CONTAINER
- Change the water in the humidifier every day
- Clean the water container and the rubber stopper once a week to ensure generating clean oxygen.
Note: If the water container smells not good, soak it in white vinegar for half an hour then rinse thoroughly with water. - Disassemble the humidifier (I )Pull out the humidifier as the direction in Figure 8. (2)Remove the rubber stopper(Figure 9).

CHANGING THE NASAL OXYGEN CANNULA
- Clean it once every three days. Clean the head of it every time: soak it in white vinegar for 5 minutes then rinse thoroughly with water or rub with medical alcohol. Change the oxygen pipe every two months. (Please keep the oxygen pipe dry)
CHANGING THE FUSE TUBE
The fuse tube is on the button of the machine. Switch off the power supply and turn it counterclockwise and open, then, start changing the tube. (Fuse type: TI.6AL250V. 4)5 x 20)
TROUBLESHOOTING GUIDE
| Symptom | Probable reasons Solution | |
| The machine doesn’t work and the display screen shows nothing while the power supply has been linked | 1)Fuse tube broke | 1)Change the fuse tube |
| 2)The power is not sufficient at the outlet | 2)00 not use extended cord | |
| 3)Contact dealer or manufacturer if the machine still doesn’t work | ||
| The concentrator is working, but oxygen from the outlet is little or no | 1)The nasal cannula kinked or blocked | 1)Replace it |
| 2)Humidifier leaked | 2)Reinstall and tighten it | |
| 3)Water container blocked | 3)Clean the water container | |
| 4)Filter core get dirty | 4)Clean or replace the filter | |
| 5)Contact dealer or manufacturer if the problem still can not be solved | ||
| The machine doesn’t work and the display screen shows ‘FAULT– while the power supply has been linked | 1)Compressor with abnormally high temperature, automatic shutdown | 2)Cut off the power and cool the machine |
| 2)If this state continues, stop using the concentrator and get in touch with the supplier at once | ||
Contact dealer or manufacturer if the problem still can not be solved.
OTHER ATTENTION ITEMS
GAS PASS OPERATION SKETCH MAP:
RADIOFREQUENCY INTERFERENCE
To avoid influence by Radio Frequency Interference (RFD. CAUTION should be exercised with regard to the use of portable communications equipment in the area around such equipment.
Do not disassemble the machine personally. Any professional maintenance personnel who needs the electrical rationale diagram, please contact the dealer or manufacturer.
ACCESSORIES LIST
- Oxygen concentrator 1 set
- User’s manual 1 piece
- Nasal oxygen cannula
- Headset type oxygen uptake1 set
- Filter core 1 set
- Fuse tube(T1.6AL250V, m5 x 20) 2 pieces
- power cord 1set
All specifications and product configurations are subject to change without notification.
JIANGSU YUYUE MEDICAL EQUIPMENT & SUPPLY CO., LTD.
Sales Center Address: Huanyuan East Road No.1, Xuzhuang Software Park,
Nanjing, Jiangsu Province, P.R. China, 210000 Manufacturing
Address: YunYang Industrial Park, DanYang, Jiangsu Province, P.R. China, 212300
http://www.yuwell.com
















