TRUE FINE TD130014OT LED Wall Lamp

PACKAGE CONTENTS

PART | DESCRIPTION | QUANTITY |
A | Fixture body | 1 |
HARDWARE CONTENTS
(shown actual size)
- Short monting x 2 screw

- Wire nut x 3

- Long monting x 2 screw

- Mounting plate (Not actual size) x 1

SAFETY INFORMATION
Please read and understand this entire manual before attempting to assemble, operate or install the product.
WARNING
- TURN OFF ELECTRICITY at main fuse box (or circuit breaker box) before beginning installation by removing fuse (or switching off circuit breaker).
- MINIMUM 90°C SUPPLY CONDUCTORS.
PREPARATION
Before beginning assembly of product, make sure all parts are present. Compare parts with package contents list and hardware contents list. If any part is missing or damaged, do not attempt to assemble the product.
Estimated Assembly Times: 25 minnutes
Tools Required for Assembly (not included): Flathead screwdriver , Phillips screwdriver,
Pliers, Electrical tape, Wire cutters, Safety glasses.
Helpful Tools (not included): Wire strippers, Step ladder.
Customer Service: [email protected]
ASSEMBLY INSTRUCTIONS
- Attach the mounting plate (DD) to the outlet box(not included) with the long mounting screws (CC).

Hardware Used Hardware UsedCC Long mounting screw 
DD Mounting plate 
- Strip 3/4 in. of insulation from wire ends.
Twist stripped ends together with pliers (not included), black to black (power) and white to white (neutral). Attach copper wire to ground wire. Helpful hint:
If necessary, attach copper ground wire to grounded outlet box
- Attach wire nuts (BB).Tape wire nuts (BB) and wires together.

Hardware UsedBB Wire nut 
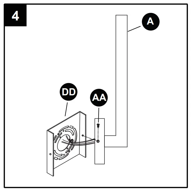
- Place fixeture (A) onto the mounting plate (DD). Secure with short mounting screws (AA).

Hardware UsedAA Short mounting screw 
DD Mounting plate 
- The lamp installation has been completed, no bulb is required.





























