
EFP 140
COPPER ELECTRIC FAY PAN
DIE-CAST ALUMINUM HOUSING
Model no: EFP140
Batch no: PR4272
INSTRUCTION MANUAL

PLEASE READ AND RETAIN THESE INSTRUCTIONS FOR FUTURE REFERENCE.
THIS APPLIANCE IS INTENDED FOR HOUSEHOLD USE ONLY.
The illustrations used in the manual are to illustrate the operation method and structure of the product. Where there is a small difference between the physical item and the illustrations, please take the physical as the standard.
Introduction:
Sear meats, simmer curries, sauté veggies, scramble eggs, bake a casserole, fry chicken, all in one pan… the options are endless with this banquet-sized 9.1-liter capacity Copper Electric Fry Pan. With a spacious 38 x 30 centimetre working surface, sorting out tonight’s dinner or dishing up a masterpiece for your next banquet or gathering is as simple as plug – cook – unplug – and serve.
This benchtop electric frying pan offers a natural cooling method that is as good for you as it tastes.
It is designed to cook using the natural oils in the food without needing any more extra added oil. The die-cast aluminum housing provides optimum heat retention while the PTFE-free and PFOA-free 100% non-stick polished copper coating allow for easy cooking, stirring, and serving of food.
Designed to heat up quickly and evenly, your meals will cook to perfection with even temperature distribution. Serving up dishes is both simple and convenient with this upgraded non-stick polished copper coating, sliding the food off the electric frypan with ease.
Enjoy 5 temperature level adjustments, up to 240°C, through a simple control dial. The cool-to-touch built-in handles provide convenience for moving around the benchtop and for safe cleaning. The tempered glass lid seals in the flavours and moisture and also has a cool-to-touch knob. Complete with easy clean-up, this Copper Electric Fry Pan is a healthy and space-saving option for your kitchen.
Features:
- 9.1-liter capacity,
- 38 x 30-centimeter working surface,
- PTFE-free and PFOA-free
- 100% non-stick polished copper coating,
- 5 temperature level adjustments,
- 240°C max temperature,
- Tempered glass lid,
- Cool-to-touch built-in handles and lid knob,
- Die-cast aluminum housing body, easy to clean
- Power: 1500W
- Colour: Silver Body with Copper Inner Coating
Important safety instructions:
- Please read these operating instructions carefully before using the electric fey pan.
- Only connect the unit to an AC power supply. The voltage listed on the rating plate must coincide with the voltage of your power supply.
- Do not use the unit with an extension lead or power board.
- Keep the electric cable away from hot surfaces and open flames or sharp edges.
- Avoid the danger of tripping, do not allow the electric cable to hang down.
- Never touch the electric cable and plug it with wet hands.
- Never immerse the unit, electric cable, or plug into water or other liquids. Danger to life through electric shock!
- Never leave the unit unattended during use.
- Keep children away from the unit. Pay particular attention when children are in the vicinity!
- This appliance is not intended for use by a person (including children) with reduced physical, sensory or mental capability or lack of experience and knowledge unless they have been given supervision or instruction concerning the use of the appliance by a person responsible for their safety.
- Children should be supervised to ensure that they do not touch or play with the appliance.
- Do not use the unit outside.
- The unit is only intended for home use and not for commercial purposes.
- This appliance is only intended to be used in household and similar applications such as:
– staff kitchen areas in shops, offices, and other work environments
– farmhouses
– by clients in hotels, motels, bed and breakfasts,s and other residential environments - Do not use a sharp knife to cut food items on the surface of the electric frypan.
- Only use plastic or wooden utensils when cooking to protect the non-stick surface of the electric frypan from becoming scratched.
- Regular high heat cooking may discolor the non-stick surface, this is normal and will not affect the performance of the non-stick coating.
- Check the unit, electric cable, and plug regularly for visible damage. Do not use the unit under any circumstances if you have noted any damage.
- Has the damage been repaired by a qualified specialist only? Never attempt to repair any damages yourself.
- Only use the unit on a steady, heat-resistance surface. Never position the unit close to hot surfaces or open flames.
- Do not use the unit on an unsteady surface or a flammable surface such as a carpet or a table cloth.
- Ensure there is at least 15cm clearance space around the unit while it is in operation.
- Do not put the thermostat controller on the electric fry pan’s surface.
- High temperatures are present during operation. Only touch the handles on the unit.
- Do not move the electric frypan during operation.
- The electric fry pan is not designed to be operated with an external timer or a separate remote control system.
Packaging information:
Warning of suffocation! Keep children and animals away from the packaging material!
- The unit is packaged to protect against transport damage.
- The packaging materials are recyclable. Please dispose of the packaging materials via the appropriate recycling system in an environmentally-friendly manner.
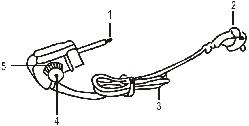
Unit overview:

- Glass cover handle
- Temperature sensor
- Frypan
- Handles
- Glass cover
Temperature sensor:

- Temperature sensor
- Electric plug
- Electric cable
- Temperature regulator
- Control lamp
Preparing the unit:
Note:
| ![]() |
Connecting the unit:
- Connect the temperature regulator to the base of the electric fry pan.
– Make sure that the plug is connected properly. - Set the temperature selector switch to heat level “0”.
- Connect the plug to a 220-240 V / 50/60 Hz powerpoint.
ATTENTION:
Do not use a power board or an extension lead.

Preparing foods:
- Brush the cooking surface with a little cooking oil.
- Set the temperature regulator to the required heat level.
The control lamp will light up to signal that the unit is ready for use (ON).

| Heating levels | Temperature C° | Food type |
| 1 & 2 | 100 C° | Roasted food, Simmering (eg: sauces) |
| 3 & 4 | 150- 200 C° | Pancakes scrambled eggs, bacon, braising, stewing (eg: curry, casseroles) rice, pasta, steaming foods (eg: vegetables) |
| 5 | 240 C° | Stir-frying, grilled foods, pizza, shallow frying |
| Thermostat | Warming function |
- It takes 5-10 minutes after the unit is switched on before the control light will be on. You can then start cooking the food.
- Once cooking is complete, the unit can be kept warm. To do this, set the temperature regulator to the thermostat level.
- The control light may come on and off during your cooking process. This is not an error. The temperature regulator is automatically functioning and regulating the temperature.
Cooking tips:
Stewing:
- When used on low heat, the electric frypan is ideal to make hearty stews and casseroles as well as curries.
- Keep the lid on when stewing and remove the lid to stir your ingredients.
Steaming:
- If using a metal rack, take care not to scratch the surface of the electric frypan. Ideally, use a silicone steamer basket or insert.
- Check the liquid level at regular intervals and add more hot water if further steaming is required.
- Do not allow the liquid inside the electric frypan to touch the steaming rack or food.
- Add 2 cups of water or liquid stock to the electric frypan.
- Pace your steaming rack into the electric frypan.
- Pre-heat the electric frypan on temperature levels 3 – 4 until the liquid is simmering.
- Place the food to be steamed into the steaming rack.
- Place the lid on the electric frypan and simmer until the food is cooked as desired.
- When removing the lid, take care to lift it away from you.
Shallow frying:
- When used on heat levels 4 – 5, use approx. 1 – 1.5 cups of oil to shallow fry crispy cooked foods – such as chicken strips, mini spring rolls or dim sims, homemade chips, etc.
- Cook food until golden in color and flip food (turn over) to ensure it is cooked evenly.
- Do not cover the electric frypan with the lid when shallow frying.
Deep frying:
- When used on heat levels 4 – 5, fry your food in batches to prevent the oil temperature from decreasing and preventing food from becoming soggy.
- Food suitable for deep frying should be coated with breadcrumbs or batter.
- Before adding the food, preheat the oil to the desired temperature.
- Do not cover the electric frypan with the lid when deep frying.
Sir-fry:
- It is recommended to stir fry meat on the highest heat setting.
- The cooking method for stir-frying is to toss food continuously to expose all the ingredients to heat to ensure a quick and even cooking result.
- Do not overfill the electric frypan, cook in smaller batches, and re-heat food together at the end of stir-frying the batches. If using this method, under-cook your food slightly so that when re0heating the finished meal is not tough.
- Stir-fry vegetables before meat in a little oil or sprinkling of water briefly so they retain crispness and remain vivid in color.
- Stir-frying is best suited to tender cuts of meat as it uses a dry heat cooking method.
- Cooking times are dependent on the thickness and size of the cuts of meat.
- Thicker and larger pieces of meat will need more cooking time.
- Thin meat strips between 5 – and 8 cm are recommended for stir-frying.
- Toss the stir-fried meat in a small amount of oil before cooking
- Meat should be stir-fried in small batches (up to 300g). This avoids the meat stewing in its own juices and becoming tough. Cooking in small batches also helps the heat in the electric frypan remain at a constant level to ensure the meat does not become tough from stewing in its own juices.
- Stir-fry meat for between 1 – 2 minutes.
- Remove a cooked batch of meat and then wait for the electric frypan to re-heat before stir-frying the next batch of meat.
- If you are cooking meat strips that have been marinated, drain off the marina before stir-frying to prevent the meat from stewing.
- Serve your stir-fry quickly after cooking for a crisp, hot and tasty meal.
Using the lid:
- Use the glass lid where possible when cooking all food types.
- The lid prevents smells from escaping and reduces cooking time.
Note:
- The glass lid has a vent through which hot steam can escape.
- Avoid contact with this escaping steam.
- The lid can become extremely hot during operation therefore use oven gloves, etc. where possible when removing the lid to avoid burns.
- When removing the lid, take care to lift it away from you.
After use:
- Set the temperature regulator to the 0 levels and pull the plug out of the mains powerpoint.
- Allow the unit to cool down thoroughly before cleaning it.
Cleaning:
- Clean the electric frypan after use with a damp soft cloth or damp paper towel.
- If it is difficult to remove residue on the electric frypan, put a little water in the electric frypan and turn it on. The electric fry pan will be heated, and the residue can be rubbed away.
- Do not use any aggressive detergents, thinners, brushes with metal or nylon bristles, or sharp objects such as knives or spatulas when cleaning the unit.
- To clean the thermostat controller, wipe it with a dry soft cloth or paper towel.
- To clean the lid, wipe it with a damp soft cloth or damp paper towel with a little detergent. Rinse it and dry it thoroughly after use.
- Do not put the electric frypan or thermostat controller into the water.
- Always dry the unit thoroughly after cleaning it and before storing it away.
- None of the parts for the electric frypan are dishwasher safe.
To clean stubborn stains:
- Add ½ cup of lemon juice and 2 cups of water to the electric frypan.
- Put the lid on the electric frypan. Then, turn the electric frypan on to heating level 2.
- Allow the liquid to heat up and simmer for 10 minutes.
- Then turn the electric frypan off and disconnect it from mains power.
- Tip the liquid out and wash the electric frypan in warm soapy water with a damp soft cloth.
- Do not submerge the electric frypan into water.
Discoloration:
Regular high heat cooking may discolor the non-stick surface, this is normal and will not affect the performance of the non-stick coating.
Troubleshooting:
| PROBLEM | POSSIBLE CAUSE/SOLUTION |
| The device does not work | • Is the device plug inserted correctly in the connecting socket for the device plug? • Is the mains plug inserted in the plug socket correctly? • Is the plug socket defective? Try another one. • Check the fuse of the mains connection. |
| Development of odors or smoke | • When the device is first used: Any coating residues that may remain may result in a small amount of odor or smoke development. This is normal. Allow the device to heat up for approx. 15 minutes. • The device has already been used: Is the electric frypan dirty? Clean the electric frypan. |
Recipes to get you started:
Chicken and capsicum stir-fry with oyster sauce
Ingredients:
- 500g chicken breast strips
- 3 tablespoons oyster sauce
- 2 tablespoons sherry cooking wine
- ¼ teaspoon ground black pepper
- ¼ teaspoon salt
- ½ cup chicken stock
- ½ teaspoon cornstarch
- 1 ½ cups red capsicum, chopped and deseeded
- 3 tablespoons cooking oil
Method:
- Combine oyster sauce, sherry cooking wine, ground black pepper, and salt in a bowl. Mix well.
- Add the thinly sliced chicken. Marinate for 10 minutes.
- Heat 1 tablespoon of cooking oil in the electric frypan.
- Once the oil becomes hot, stir-fry the capsicum for 1 minute. Remove from the electric frypan and set aside.
- Pour the remaining cooking oil onto the electric frypan. Once the oil gets hot, put the marinated chicken in the pan. Disregard the remaining marinade. Stir fry for 2 minutes or until the chicken turns light to medium brown.
- Add the cooked capsicum. Continue to stir-fry for another 30 seconds – 1 minute.
- Combine the chicken stock and cornstarch. Mix well and then pour into the electric frypan.
- Stir-fry until the texture of the sauce thickens.
- Transfer to a serving plate. Serve with rice or noodles.
Chicken and cashew stir-fry
Ingredients:
- 500g chicken breast strips
- 1 raw egg, beaten
- 1 cup cornstarch
- 1 red onion, sliced
- ½ cup red capsicum, cut into strips, and deseeded
- 1½ cups broccoli, cut into bite-sized pieces
- 2 tablespoon soy sauce
- 2 tablespoon cooking rice wine
- 1 tablespoon oyster sauce
- ½ cup cashew nuts, roasted
- ½ cup spring onion, chopped
- ¼ cup cooking oil
Method:
- Beat the egg and pour over the chicken strips then mix well until properly distributed.
- Heat the electric frypan and add the cooking oil
- Dip the chicken strips (coated with egg) in corn starch and stir fry until the color of the chicken turns golden brown. Set aside.
- In an electric frypan, add some cooking oil and allow to heat up.
- Stir-fry the onion, capsicum, and broccoli.
- Add the cooking rice wine, soy sauce, and oyster sauce then allow to cook for a few minutes.
- Add the stir-fried chicken and cook for 2 minutes while mixing with the rest of the ingredients.
- Add the cashew nuts, spring onion, salt, and ground black pepper.
- Transfer to a serving plate. Serve with rice or noodles.
Beef curry
Ingredients:
- 500g beef strips
- 1 red onion, sliced
- 1 tablespoon cooking oil
- 1 red capsicum, chopped and deseeded
- 1 tbsp madras curry powder
- 2 level tbsp tomato puree
- ½ a butternut pumpkin, peeled and chopped into bite-sized pieces
- 250g mushrooms, halved
- 275ml beef stock
- 150g natural yogurt
- Chopped fresh coriander, to serve
Method:
- Heat the electric frypan and add the cooking oil.
- Add the onion and stir-fry until partially cooked.
- Add the beef strips to the electric frypan with the capsicum and stir-fry for 2 minutes.
- Add the curry powder and tomato puree and mix well.
- Add the pumpkin and mushrooms to the electric frypan and mix well.
- Pour in the stock and mix well.
- Add the lid to the electric frypan, and reduce the heat level to 3.
- Cook for 25 minutes. Mix well occasionally.
- Transfer to a serving plate
- Serve the curry drizzled with yogurt and scattered with coriander, with rice on the side.
Old fashioned beef stew
Ingredients:
- 1.5 kg diced beef pieces
- 3 tablespoon cooking oil
- 2 teaspoon salt
- 1 tablespoon freshly ground pepper
- 2 red onions, chopped
- 1/4 cup flour
- 3 garlic cloves, minced
- 1 cup red wine
- 3 cups beef stock
- 1/2 tsp dried rosemary
- 1 bay leaf
- 4 carrots, peeled, cut into 2.5cm slices
- 2 stalks of celery, cut into 2.5cm slices
- 3 large potatoes, peeled, cut in eight
Method:
- Heat the electric frypan and add the cooking oil. Add the diced beef pieces and stir-fry until they are browned.
- Add the salt and pepper while browning the beef. Mix well.
- Reduce the heat level to 3 and add the flour while cooking and mixing for 2 minutes.
- Add the garlic and mix well. Add the wine and mix well.
- Allow the contents to simmer for 5 minutes and mix well constantly. The mixture will begin to thicken.6. Then add the bay leaves, rosemary, and beef stock. Mix well.
- Reduce the heat level to 1. Put the lid on the electric frypan and cook for 45 minutes, mix well every 10 minutes.
- Remove the lid carefully and add the potatoes, carrots, and celery and mix well.
- Simmer covered for 30 minutes or until the beef and vegetables is tender.
- Turn off the heat and allow the stew to sit before serving. Mix well and serve with mashed potatoes.
Beef black bean
Ingredients
- 500g beef strips
- 1 tablespoon grated ginger
- 2 cloves garlic, crushed
- 2 red onions, finely sliced
- 2 red capsicums, deseeded, sliced
- 300g snow peas, trimmed
- 125g baby corn, halved
- 1 handful of green beans, cut into 4cm lengths
- 1/2 cup reduced-salt chicken stock
- 2 tablespoons tinned black beans
- 2 tablespoons reduced-salt soy sauce
- 4 teaspoons of cooking oil
Method
- Combine beef, ginger, garlic, and onion in a bowl and marinate for 5 minutes.
- Heat the electric frypan and add 2 teaspoons of cooking oil.
- Stir-fry the capsicum, snow peas, corn, and green beans until just tender. Then, remove from the electric frypan and keep aside.
- Combine stock, black beans, and soy sauce in a small bowl.
- Add the remaining cooking oil to the electric frypan.
- Add the beef mixture.
- Stir-fry for 2 – 3 minutes.
- Add the black bean mixture and vegetables to the electric frypan.
- Toss to combine and heat.
- Transfer to a serving plate. Serve with rice or noodles.
Thai pork mince
Ingredients
- 1 tbsp oil
- 1 x 500g pork mince
- 1 red pepper, deseeded and sliced
- 250g chestnut mushrooms, quartered
- 2 tablespoons from a jar of Thai base paste
- 2 tablespoons cornflour
- 300ml chicken stock
- 1 tablespoon Thai fish sauce
400g pack beansprouts, rinsed - juice of 1 lime
- 2 tablespoons chopped coriander leaves
Method
- Heat the oil in the electric frypan.
- Add the pork mince and stir-fry until cooked. Ensure it is broken up and not in clumps.
- Add the red pepper, mushrooms, and Thai base paste and stir fry for a further 2 minutes
- Mix in the cornflour and stir.
- Add the chicken stock and Thai fish sauce.
- Lower the heat and simmer uncovered for 10 minutes.
- Add the bean sprouts to a serving plate.
- Stir the lime juice into the pork mince.
- Add the pork mince to the bean sprouts on the serving plate.
- Serve with rice or an Asian salad.
- Stir the lime juice into the pork mince.
Sweet and sour pork
Ingredients
- Sunflower or canola oil for deep frying
- 450g pork fillet – cut into 2.5 cm cubes
- 1 tablespoon sake
- 3 tablespoons plain flour, sifted
- 1 medium egg, lightly beaten
- 2 red capsicums, deseeded and cut into 2.5 cm pieces
- 1 bunch of spring onion, trimmed and cut into 2.5 cm pieces
- 225g can bamboo shoots, rinsed and drained
- 1 x 440g can unsweetened pineapple chunks in juice – drained but keeping the juice aside.
- 1 tablespoon cornflour
- 1 tablespoon soy sauce
Sweet and Sour Sauce:
- 2 tablespoons cornflour
- 100ml water
- 4 tablespoons soft brown sugar
- 2 tablespoons soy sauce
- 6 tablespoons rice wine vinegar or white wine vinegar
- 2 tablespoons tomato ketchup
Method
- Place cubed pork into a bowl. Add sake and soy sauce and mix well. Set aside.
- Make the batter for the pork. Sift the flour into a medium-sized bowl. Make a well. Drop the beaten egg into the well and beat until the mixture is smooth. Set aside.
- Make the sweet and sour sauce. Place the cornflour into a small saucepan. Mix in the water, sugar, soy sauce, vinegar, and ketchup over low heat. Simmer gently until the mixture has thickened, stir it constantly for 2 – 3 minutes.
- Remove the cubed pork from the marinade and place it on a plate.
- Dust 1 tablespoon of cornflour over the pork and then mix it into the batter.
- Heat the sunflower or canola oil in the electric frypan on high heat.
- When the oil is very hot, deep fry the batter-coated pork in small batches. Each batch should take 2 – 3 minutes.
- Once each batch is a deep golden color, remove it from the oil in the electric frypan and drain it on a paper towel.
- Then add all the cooked pork back to the electric frypan and deep fry for an additional minute.
- Remove the cooked pork from the oil and set it aside.
- Drain the used cooking oil from the electric frypan.
- Heat another two tablespoons of sunflower or canola oil in the electric frypan. When the oil is sizzling hot, add the capsicum, spring onions, and stir-fry for a minute.
- Add the bamboo shoots and pineapple chunks to the electric frypan. Mix the electric frypan contents.
- Add the sauce and mix well.
- Add a little of the pineapple juice to the mix if you want a more saucy mixture.
- When the sauce mix is bubbling, add the cooked pork and mix well so that the pork is coated with sauce.
- As soon as the pork is coated with sauce, remove it from the electric frypan.
- Transfer to a serving plate. Serve with rice or noodles.
Doughnut balls
Ingredients
- 500g plain flour
- 1 teaspoon baking powder
- 70g butter
- 70g caster sugar or cinnamon sugar
- 1 Egg
- Pinch of nutmeg
- 250 ml milk
- Vegetable oil for frying
Method
- Sift the flour, baking powder, and nutmeg into a bowl.
- Use your fingers to rub the butter into the flour, the flour and butter should be crumbly.
- Mix in the sugar.
- Beat the egg and milk together in a separate bowl.
- Make a well in the flour mixture, then pour in the egg and milk mixture.
- Mix all together to form a soft dough.
- Roll the dough out onto a well-floured surface.
- Roll the dough into 2cm lengths and use a knife to cut the lengths into 2 cm pieces.
- Add the oil to the electric frypan and heat it on the highest setting.
- When the oil is sizzling hot, add the doughnut pieces. Cook a few at a time.
- Fry for about 30 seconds and then turn over and fry for another 30 seconds or until golden brown.
- Drain on some paper towels.
- Roll the doughnut balls in the sugar or cinnamon sugar.





















