SESSAK LIGHTING K22812-6 Mario Ceiling Lamp

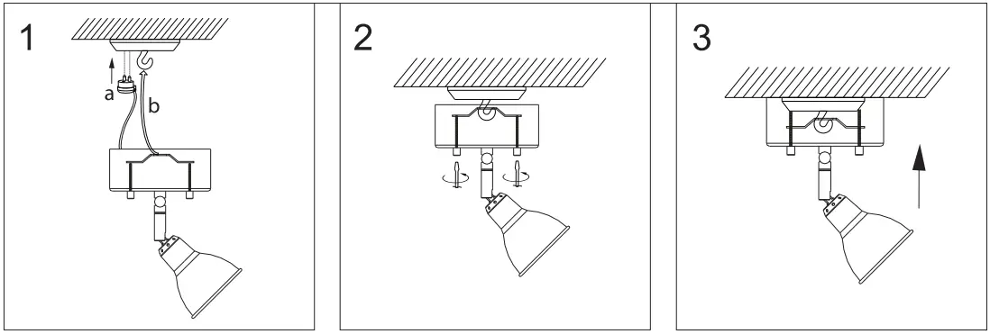
Read the entire instructions before installing the luminaire Save the instructions for potential future need. Disconnect the electrical power-supply before installation or service.
Symbols
Symbols that .POTENTIALLY can be found on the lumlnalre and their meaning. CHECK the lumlnalre.
![]() | Class I. The luminaire must be connected to protective earth. |
![]() | Class II. The luminaire is double-insulated and is not to be connected to protective earth. |
![]() | The product conforms with health, safety, and environmental protection standards for products sold within the EuropeanEconomic Area (EEA) |
![]() | The protective earth cable (usually yellow-green) is connected to the terminal identified by this symbol. |
| The phase (live) cable (usually brown) is connected to the terminal identified by this symbol (L) |
| The neutral cable (usually blue) is connected to the cable identified by this symbol (N) |
![]() | States the minimum distance in meters to the area that is to be illuminated, TAKE INTO ACCOUNT doors, widows etc., that could possibly come within this distance when they are opened. |
![]() | Ingress Protection class 21 (protection against dripping water) |
![]() | Ingress Protection class 44 (protection against splashing water) |
| The HIGHEST ALLOWED power of the bulb(s) in Watts |
![]() | Only for indoor use |
![]() | Is NOT to be thrown away with household waste. You can help in the protection of the enviroment by taking discarded products to a recycling-station intended for them. |
Instalaltion Instructions





























