BACKSCATTER Mini Flash 2 Underwater Strobe plus Light

THE ULTIMATE COMPACT STROBE
DOWNLOAD INSTRUCTIONAL VIDEO
WARNING
NEVER TRAVEL WITH BATTERY INSTALLED
BATTERY & 0-RINGS
The Mini Flash 2 is designed to only use premium quality lithium ion 21700 batteries with a minimum of BA high output batteries and safety circuit.
WARNINGI NEVER USE AN UNAPPROVED 21700 BATTERY
If you have approved 18650 batteries left over from a Mini Flash 1, you can utilize these with a battery adapter sleeve (optional accessory), however performance and run time of the strobe will be greatly diminished. It is recommended to upgrade to a 21700 battery for best performance. Please see our Battery FAQ section for full details.
Prior to installing a battery, twist off the battery compartment, remove the double O-rings and clean the O-rings and the grooves on the battery compartment. Lightly grease the O-rings with the provided O-ring grease and re-install the O-rings on the battery compartment. 
INCLUDED ITEMS

- Backscatter Mini Flash 2 Strobe
- YS Style Mount with Fixing Bolt & Knob
- 1-inch Ball Mount with Bolt & Washers
- Wide Angle Diffuser (-2.0 f-stop)*
- Light Pipe (for remote operation)
- Spare O-rings (2)
- O-ring Grease
- 3116-inch Hex Wrench
BATTERYAND CHARGER SOLD SEPERATELY
*Installed on Strobe
Slide your approved 21700 battery into the battery compartment with the positive(+) button facing up. Inspect and clean the strobe body threads and slowly twist the battery compartment into place, careful not to cross thread the strobe body. 
Verify you have fully twisted the battery compartment until it stops.
PRO TIP: Lightly grease the battery compartment threads to prevent wear and corrosion during heavy use.
WARNING
IF YOU SEE WAJER INTRUSION OR CORROSION IN THE BATTERY COMPARTMENT OR THE STROBE BODY, STOP USE IMMEDIATELY AND CONTACT US.
ONLY USE APPROVED BATTERIES: We recommend Xtar 21700 S000mAh battery. Batteries are available from Backscatter or Backscatter Authorized Dealers.
NEVER CHARGE BATTERIES UNATTENDED: Never go to sleep or leave charging batteries unattended. Lithium battery charging could be deadly.
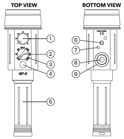
NAME OF PARTS

- Power Intensity Knob Mode Dial LED Indicator Light Focus Light Button Battery Compartment
- ¼-20 Inch Mounting Point Mounting Alignment Points Fiber Optic Port Threaded Light Pipe Mount
FIBER OPTIC CABLE
The mini flash 2 is compatible with any Sea & Sea style fiber optic cable Plug one end of the cable into the Mini Flash 2 and the other end into the
fiber optic adapter of the camera housing.
AUTO STAND-BY (15 MINUTES)
When the LED Focus Light is off and the Mini Flash 2 has not fired for more than 15 minutes, it will enter stand-by mode to conserve battery power. To exit Stand-by mode and resume normal operation, activate any control or fire a flash with the camera.
AUTO-OFF SAFETY (2 HOURS)
The Mini Flash 2 will automatically power off when inactive for more than 2 hours. Wake-up the Mini Flash by cycling the mode dial off and on.
MOUNTING OPTIONS
Choose the ball mount for standard 1-inch aluminum arms and install with the included hex wrench. Choose the YS mount for Backscatter Flex Arms and install with a flat head screwdriver. Third party ball adapters are also compatible with the YS mount.

REQUIRED BATIERY & CHARGER
The Mini Flash 2 was designed and tested with these approved batteries.
Batteries other than these listed below are not approved for use in the Mini Flash 2.
Approved 21700 Batteries:
Xtar 21700 5000mAh
See www.backscatter.com/MF-2-Supportforapproved batteries and chargers.
OPTIONAL ACCESSORIES
All accessories that work with the Backscatter Mini Flash 1 and Backscatter
Macro Wide 4300 Video Light also work with the Backscatter Mini Flash 2.
- Backscatter Optical Snoot OS-1
- Backscatter Color Filter System
- Backscatter Dome Diffuser for Wide Angle Photography
- Backscatter Remote Lighting Muck Stick
1000 LUMEN FOCUS LIGHT
Press the silver button to toggle brightness levels of the focus light. With maximum output of 1000 lumens. As the battery is depleted brightness level options will decrease from 4, 3, 2, and finally a low safety power level.
Battery levels are managed to allow for over 90 minutes of burn time even with hundreds of strobe flashes.
The Brightest Snoot Light – What You See is What You Get
The Mini Flash 2 packs even more punch than the original Mini Flash 1. Now with 1000 lumens, aiming the Backscatter Opt ical Snoot has never been easier. We recommend power level (2) or (3) for most situations, but power level (4) will help your aim even in the brightest shallow water conditions.
MANUAL (MOST POPULAR)
This is the recommended basic mode for most shooters and all camera brands other than Olympus.
Set the black mode dial to “M” for Manual mode.
Take a photo with your camera. The Mini Flash 2 will learn whether your camera is set to single flash or preflash. When taking this shot, do not use continuous shooting. This could cause the Mini Flash 2 to have a false reading.
The red power dial controls the flash output, 7 is maximum power and 1 is the lowest.

Pro Tip: If your camera allows, set the internal flash to manual with a low power level. This will allow the camera to fire faster and use less camera battery.
HIGH SPEED SYNC (HSS)
HSS is being able to shoot a flash at speeds faster than the sync speed of the shutter. This only applies to mirrorless and SLR cameras. Compact cameras do not have mechanical shutters and thus don’t have an upper limit on flash sync speed. In this mode, the flash can sync with shutter speeds up to 1/8000, allowing for a wider open aperture while still maintaining a darker background. A 3rd party compatible flash trigger is required for HSS operation. Contact Backscatter or a Backscatter Authorized Dealer for information on the latest compatible triggers.

Note: Some camera brands may exhibit banding in out-of-focus backgrounds lit by the flash at higher shutter speeds. If this occurs, use a slower shutter speed.
Note: The HSS mode is only intended for use with 3rd party flash triggers that support HSS firing for non-Olympus cameras. To use HSS with Olympus cameras, please follow the instructions for using Super FP in SC mode.
Pro Tip: FP or HSS results in diminished flash output compared to normal shooting. Only use it for close-up shooting. The flash will get more diminished the faster the shutter speed is set. Best practice is to set the Mini Flash 2 to maximum output and change the shutter speed to dial in the flash exposure.
Settings for HSS on Non-Olympus Mirrorless and SLR Cameras:
Turn the mode dial on the Mini Flash 2 to HSS.
Set the 3rd party flash trigger to the appropriate setting for HSS for use with the mini flash. Follow the 3rd party flash trigger manufacturer’s instructions for HSS compatibility and proper settings.
The Red dial on the Mini Flash 2 will control the flash output. Only power levels 7, 6, and 5, are available. 4 and lower will output the same as level 5.
SMART CONTROL (SC & SC &)
AUTOMATIC FLASH (TTL) FOR OLYMPUS
Smart Control modes (SC and SC ,Ill,) provide very accurate automatic TTL exposures with Olympus cameras even when using the Backscatter Optical
Snoot. Follow the instructions below to select the best SC mode and to properly configure your Olympus camera menu settings.
SC Mode
Select SC Mode for automatic TTL exposure of larger subjects such as fish portraits, turtles, and small reef scenes.
SC Mode
Select SC ,Ill, Mode for more accurate automatic TTL exposures of small macro subjects that are close to the camera. For TG cameras, use SC mode when in Microscope mode or AF Super Macro. For mirrorless cameras, use this mode when shooting close-up macro (such as subjects smaller than a golf ball), especially with wider apertures.
Note: On compatible TG and mirrorless models, TTL exposure compensation is controlled with the camera. The Mini Flash 2 red flash power dial has no function when the camera is set to TTL.
Note: On some Olympus mirrorless camera models the flash sync speed is reduced in RC mode to 1 /160.
Note: Olympus mirrorless cameras must either use the popup flash or a compatible RC flash trigger for TTL to work. TTL with the Mini Flash 2 is only compatible with Olympus or OM Systems cameras.
Required Camera Menu Settings for SC and SC ~ Modes
SC and SC ,Ill, modes on the Mini Flash 2 require that your Olympus camera be set to RC mode. Most cameras do not have RC mode turned on by default. Select your camera from the setting guides below.
Required Camera Settings for Olympus TG-1 to TG-4 Cameras:
Go to Camera Menu —> Accessory Settings —> Remote Flash —> RC.
Then press the flash icon button on the 4-way control and set the flash to RC.
Required Camera Settings for Olympus TG-5 and TG-6 Cameras:
Press the flash icon button on the 4-way control and set the flash to RC.
Required Camera Settings for Olympus Mirrorless Cameras:
Go to Camera Menu —> RC Mode ON, then exit Menu.
Press the OK button. If the RC menu does not initially pop up, press the INFO button to toggle the view to the RC menu.
The Mini Flash operates on Group A, Channel 1. Set the camera RC menu to TTL in group A.
LISTEN FOR MAX EXPOSURE WARNING BEEP: The strobe will sound a warning beep to alert you that the flash has fired maximum output. If the resulting image is too dark, get closer, increase ISO, open up the aperture, or do a combination of all 3 to get the strobe back into a usable range.
SMART CONTROL (SC & SC )
SUPER FP (HSS) FOR OLYMPUS
Super FP (HSS) For Olympus Mirrorless Cameras
Mini Flash 2 SC and SC ,Ill, modes also allow Olympus mirrorless cameras to use Super FP (also known as High Speed Sync or HSS). Super FP allows for flash photographs at shutter speeds faster than the normal maximum sync speed of the camera. This allows for shutter speeds up to 1/8000, allowing for a wider open aperture while still maintaining a darker background.
Super FP is not available on TG cameras as compact cameras do not have mechanical shutters.
Pro Tip: Super FP results in diminished flash output compared to normal shooting. Only use it for close-up shooting. The flash will get more diminished the faster the shutter speed is set. Best practice is to set the Mini Flash 2 to maximum output and change the shutter speed to dial in the flash exposure.
Camera Settings for Super FP for Olympus Mirrorless Cameras:
Make sure the camera is in RC mode and access the RC flash menu (see TTL for Olympus mirrorless shooters for setup)
In the RC flash menu, change the flash icon to FP Set the Group A flash mode to either TTL or M. While TTL is possible in Super FP mode with Olympus mirrorless cameras, it is recommended to shoot manual flash exposure.
The Red dial on the Mini Flash 2 will control the flash output. Only power levels 7, 6, and 5, are available. 4 and lower will output the same as level 5.
HIGH SPEED SYNC (HSS)
HSS is being able to shoot a flash at speeds faster than the sync speed of the shutter. This only applies to mirrorless and SLR cameras. Compact cameras do not have mechanical shutters and thus don’t have an upper limit on flash sync speed. In this mode, the flash can sync with shutter speeds up to 1/8000, allowing for a wider open aperture while still maintaining a darker background. A 3rd party compatible flash trigger is required for HSS operation. Contact Backscatter or a Backscatter Authorized Dealer for information on the latest compatible triggers.

REMOTE LIGHTING CONTROL (REM)
The Remote Lighting System of the Mini Flash 2 allows you to use a camera mounted Mini Flash 2 strobe to wirelessly rigger and change the brightness
of a remotely placed Mini Flash 2. This is a great way to achieve side lighting, backlighting, or remote snooting on a tripod or Backscatter Remote Lighting Muck Stick without having to reach the remote flash to change power levels and provides the freedom to frame shots completely untethered.
A minimum of two Mini Flash 2 strobes are required for remote operation. The camera mounted flash is the “main” flash connected to the camera by fiber optic cable that will send the power level control signal and trigger the “remote” flash or flashes. The remote flash requires the installation of the included Light Pipe for wireless operation.
Note: While in REM mode the Red dial on the Mini Flash 2 has no function, only the main flash will change the power level.
Note: The Light Pipe rubber lanyard is only compatible with the 1 inch ball mount, it is not compatible with the YS mount.
Set Up and Install the Light Pipe on the Remote Flash
Stretch the rubber lanyard of the Light Pipe over the 1 inch ball mount
Press and thread the Light Pipe into the remote Mini Flash 2 fiber optic socket.
Set mode dial to Remote (REM).
Attach Mini Flash 2 to the Backscatter Remote Lighting Muck Stick or tripod and aim at the subject.
Rotate the Light Pipe to aim directly at the main flash.
Set Up the Main Flash On Camera
Connect the main Mini Flash 2 with a fiber optic cable to your camera system.
Set Mode Dial to Manual (M).
Aim the main strobe toward the remote Light Pipe of remote strobe.
Use the Silver Button to Send Power Level Changes Wirelessly
Make sure the main flash and the Light Pipe of the remote flash are facing each other and are within line of sight.
To send a flash power level setting from the main flash to the remote flash, set the desired power level to be sent to the remote flash on the main flash Red dial, then press and hold the silver button. You will see a series of light signals from the main flash and the remote flash will fire immediately. A confirmation flash from the remote flash about a second later will indicate the remote flash has received the power level signal.
Once the main power level signal has been set the remote flash will stay at that power level until a new power level signal has been sent.
When taking a picture the main flash will trigger the remote flash. The remote flash will stay at the same power level until a new power level change signal is sent by the main flash. This allows the freedom to use the main flash for front lighting at any power level desired, while maintaining a different power level setting for the remote flash
CONTROL YOUR SECOND STROBE WIRELESSLY:
Press the silver button to beam a new power level to your off camera wireless second Mini Flash 2. Rotate the light pipe to make any position work.
TEST
TEST mode allows for the Mini Flash 2 to be fired at any desired power output with the press of the silver button. This is a great way to do light painting with long exposures instead of a video light. Another photo use is to do a long exposure and fire the flash multiple times on a subject for a “stroboscopic” effect.
TEST mode can also be used as an emergency signaling device topside and underwater.
Turn the mode dial to TEST.
Select a flash output level with the Red dial.
Press and release the silver button.
The LED lights can be used with TEST mode. Turn on the LED lights in another mode then switch to TEST. The LED lights will keep the same setting from the other mode. To turn off the LED lights or set another power level, turn the mode dial to another mode, then adjust the output of the LED lights with the silver button.
EMERGENCY BEACON
TURN MODE DIAL TO TEST. PRESS AND HOLD SILVER BUTTON FOR 2 SECONDS.
The Mini Flash 2 has an emergency beacon feature that will flash the LED lights once every 2 seconds. A full battery will last up to 12 hours in beacon mode.
- Turn the mode dial to TEST.
- Press and hold the silver button to activate beacon mode.
- Beacon mode will continue to flash the LED until the mode dial is changed or the silver button is pressed.
INDICATOR LIGHT CHART
Please review the chart below for the indicator lights and description.
When the Mini Flash 2 is recharging after firing a shot, the Battery/Ready Indicator will blink blue. When the charge recycle process is completed and the Mini Flash 2 is ready to trigger the next flash, the Battery/Ready Indicator color will show on green, yellow, red or blinking red depending on the battery level.
Battery FAQ For Lithium Ion (Li-Ion) Batteries to use with the Mini Flash 2
A catastrophic battery accident can result in fire, explosion, injury, and death, even when all precautions have been taken. Please read the following FAQ about battery usage and safety precautions to minimize that risk.
What battery should I use for the Backscatter Mini Flash 2?
We only recommend the XTAR 21700 5000mAh Li-Ion for use with the Backscatter Mini Flash 2. The Mini Flash 2 was developed with this battery in mind and thus the only one we officially recommend for the safety and proper performance of the Mini Flash 2. If you have XTAR 18650 batteries from the previous Mini Flash model (MF-1 ), these can be used with an optional adapter sleeve (purchased separately), however strobe functionality will be diminished. When using an 18650 battery, the Mini Flash 2 will result in less strobe flashes and a shorter LED focus light runtime when compared to usage with the proper 21700 battery.
Where can I purchase an XTAR 21700 SOOOmAh Li-Ion battery?
Since it is a standard battery type, XTAR 21700 5000mAh Li-Ion batteries are available at Backscatter, Backscatter Authorized Dealers, and many other retailers worldwide.
I see other 21700 batteries all over the internet selling for super cheap that are like $5, why can’t I use those? Are you guys trying to rip me off?
Those cheap batteries are unprotected and not designed for end use by consumers and do not have important safety protections built in. They can sometimes be identified by having no branding on the label, or by a plain single-color battery jacket with dot matrix printing. Unprotected batteries
without safety protections are much cheaper to produce than batteries with protection circuitry. The XTAR 21700 5000mAh Li-Ion battery is the only approved battery for the Mini Flash 2.
What is the difference between a “protected” battery and an “unprotected” battery, and why should I always use a protected battery?
Protected Lithium-Ion batteries have an electronic circuit built into the battery cell packaging. This circuit protects the battery against overcharge, overdischarge, short circuit, over-current, and extreme temperature fluctuations.
Protected batteries are safer to use than unprotected batteries that do not have these safety features built in. Unprotected batteries have no built-in safety protections which can result in fire, explosion, injury, or death in the case of failure due to overcharge, over-discharge, short circuit, over-current, or temperature, even when every precaution has been taken. Unprotected 21700 batteries are not designed for consumer use, so do not use it. Only use protected batteries designed for consumer use.
Why are unprotected batteries sold if there are greater safety risks versus a protected battery?
21700 batteries are a very common and popular Li-Ion battery not only made for end-use consumers but also used by manufacturers to combine multiple units into a larger battery pack for anything from flashlights to electric cars.
Did you know Tesla electric cars are running on battery packs made up of thousands of 21700 batteries? It is up to those manufacturers to build in their own safety precautions for their custom-designed battery packs.
Why should I always charge the battery in a common area when people are around?
Although battery failures are rare, it can be catastrophic. The charging process is a critical operation. Most Li-Ion battery failures that occur happen during charging. Never charge in sleeping quarters, below boat decks, or in other unmonitored or unoccupied areas. In case of emergency, you want someone around to be able to take action. While it is rare for a battery to fail when all proper safety precautions have been taken, the consequences are too great to ignore.
How do I store batteries when not in use?
Batteries should be stored in a battery storage box designed specifically for 21700 batteries. A proper box will provide impact protection and keep batteries isolated so the battery contacts cannot be bridged and cause a short.
What do I do if the battery has physical damage or water damage?
Immediately stop using the battery, as it is now a safety hazard. Immediate action needs to be taken to safely dispose of the battery. If at home, take it immediately to an authorized battery recycling center or hazardous materials disposal site. If at a resort or a live aboard boat, notify resort management or boat captain immediately so that they may safely dispose of the battery.
If on land and unable to take it to an authorized battery recycling center, place it in a fireproof box and store it outside in an open area away from any sources of fuel or ignition until a time when the damaged battery can be taken to an authorized battery recycling center. Never dispose of batteries in the garbage or trash.
I suspect water has intruded the battery compartment and/or strobe.
What should I do?
Immediately discontinue use of the Mini Flash 2 and remove the battery as soon as practically possible. Even though the Mini Flash 2 has an overpressure relief valve in case of overpressure, take extra precaution when opening the battery compartment, as it may be over-pressurized. Use a damp towel to cover the Mini Flash 2 before opening to protect yourself and others.
If I have water intrusion into the battery compartment, can I dry it out and use a new battery?
Maybe. The battery compartment is sealed from the rest of the flash for safety. After water intrusion, rinse the battery cap and battery compartment of the Mini Flash with fresh water. When the battery cap and contacts are completely dried and cleaned free of corrosion then a new battery may be installed and the Mini Flash 2 tested for operation. However, if there is any unusual operation of the Mini Flash 2 with the new battery, immediately discontinue use, remove the battery, and contact the Backscatter service department or your local Backscatter dealer.
NEVER travel with the battery installed in the Mini Flash 2.
Can I travel with the batteries in my checked luggage?
Absolutely not. It is illegal to travel with Li-Ion batteries in the cargo hold on passenger aircraft. All Li-Ion batteries must be carried on aircraft in cabin luggage in an appropriate battery box that does not allow the battery contracts to be bridged.
Never fly with damaged batteries. Damaged batteries are banned from
ALL aircraft by law for good reason. Do not take chances. Your life and the lives of others are not worth a cheap battery!! Dispose of damaged batteries immediately!!
All this battery safety talk has me concerned.
You should be. Following these procedures and precautions can help minimize risk greatly, but there is no way to completely eliminate it. While battery failures that cause catastrophic damage, injury, and death are very rare, it is your responsibility to use the best care possible to minimize that risk to yourself and others.
Safety precautions need to be taken with
Li-Ion batteries.
Never do the following:
Never charge batteries in unattended areas.
Never charge while sleeping.
Never charge below decks of a boat.
Never store batteries below decks of a boat.
Never store batteries in the Mini Flash below decks of a boat.
Never use batteries without protection circuitry.
Never dispose of batteries in the garbage or trash.
Never put batteries in checked baggage when traveling.
Never walk around with bare batteries in your pocket, especially with
other metal objects that can easily bridge battery contacts.
Always do the following:
Only charge batteries in common areas where and when others are around.
Always remove the battery from the Mini Flash 2 when not in use.
Only use batteries designed for end use by consumers with safety protection circuitry.
Only store batteries in a battery box designed for 21700 batteries.
Always travel with batteries in cabin baggage.
ALWAYS OBEY ALL INSTRUCTIONS FROM THE BATTERY MANUFACTURER
SPECIFICATIONS
- Depth Rating: 1 00m/330ft
- Guide Number: /16
- Maximum LED Output: 1000 Lu mens
- Power: Single 21700 Xtar 5000mAh Battery
- Recycle time (full): 1.0 seconds
- Number of Flashes (full): over 2000
- LED Run Time: Minimum of 90 minutes with managed power decline curve
- Emergency Ping Run Time: 12 hours with full battery
- Weight in Air: 14.8oz/420g (with battery)
- Weight in Water: 5.29oz/150g (with battery)
- Sync Cord: Fiber Optic
- Seal: Dual O-Rings
- Exposure Control:
- Flash: 7-step Power Level
- LED: 4-step Power Level
- Dimensions With Ball (LxWxD):
- 7.95 X 2.48 X 2.32in
- 202 x 63 x 59mm
- Material: Anodized Machined Aluminum
- International Patents Pending
DISTRIBUTED BY:
225 Cannery Row, Monterey, CA. 93940
+1-831-645-1082
[email protected]
www.backscatter.com
For any support or service questions on your Mini Flash 2, please give us a call or send us an email!
DOWNLOAD INSTRUCTIONAL VIDEO
BACKSCATTER.COM/MF-2-SUPPORT
ULTIMATE UNDERWATER
LIGHTING SYSTEM

DISTRIBUTED BY: BACKSCATTER UNDERWATER VIDEO & PHOTO
- WWW.BACKSCATTER.COM
- +1-831+645+1082
- [email protected]
*ITEMS DISPLAYED NOT TO SCALE
















