ATHENA Autoclave Portable Pressure Steam Sterilizer

Product Information: Autoclave Portable Pressure Steam Sterilizer
The Autoclave Portable Pressure Steam Sterilizer is intended to be used with the Athena Flow Hood TM for plant tissue culture purposes. It is designed to steam sterilize laboratory equipment and prepare Roots TM and Shoots TM culture media. The sterilizer has a Sterilization Chamber Volume of 2.11 Gal / 8 L and is powered by AC 230V 50Hz 800w 3.63A. It has a working pressure of 15 PSI / 0.103 MPa and a working temperature suitable for the intended purpose. The sterilizer comes with a 1-year manufacturer warranty. The product comes with a warning that users should not touch the hot surfaces of the Autoclave, keep away from flammable or combustible objects, place or operate the equipment on or near a hot gas or electric burner, in a heated oven, or on an unstable surface. For proper ventilation, nothing should be close to or covering the vents around the base of the sterilization chamber. The product contains accessories that may cause injury or harm if used improperly.
Product Usage Instructions
- Place the Autoclave on a flat, stable surface.
- Plug in the power cord to the POWER INPUT connector.
- Rotate the knob counterclockwise until both latches become separated from the chamber lip. Lift up the lid assembly and carefully set it down.
- Lift up to remove the sterilization chamber.
- Fill the water chamber with 800 – 1000 mL of distilled water. Water level should reach the top of the heating coil, but not go above the base plate.
- Place your items to sterilize inside of the sterilization chamber. Carefully stack your items and try to keep gaps between them to allow the steam to fully penetrate. Total items should not exceed 80% of the capacity of the sterilization chamber.
- Make sure any container placed inside the Autoclave has the lid slightly open to allow air exchange during the sterilization cycle.
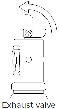
- Ensure the exhaust valve is closed by making sure the handle is rotated down in the closed position.
- Turn the knob clockwise until the latches engage with the chamber lip.
- Press the power button to start the sterilization cycle. The sterilization cycle will last for approximately 45 minutes. The equipment will automatically shut off after the cycle is complete.
- Once the sterilization cycle is complete, allow the sterilizer to cool down before opening the lid assembly.
- Lift up the lid assembly and carefully remove the sterilized items from the sterilization chamber.
The product user manual contains additional warnings and instructions that should be read before using or servicing the equipment. Users should keep the manual in a location that is readily available to users and service technicians.
1-YEAR MANUFACTURER WARRANTY
READ ALL INSTRUCTIONS BEFORE USING, OR SERVICING, THIS EQUIPMENT. KEEP THIS MANUAL IN A LOCATION THAT IS READILY AVAILABLE TO USERS AND SERVICE TECHNICIANS.
WARNING: THIS PRODUCT CONTAINS ACCESSORIES WHICH MAY CAUSE INJURY OR HARM IF USED IMPROPERLY.
Overview
INTENDED USE:
This product is intended to be used with the Athena Flow Hood™ (the Culture line of products) for the purposes of facilitating plant tissue culture. The autoclave is intended to be used for steam sterilization of lab equipment, and for preparing the Roots™ and Shoots™ culture media. The Autoclave is not suitable for any other purpose than defined herein, and is not suitable for medical purposes.
DANGER!
Read manual before use, and use only as directed. Improper use may cause injury or other damage. The heat and steam generated by the Autoclave can cause serious burns. This product generates extreme pressure when in use. Ensure the lid is secured prior to using, and pressure is released prior to opening. Failure to do so may increase the risk of serious personal injury, death, or property damage. Wear personal protective equipment (PPE) including heat-resistant gloves, lab coat, eye protection, and closed-toe shoes when operating. Keep appliances and cord away from children. Never drape cord over edge of counter, never use power outlet below counter, and never use with an extension cord. To reduce the risk of electric shock, fire, or injury, plug the power cord into a grounded electrical outlet that is easily accessible. Disconnect the power before cleaning or performing any maintenance.
WARNING:
- Do not touch the hot surfaces of the Autoclave.
- Keep away from flammable or combustible objects.
- Do not place or operate the equipment on or near a hot gas or electric burner, in a heated oven, or on an unstable surface.
- For proper ventilation, make sure nothing is close to or covering the vents around the base of the Autoclave.
- Do not add any cleaning products, chemicals, etc. in either chamber.
- Do not add water to the removable sterilization chamber.
- When the temperature reaches 121 °C, make sure to observe if the Autoclave has any air leaks around the lid. If there is an air leakage, unplug the Autoclave and contact Athena for technical support and troubleshooting.
- Keep a clear area above the Autoclave for steam pressure to release.
- Do not open the Autoclave until the internal pressure is released to 0 MPa and the temperature is at or below 121 °C. Do not force it open.
- Do not operate with a damaged cord or plug, or if the equipment is malfunctioning.
- Not for use in high temperature or humidity environments.
- Make sure what you put inside the sterilization chamber is Autoclave compatible.
- Empty used water after each use and dry the sterilization chamber, water chamber and heating coil with a microfiber cloth.
| Sterilization Chamber Volume | 2.11 Gal / 8 L |
| Working Pressure | 15 PSI / 0.103 MPa |
| Working Temperature | 250 °F / 121 °C |
| Power | AC 230V 50Hz 800w 3.63A |
| Dimensions (L x W x H) | 9.80” x 10.87” x 18.11” / 249mm x 276mm x 460mm |
| Weight | 14 lbs / 6.35 kg |
| Power Cord | 250V 10A CEE7/7 / C13 |

- A Knob
- B Gauge
- C Lid
- D Sterilization Chamber
- E Base Plate
- F Chamber Lip
- G Water Chamber
- H Controls
- I Exhaust Valve
- J Safety Valve
- K Latch
- L Power Input
Instructions
WARNING: Do not add water to the removable sterilization chamber. Only add water to the water chamber where the base plate and heating coil are.
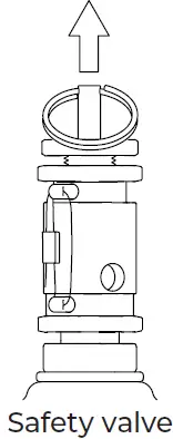
- Exhaust valves and safety valves become hot, don’t touch directly with your hands.
- Ensure the exhaust valve is closed by making sure the handle is rotated down in the closed position .

- Place the Autoclave on a flat, stable surface.
- Plug in the power cord to the POWER INPUT connector.
Note: Autoclave and Flow Hood power cords are the same, can use with either product. - Rotate the knob counterclockwise until both latches become separated from the chamber lip .

- Lift up the lid assembly and carefully set it down .

- Lift up to remove the sterilization chamber .

- Fill the water chamber with 800 – 1000 mL of distilled water. Water level should reach the top of the heating coil, but not go above the base plate.
Note: Only use distilled water or add 1 ml of Athena Cleanse to prevent scale formation inside the Autoclave. - Place your items to sterilize inside of the sterilization chamber. Carefully stack your items and try to keep gaps between them to allow the steam to fully penetrate. Total items should not exceed 80% of the capacity of the sterilization chamber.
Note: Make sure any container placed inside the Autoclave has the lid slightly open to allow air exchange during the sterilization cycle. Not doing so will damage the container. - Place the sterilization chamber back in the Autoclave. Make sure the sterilization chamber is correctly inserted inside of the Autoclave.

- Place the lid back on the Autoclave. Make sure the lid is level while placing it back on the Autoclave. Always check the blue gasket is flat, undamaged and free of bends, wear, creases, tears, etc. before using.
- Rotate the knob clockwise and make sure the latches align properly with the chamber lip. Make sure both latches are engaging the chamber lip as you’re tightening the knob .

- The exhaust valve is used to release all pressure at once. Rotate the small handle of the exhaust valve up to open the valve and release pressure. Rotate the small handle back down to close the valve before the next time you use the Autoclave.

- The safety valve is used to manually release pressure in quick, small increments. The safety valve will also auto release pressure when it becomes greater than 0.164 MPa. Before opening the lid, pull the round handle up to release any remaining pressure.

- Before sterilization, rotate the handle up on the exhaust valve. When the Autoclave begins heating and steam is discharged from the exhaust valve, rotate the handle back down. This is to exhaust the original air inside and make the sterilization process germ-free.
- After sterilization, wait for the cooling process to complete, then rotate the handle on the exhaust valve again to release the remaining pressure. The steam will condense into water and make the items wet). After the pressure is back to 0 MPa, open the lid.
- Empty used water after each use and dry the sterilization chamber, water chamber and heating coil with a microfiber cloth.
Note: T he Autoclave is programmed to provide a simple, intuitive interface. Pressing START will sterilize your items at 121 °C for 25 minutes.
- Autoclave is unplugged and power is off .

- Autoclave is plugged in and power is on. Autoclave is in standby mode.
Note: Ensure the exhaust valve is closed by making sure the handle is rotated down in the closed position - Press START to begin the pre-heating phase. The pre-heating LED will be illuminated and the display will continue to read 25:00.
Note: When you press START, the Autoclave begins to pre-heat before the actual 25 minute sterilization process starts. This usually takes 10 minutes. - Once pre-heating is finished, the sterilizing LED will become illuminated and the display will start to countdown from 25:00 .

- Once the sterilization is complete, the Autoclave will have a ten-second beep alert and begin the cooling stage. This usually takes 15 minutes .

- Once the cooling LED turns off, then the Autoclave has finished sterilizing and you can open the lid.

- DO NOT attempt to open the Autoclave lid until the cooling is finished. Allow pressure to release and allow the Autoclave to cool completely before opening the lid.
Note: Press STOP at any time to disrupt the sterilization process. Contents will not be fully sterilized.
Warranty; Limitations. Athena warrants that the Autoclave and replacement parts (“Goods”) shall be free from defects in material and workmanship under proper and normal and recommended use for a period of 1 year from the date of shipment. Goods shall be considered defective only if a defect exists that materially impairs the value of the Goods to Customer and does not comply with Athena’s specifications (or, if none, does not comply with normal industry tolerances or standards). Goods shall not be defective if the Goods comply with Customer’s instructions or if the Goods have been modified, have been subject to misuse or neglect or if the Goods are not operated in a typical fashion. In accordance with the terms of this limited warranty (“Warranty”), Athena will, at its option, either replace any such defective Goods or parts thereof or issue Customer a credit for the purchase price of the defective Goods, provided that written notice of the defect is received by Athena within 30 days of the appearance of such defect and within the 1-year warranty period. If notice is not given by the required deadlines set forth in this paragraph, any claim for breach of warranty is waived and Athena shall not be liable. Upon receipt of notice of a possible defect in the Goods, Athena shall issue instructions for their disposition. No Goods shall be returned to Athena without its prior consent. Transportation charges for return and replacement under the Warranty will be borne by Athena if the Goods are defective. Under no circumstances will Athena’s liability exceed the purchase price of the defective Goods.
DISCLAIMER OF WARRANTIES: To the extent consistent with applicable law, Athena Ag, Inc. makes no other warranties, express or implied, of merchantability or of fitness for a particular purpose or otherwise, that extend beyond the statements made on the product’s label. No agent of Athena Ag, Inc. is authorized to make any warranties beyond those contained herein or to modify the warranties contained herein. To the extent consistent with applicable law, Athena Ag, Inc. disclaims any liability whatsoever for special, incidental, or consequential damages resulting from the use or handling of this product.
LIMITATIONS OF LIABILITY: To the extent consistent with applicable law, the exclusive remedy of the user or buyer for any and all losses, injuries, or damages resulting from the use or handling of this product, whether in contract, warranty, tort, negligence, strict liability or otherwise, shall not exceed the purchase price paid, or at Athena Ag Inc.’s election, the replacement of product.
For technical support and troubleshooting please call or email:
(844) 333-1818
[email protected]
www.AthenaAg.com




Note: Only use distilled water or add 1 ml of Athena Cleanse to prevent scale formation inside the Autoclave.



Note: Ensure the exhaust valve is closed by making sure the handle is rotated down in the closed position
Note: When you press START, the Autoclave begins to pre-heat before the actual 25 minute sterilization process starts. This usually takes 10 minutes.




















