Series Directional Recessed Downlight
Installation Guide
MSL Series Directional Recessed Downlight
| MODEL | WATTS | DELIVERED LUMENS | TYPE-IC | NON-IC | CRI | KELVIN | DIMMABLE’ |
| MSL1 | 3W | 1201m | 90 | 2700K 3000K 3500K 4000K 5000K | |||
| MSL2 | 6W | 3001m | |||||
| MSL4 | 12W | 6001m | |||||
| MSL5 | 14W | 8001m | |||||
| MSL5G | 14W | 800 1m | |||||
| MSL10 | 24W | 1500 1m | |||||
| MSL1OG | 24W | 15001m |
*Works with most dimmers. Refer to DALS website for dimmer compatibility list.
ITEMS INCLUDED IN THE BOX

- LED recessed light
- Junction box with integrated driver
- Mounting hardware
WARRANTY
DALS offers a 5 year warranty from the date of purchase which covers repairs or replacements of defective parts of the housing, optics, and electronics.
To contact DALS customer service call 1 877 430 1818 or send an e-mail to [email protected].
FORE YOU START
BEFORE STARTING INSTALLATION, SHUT THE LINE FEED POWER OFF USING THE CIRCUIT BREAKER.
Instructions pertaining to a risk of fire, electric shock or injury to persons. Installation must be done according to local electrical codes. Installation should be done by a certified electrician.
This class B digital apparatus complies with Canadian ICES-005. This digital apparatus does not exceed the Class B limits for radio-noise emissions from digital apparatus as set out in the Radio Interference Regulations of the Canadian Department of Communications.
- Drill hole in ceiling and prepare supply wires. Install and unshield the line feed wire 6″ (15 cm) and strip wires 5/8″ (1.6 cm). Bring supply power to junction box through knockout.
MSL1: 1-9/16”x 1-9/16”
MSL2: 1-9/16” x 2-5/8”
MSL4: 2-3/4”x 2-3/4”
MSL5: 5-1/2”x 1-5/8”
MSL5G: 6-3/8”x 2-3/4”
MSL10: 10-3/4”x 1-5/8”
MSL10G: 11-1/2”x 2-3/4” - Open the lid of the junction box. Use the Wirenuts to match the white wire from the line feed with the white wire of the junction box, to match the black wire from the line feed with the black wire of the junction box and to match the copper wire from the line feed and with the green wire of the junction box.

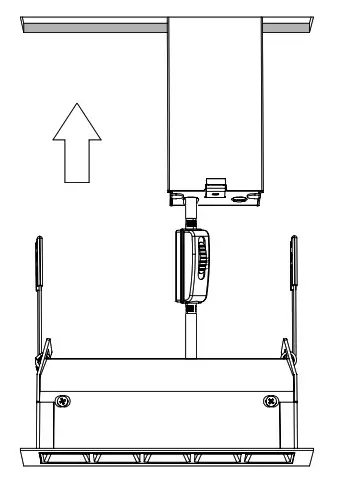
- Compress the springs and push the fixture in the opening. It is easier to do one spring at a time.

Don’t forget to select the color temperature you would like.
1 877 430 1818
INS_MSLXX_REV8
www.dals.com
ICES-005![]()



















