ADAM-4510 RS-422 or RS-485 Repeater
User Manual
ADAM-4510 RS-422/RS-485 Repeater
ADAM-4510S Isolated RS-422/485 Repeater
ADAM-4520 Isolated RS-232 to RS-422/485 Converter
Packing List
Before you begin installing your module, make sure that the following materials have been included:
- 1 x ADAM-4510, 4510S, 4520
- 1 x DIN-rail mounting bracket (attached to module)
- 1 x ADAM-4510/4510S/4520 Startup Manual
- 1 x Panel mounting bracket
If any of the above items are missing or damaged, please contact your distributor or sales representative immediately.
Overview
ADAM-4520 transparently converts RS-232 signals into RS-422 or RS-485. ADAM-4510/4510S amplifies existing RS-485 signals.
Intelligent RS-485 Control
ADAM-4510, 4510S, and 4520 automatically senses the direction of the data flow and switches transmission direction.
Isolation (ADAM-4510S/4520 only)
ADAM-4510S and 4520’s Opto-isolators provide 3000 VDC isolation to protect the host computer from ground loops and voltage spikes.
Surge Protection
ADAM-4510/4510S and 4520 offer internal surge-protection on their data lines. Internal high speed transient suppressors on each data line protect the modules from dangerous voltages levels or spikes.
Specifications
Common
- Power Requirements: Unregulated +10 to +30 VDC
- Case: ABS+PC with captive mounting hardware
- Accessories (supplied): DIN-rail mounting adapter, panel mounting bracket
- Plug-in screw terminal wiring: Accepts AWG 1-#12 to #22 (0.5 to 2.5 mm)
- Operating Temperature: -10~70°C (14~158° F)
- Storage Temperature: -25 ~ 85°C (-13~185° F)
- Humidity: 5 ~ 95%, non-condensing
ADAM-4510/4510S
- Baudrate (bps): 1200, 2400, 4800, 9600, 19.2 k, 38.4 k, 57.6 k, 115.2 k, RS-422 (switchable)
- Isolation Voltage: 3000 VDC(4510S only)
- RS-422/RS-485 Interface: plug-in screw terminal
- Power Consumption:
– ADAM-4510
Typical: 1.1 W @ 24 VDC
Max.: 1.2 W @ 24 VDC
– ADAM-4510S
Typical: 1.5 W @ 24 VDC
Max.: 1.6 W @ 24 VDC
ADAM-4520
- Baudrate (bps): 1200, 2400, 4800, 9600, 19.2 k, 38.4 k, 57.6 k, 115.2 k, RTS control and RS-422 mode (switchable) Isolation Voltage: 3000 VDC (4520 only)
- RS-232 Interface: Female DB-9
- RS-422/RS-485 Interface: Plug-in screw terminal
- Power Consumption:
Typical: 0.8 W @ 24 VDC
Max.: 1 W @ 24 VDC
Switch Setting
Intelligent RS-485 Control
DIP switches in the ADAM converter and repeater modules set the data format (number of bits) and baudrate for the ADAM network. You need to unpack ADAM module case to see the switches and jumpers. Your program and the PC’s serial port should match the setting on the converter and repeater modules. When you change the setting on the converter or repeater module, please remember to change the data format or baudrate for all the connected modules accordingly.
SW1
Switch 1 controls the data format. Data can be 9, 10, 11 or 12 bits. The factory default is 10 bits: one start bit, eight data bits, no parity bit and one stop bit.
When using the converter in combination with other ADAM modules, do not change the default setting as ADAM modules have a fixed data format of ten data bits. The option of changing to 9, 11 or 12 bits is for use with other modules that have different data formats.
SW2
Switch 2 sets the baudrate. The options range from 1200 bps to 115.2 kbps. The default is 9600 bps. If the RS-422 mode is ON, the rate doesn’t need to be set.
Default Settings
Since these modules are not addressable by the host computer, the baud rate and data format must be set using SW1 and SW2 located inside the module.
The default settings are:
| Function | Setting |
| Baud rate | 9600 bps |
| Data format | 10 bits |
Data Format Settings (SW1)
| 9 bits | ![]() |
| 10 bits (default) | ![]() |
| 11 bits | ![]() |
| 12 bits | ![]() |
ADAM-4510/4510S
| Data Flow Direction Indicator | LED Status | |
| RS-485 | Idle | Green |
| DATAO → DATA1 | Dark | |
| DATAO → DATA1 | Red | |
| RS-422 | Idle | Green |
| Tx 0 → Rx 1 | Dark | |
| Rx 0 →Tx 1 | Green+Red | |
ADAM-4520
| Data Flow Direction Indicator | LED Status | |
| RS-485 | Idle | Green |
| RS-232 → RS-485 | Dark | |
| RS-485 → RS-232 | Red | |
| RS-422 | Idle | Dark |
| RS-232 → RS-422 | Green | |
| RS-422 → RS-232 | Red | |

Terminal Resistance Settings (CN3~ CN6)
ADAM-4510/4510S Repeater Module
| RS-485 Communication | RS-422 Communication | |||
| Jumper | 120 ohm | Floating | 120 ohm | Floating |
| CN3 | Pin 1-2 Short | Pin 2-3 Short | Pin 1-2 Shod | Pin 2-3 Shod |
| CN4 | – | – | Pin 1-2 Shod | Pin 2-3 Short |
| CN5 | Pin 1-2 Short | Pin 2-3 Short | Pin 1-2 Shod | Pin 2-3 Shod |
| CN6 | – | — | Pin 1-2 Shod | Pin 2-3 Short |
The default settings of CN3~CN6 are Pin 2-3 short.
Application Wiring
Power Supply
ADAM-4510/4510S Repeater Module ADAM modules are designed to accept industry standard +24 VDC unregulated power. Operation is guaranteed when using any power supply between +10 and +30 VDC. Power ripples must be limited to 200 mV peak to peak while the voltage in all cases must be maintained between +10 to +30 VDC. All power supply specifications are referenced at module connector. The power cables should be selected according to the number of modules connected and the length of the power lines. When using a network with long cables, we advise the use of thicker wire to limit the line voltage drop. In addition to serious voltage drops, long voltage lines can also cause interference with communication wires.
We advise that the following standard colors (as indicated on the modules) be used for power lines:
(R) + Vs -> Red
(B) GND -> Black
Communication Wiring
We recommend that shielded-twisted-pair cables that comply with the EIA RS-485 standard be used with the ADAM network to reduce interference. Only one set of twisted-pair cables is required to transmit both data and RTS signals. We advise that the following standard colors (as indicated on the modules) be used for the communication lines:
DATA + -> Yellow
DATA – -> Green
Basic Configuration Hook-up
Before placing a module in an existing network, the module should be properly configured. The two following diagrams show typical layouts for both modules.

ADAM Dimensions

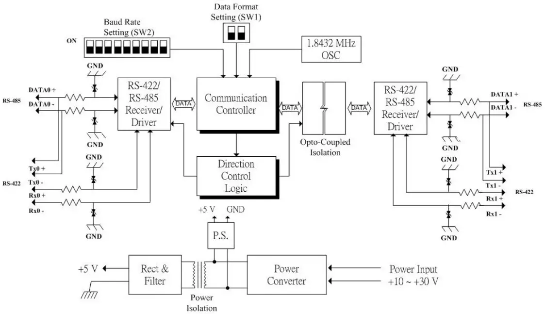
Function Diagrams
ADAM-4510 Repeater
ADAM-4510S Repeater
ADAM-4520 Converter
Declaration of Conformity
CE Notification
ADAM-4510, 4510S and 4520 developed by Advantech Co., Ltd. has passed the CE test for environmental specifications. The test conditions for passing including the equipment being operated within an industrial enclosure. Therefore, in order to protect the ADAM module from being damaged by ESD, we strongly recommend that the use of CE-compliant industrial enclosure products.
Declaration of Conformity
- Automatic internal RS-485 bus supervision
- No external flow control signals for RS-485
- Minimum 3000 VDC isolation (4510S/4520)
- Transient suppression on RS-485 data lines
- Baudrate up to 115.2 kbps
- Networking up to 4000 feet (1200 m)
- Reserved space for termination resistors
- Power and data flow indicator for troubleshooting
- Power requirement: +10 to +30 VDC
- Mounts easily on DIN-rail or panel
For more information on this and other Advantech products, please visit our website at: http://www.advantech.com/eAutomation
For technical support and service: http://www.advantech.com/support/
This startup manual is for ADAM-4510, 4510S, 4520.
Part No. 2003452014 Edition 9
March 2022























