dahua ARA43-W2 Alarm Repeater User Manual
Foreword
General
This manual introduces the functions and operations of the alarm repeater (hereinafter referred to as the “repeater”).
Safety Instructions
The following signal words might appear in the manual.
| Signal Words | Meaning |
| Indicates a high potential hazard which, if not avoided, will result in death or serious injury. | |
| Indicates a medium or low potential hazard which, if not avoided, could result in slight or moderate injury. | |
| Indicates a potential risk which, if not avoided, could result in property damage, data loss, reductions in performance, or unpredictable results. | |
| Provides methods to help you solve a problem or save time. | |
| Provides additional information as a supplement to the text. |
Revision History
| Version | Revision Content | Release Time |
| V1.2.0 | Updated the hub version. | December 2021 |
| V1.1.0 | Added app and hub versions. | September 2021 |
| V1.0.0 | First release. | August 2021 |
Privacy Protection Notice
As the device user or data controller, you might collect the personal data of others such as their face, fingerprints, and license plate number. You need to be in compliance with your local privacy protection laws and regulations to protect the legitimate rights and interests of other people by implementing measures which include but are not limited: Providing clear and visible identification to inform people of the existence of the surveillance area and provide required contact information.
About the Manual
- The manual is for reference only. Slight differences might be found between the manual and the product.
- We are not liable for losses incurred due to operating the product in ways that are not in compliance with the manual.
- The manual will be updated according to the latest laws and regulations of related jurisdictions. For detailed information, see the paper user’s manual, use our CD-ROM, scan the QR code or visit our official website. The manual is for reference only. Slight differences might be found between the electronic version and the paper version.
- All designs and software are subject to change without prior written notice. Product updates might result in some differences appearing between the actual product and the manual. Please contact customer service for the latest program and supplementary documentation.
- There might be errors in the print or deviations in the description of the functions, operations and technical data. If there is any doubt or dispute, we reserve the right of final explanation.
- Upgrade the reader software or try other mainstream reader software if the manual (in PDF format) cannot be opened.
- All trademarks, registered trademarks and company names in the manual are properties of their respective owners.
- Please visit our website, contact the supplier or customer service if any problems occur while using the device.
- If there is any uncertainty or controversy, we reserve the right of final explanation.
Important Safeguards and Warnings
This section introduces content covering the proper handling of the Device, hazard prevention, and prevention of property damage. Read carefully before using the Device, comply with the guidelines when using it, and keep the manual safe for future reference.
Operation Requirements
- Make sure that the power supply of the device works properly before use.
- Do not pull out the power cable of the device while it is powered on.
- Only use the device within the rated power range.
- Transport, use and store the device under allowed humidity and temperature conditions.
- Prevent liquids from splashing or dripping on the device. Make sure that there are no objects filled with liquid on top of the device to avoid liquids flowing into it.
- Do not disassemble the device.
Installation Requirements
Warning
- Connect the device to the adapter before power on.
- Strictly abide by local electrical safety standards, and make sure that the voltage in the area is steady and conforms to the power requirements of the device.
- Do not connect the device to more than one power supply. Otherwise, the device might become damaged.
- Observe all safety procedures and wear required protective equipment provided for your use while working at heights.
- Do not expose the device to direct sunlight or heat sources.
- Do not install the device in humid, dusty or smoky places.
- Install the device in a well-ventilated place, and do not block the ventilator of the device.
- Use the power adapter or case power supply provided by the device manufacturer.
- The power supply must conform to the requirements of ES1 in IEC 62368-1 standard and be no higher than PS2. Note that the power supply requirements are subject to the device label.
- Connect class I electrical appliances to a power socket with protective earthing.
Introduction
Alarm repeater is a wireless repeater device that extends the communication range between the alarm hub and other accessories, and forwards messages received from the accessory to the hub. It provides a secondary communication path for accessories, improving the overall stability and reliability of communication of the wireless security system. You can use the DMSS app to manually select a path for accessories or allow the system to automatically select one for them. It is suitable for security use in scenes, such as villas with multiple floors, garages that are far away from residential areas, or office buildings and shops with partitions.
Checklist
Figure 2-1 Checklist

Table 2-1 Checklist
| No. | Item Name | Quantity | No. | Item Name | Quantity |
| 1 | Alarm repeater | 1 | 4 | Legal and regulatory information | 1 |
| 2 | Adapter | 1 | 5 | Screw package | 1 |
| 3 | User’s manual | 1 | — | — | — |
Design
Appearance
Figure 3-1 Appearance

Table 3-1 Structure
| No. | Name | Description |
| 1 | Indicator |
|
| 2 | Power switch | Switch to ON to turn on the repeater, and OFF to turn it off. OFF is set by default. |
| 3 | Power cable socket | Insert power cable. Powered by 12 VDC power supply. |
| 4 | Tamper switch | When the tamper switch is released, the tamper alarm will be triggered. |
| 5 | Lid |
|
Dimensions
Figure 3-2 Dimensions (mm[inch])

Connecting to the Hub
Before you connect it to the hub, install the DMSS app to your phone. This manual uses iOS as an example.
- Make sure the version of the DMSS app is 1.94 and later, and the hub is V1.001.R.20211215 and later.
- Make sure that you have already created an account, and added the hub to DMSS.
- Make sure that the hub has a stable internet connection.
- Make sure that the hub is disarmed.
Step 1 Go to the hub screen, and then tap
to add the repeater.
Step 2 Tap
to scan the QR code at the bottom of the repeater, and then tap Next.
Step 3 Tap Next after the repeater has been found.
Step 4 Follow the on-screen instructions and switch the repeater to ON, and then tap Next.
Step 5 Wait for the pairing.
Step 6 Customize the name of the repeater and select the area, and then tap Completed.
Installation
Prior to installation, connect the repeater to the hub and check the signal level at the installation location. We recommend installing the repeater in a place with the signal strength of at least 2 bars. Use the provided screws to mount the repeater in locations accessible for future maintenance.
Mount the repeater in a location that does not have metals and metal objects. Duct work, wire mesh screens and boxes, and other similar metal based objects will reduce the RF range.
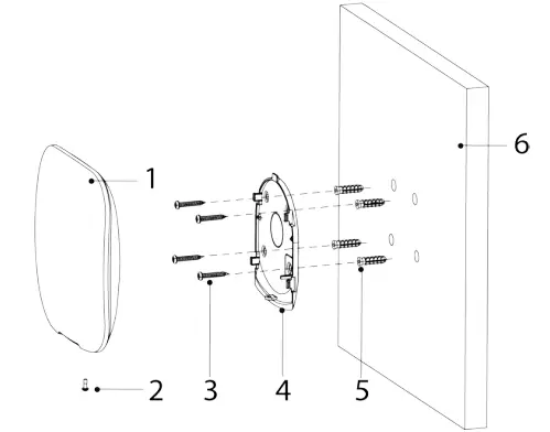
Figure 5-1 Installation

Table 5-1 Installation items
| No. | Item Name | No. | Item Name |
| 1 | Repeater | 4 | Mounting plate |
| 2 | M3 × 8 mm countersunk head screw | 5 | Expansion bolt |
| 3 | ST4 × 25 mm self-tapping screw | 6 | Wall |
Step 1 Confirm the position of screw holes, and then drill them on the mounting plate.
Step 2 Put the expansion bolts into the holes.
Step 3 Put the mounting plate into the wall, and then align the screw holes on the plate with the expansion bolts.
Step 4 Fix the mounting plate with ST4 × 25 mm self-tapping screws.
Step 5 Put the alarm hub into the mounting plate from top to bottom.
Step 6 Fix the alarm hub and mounting plate with M3 × 8 mm countersunk head screws.
Configuration
You can view and edit general information of the repeater.
Configuring the Repeater
On the Hub screen, select the repeater as needed from the accessory list, and then tap
to configure the parameters of the repeater.
Table 6-1 Repeater parameter description
| Parameter | Description |
| Device Configuration |
|
| Area | Select the area to which the repeater is assigned. |
| Temporary Deactivate | Tap Temporary Deactivate to enable or disable the functions of the repeater.
|
| LED Indicator | LED Indicator is enabled by default. For details on indicator behavior, see “3.1 Appearance”. If LED Indicator is disabled, the LED indicator will remain off regardless of whether the repeater is functioning normally or not. |
| Parameter | Description |
| Peripherals Pairing | Tap Peripherals Pairing, and then you can manually set the accessories to forward messages to the hub through the repeater.
If you want the system to automatically select a communication path for the accessory, you can also go to the Paired list, select the accessory from the list, and then swipe left to delete it.
|
| Signal Strength Detection | Test the current signal strength. |
| Transmit Power |
|
| Cloud Update | Update online. The repeater can forward messages received from the accessory to the hub even during an online update.
|
| Delete | Delete the repeater.
|
Status of the Repeater
On the Hub screen, select the repeater as needed from the accessory list, and then you can view the status of the repeater.
Table 6-2 Status
| Parameter | Description |
| Temporary Deactivate | The status for whether the functions of the repeater are enabled or disabled.
|
| Signal Strength | The signal strength between the hub and the repeater.
|
| External Power Status | Connection status of the repeater with the power.
If the repeater is powered off, it can work for up to 35 hours. |
| Battery Level | The battery level of the repeater.
If the battery level is low, the repeater can work for up to 3.5 hours. |
| Anti-tampering Status | Anti-tampering status of the repeater. |
| Online Status | Online and offline status of the repeater.
|
| Program Version | The program version of the repeater. |
Legal and Regulatory Information
Legal Considerations
Video surveillance can be regulated by laws that vary from country to country. Check the laws in your local region before using this product for surveillance purposes.
Disclaimer
Every care has been taken in the preparation of this document. Please inform your nearest Dahua office of any inaccuracies or omissions. Dahua Technology shall not be held responsible for any technical or typographical errors and reserves the right to make changes to the product and manuals without prior notice. Dahua Technology makes no warranty of any kind with regard to the material contained within this document, including, but not limited to, the implied warranties of merchantability and fitness for a particular purpose. Dahua Technology shall not be liable or responsible for incidental or consequential damages in connection with the furnishing, performance or use of this material. This product is only to be used for its intended purpose.
Intellectual Property Rights
Dahua Technology retains all intellectual property rights relating to technology embodied in the product described in this document.
Equipment Modifications
This equipment must be installed and used in strict accordance with the instructions given in the user documentation. This equipment contains no user-serviceable components. Unauthorized equipment changes or modifications will invalidate all applicable regulatory certifications and approvals.
Trademark Acknowledgments
are registered trademarks or trademark applications of Dahua Technology in various jurisdictions. All other company names and products are trademarks or registered trademarks of their respective companies.
Regulatory Information European Directives Compliance
Regulatory Information
European Directives Compliance
If the power supply to the product is from external power adaptor without connecting to AC Mains, and the product is not shipped with power adaptor, customers are required to use the external power adaptor that must fulfill the requirements for Safety Extra Low Voltage (SELV) and Limited Power Source (LPS).
Waste Electrical and Electronic Equipment (WEEE) statements Disposal and Recycling
When this product has reached the end of its useful life, dispose of it according to local laws and regulations. For information about your nearest designated collection point, contact your local authority responsible for waste disposal. In accordance with local legislation, penalties may be applicable for incorrect disposal of this waste.
This symbol means that the product shall not be disposed of together with household or commercial waste. Directive 2012/19/EU on waste electrical and electronic equipment (WEEE) is applicable in the European Union member states. To prevent potential harm to human health and the environment, the product must be disposed of in an approved and environmentally safe recycling process. For information about your nearest designated collection point, contact your local authonty responsible for waste disposal. Businesses should contact the product supplier for information about how to dispose of this product correctly.
Privacy Protection Notice
As the device user or data controller, you might collect personal data of others such as face, fingerprints, car plate number, Email address, phone number, GPS and so on. You need to be in compliance with the local privacy protection laws and regulations to protect the legitimate rights and interests of other people by implementing measures, including but not limited to: providing clear and visible identification to inform data subject the existence of surveillance area and providing related contact.
About the Manual
- The manual is for reference only. If there is inconsistency between the manual and the actual product, the actual product shall prevail.
- We are not liable for any loss caused by the operations that do not comply with the manual.
- The manual would be updated according to the latest laws and regulations of related jurisdictions. For detailed information, refer to the paper manual, CD-ROM, QR code or our official website. If there is inconsistency between paper manual and the electronic version, the electronic version shall prevail.
- All the designs and software are subject to change without prior written notice. The product updates might cause some differences between the actual product and the manual. Please contact the customer service for the latest program and supplementary documentation.
- There still might be deviation in technical data, functions and operations description, or errors in print. If there is any doubt or dispute,
This product complies with the applicable CE marking directives and standards:
- Low Voltage (LVD) Directive 2014/35/EU.
- Electromagnetic Compatibility (EMC) Directive 2014/30/EU.
- Restrictions of Hazardous Substances (RoHS) Directive 2011/65/EU and its amending Directive (EU) 2015/863.
A copy of the original declaration of conformity may be obtained from Dahua Technology.
The most up to date copy of the signed EU Declaration of Conformity (DoC) can be downloaded from: www.dahuasecurity.com/support/notice/
CE- Electromagnetic Compatibility (EMC)
This digital equipment is compliant with Class B according to EN 55032.
CE-Safety
This product complies with IEC/EN/UL 60950-1 or IEC/EN/UL 62368-1, Safety of Information Technology Equipment.
Declaration of Conformity CE (Only for the product has RF function)
Hereby, Dahua Technology declares that the radio equipment is compliant with Radio Equipment Directive (RED) 2014/53/EU. The full text of the EU declaration of conformity is available at the following internet address: www.dahuasecurity.com/support/notice/
USA Regulatory Compliance
FCC
This device complies with Part 15 of the FCC Rules. Operation is subject to the following two conditions:
- This device may not cause harmful interference.
- This device must accept any interference received, including interference that may cause undesired operation.
Attention that changes or modification not expressly approved by the party responsible for compliance could void the user’s authority to operate the equipment.
Note: This product has been tested and found to comply with the limits for a Class B digital device, pursuant to Part 15 of the FCC Rules. These limits are designed to provide reasonable protection against harmful interference in a residential installation. This product generates, uses, and can radiate radio frequency energy and, if not installed and used in accordance with the instructions, may cause harmful interference to radio communications. However, there is no guarantee that interference will not occur in a we reserve the right of final explanation.
- Upgrade the re litiWire-OrTis-tOthei mainstream reader software if the manual (in PDF format) cannot be opened.
- All trademarks, registered trademarks and the company names in the manual are the properties of their respective owners.
- Please visit our website, contact the supplier or customer service if there is any problem occurring when using the device.
- If there is any uncertainty or controversy, we reserve the right of final explanation.
Support
Should you require any technical assistance, please contact your Dahua distributor. If your questions cannot be answered immediately, your distributor will forward your queries through the appropriate channels to ensure a rapid response. If you are connected to the Internet, you can:
- Download user documentation and software updates.
- Search by product, category, or phrase.
- Report problems to Dahua support staff by logging in to your private support area.
- Chat with Dahua support staff.
- Visit Dahua Support at www.dahuasecuritv.com/support.
Contact Information
ZHEJIANG DAHUA VISION TECHNOLOGY CO., LTD.
Address: No.1199, Bin’an Road, Binjiang District, Hangzhou, P.R. China Postcode: 310053 Tel: +86-571-87688883
Fax: +86-571-87688815
Email: [email protected]
Website: www.dahuasecurity.com
Important Safeguards and Warnings
This Chapter describes the contents covering proper handling of the device, hazard prevention, and prevention of property damage. Read these contents carefully before using the device, comply with them when using, and keep it well for future reference.
Safety Instructions
The following categorized signal words with defined meaning might appear in the manual.
| Signal Words | Meaning |
| Indicates a high potential hazard which, if not avoided, will result in death or serious injury. | |
| Indicates a medium or low potential hazard which, if not avoided, could result in slight or moderate injury. | |
| Indicates a potential risk which, if not avoided, could result in property damage, data loss, lower performance, or unpredictable result. | |
| Provides methods to help you solve a problem or save you time. | |
| Provides additional information as the emphasis and supplement to the text. |
Safety Requirement
- Abide by local electrical safety standards to ensure that the voltage is stable and complies with the power supply requirement of the device
- Transport, use, and store the device under the allowed humidity and temperature conditions. Refer to the corresponding technical specifications of device for specific working temperature and humidity.
- Do not place the device in a location exposed to dampness, dust, extreme hot or cold, strong electronic radiation, or unstable lighting conditions.
- Do not install the device in a place near the heat source, such as radiator, heater, furnace, or other heat generating device to avoid fire.
- Prevent liquid from flowing into the device to avoid damage to internal components.
- Install the device horizontally or install on the stable place to prevent it from falling.
- Install the device in a well-ventilated place, and do not block the ventilation of the device.
- Do not disassemble the device arbitrarily.
- Avoid heavy stress, violent vibration, and soaking during during transportation, storage, and installation. Complete package is necessary during the transportation.
- Use the factory package or the equivalent for transportation.
Battery
Low battery power affects the operation of the RTC, causing it to reset at every power-up. When the battery needs replacing, a log message will appear in the product’s server report. For more information about the server report, see the products setup pages or contact Dahua support.
Warning
- Risk of explosion if the battery is incorrectly replaced.
- Replace only with an identical battery or a battery which is recommended by Dahua.
- Dispose of used batteries according to local regulations or the battery
(Only for the product has RF communication function) This equipment should be installed and operated with a minimum distance 20cm between the radiator and your body. Under Industry Canada regulations, this radio transmitter may only operate using an antenna of a type and maximum (or lesser) gain approved for the transmitter by Industry Canada. To reduce potential radio interference to other users, the antenna type and its gain should be so chosen that the equivalent isotropically radiated power (e.i.r.p.) is not more than that necessary for successful communication.
Japan Regulatory Compliance
VCCI These products comply with the requirements of VCCI Class B Information Technology Equipment.
Batteries
Correct disposal of batteries in this product
This marking on the battery indicates that the batteries in this product should not be disposed of with other household waste at the end of their working life. Where marked, the chemical symbols Hg, Cd or Pb indicate that the battery contains mercury, cadmium or lead above the reference levels in Directive 2006/66/EC and its amending Directive 2013/56/EU. If batteries are not properly disposed of, these substances can cause harm to human health or the environment.
CAUTION Risk of explosion if battery is replaced by an incorrect type. Dispose of used batteries according to the instructions.
























![Emerson Alarm Clock [cks1507 W/ Radio] User Manual Emerson Alarm Clock [cks1507 W/ Radio] User Manual](https://static-data1.manualsee.com/1/img/275/8730/2020/10/Emerson-Alarm-Clock-CKS1507.png)