
Installation Instructions
MFL GLEBE LED 12V UP/DOWN SPOT LIGHT
SKU# 237016
Rated Voltage 12VAC/DC
Thank you for purchasing this quality MFL product. To ensure correct function and safety, please read and follow all instructions carefully before using the product. Please keep instructions for future reference.
Warranty
- This light fitting is covered by a 3-year warranty. The warranty is from the date of purchase, not the date of installation. Please retain the proof of purchase.
- The warranty will be void if there is any damage due to improper usage or modification to the fitting.
- Failure to comply with the instructions in this manual may increase the risk of damage or injury and will void the warranty.
Installation requirements
- Must be installed by a licensed electrician.
- All wiring and installation of the light fitting must adhere to local and national wiring rules. eg. AS/NZS 3000:2007/Amendment 2:2012 Electrical installations.
- This fitting is rated IP65. This must be maintained during installation.
- This fitting contains floating tempered glass. Replace any cracked protective glass to maintain IP rating when using this fitting.
- Select a suitable location for installation;
– This product is suitable for outdoor and indoor use.
– This fitting is rated IP65 which is protected against jets of water.
– The mounting point must support 2 times the weight of the fitting. - Take care not to pull any electrical wires during unpacking as this may damage the connection.
- Lay out all the components on a smooth surface and make sure there are no components missing before assembling. If parts are missing, return the complete product to the place of purchase for inspection or replacement.
- Check whether the fitting has been damaged during transport. Do not operate/install any product which appears damaged in any way. Return the complete product to the place of purchase for inspection, repair or replacement.
- Ensure power to the circuit you are working on has been switched OFF, before commencing any electrical work.
Installation directions
Remove all packaging material from the product and be careful not to throw away accessories that may be hidden within the packaging material.
- Ensure power to the circuit you are working on has been switched OFF before commencing any electrical work.
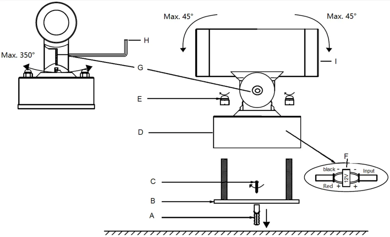
- Remove the mounting bracket (B) from the body of the fitting (D) by loosening two screw nuts (E).
- Use the mounting bracket as a template to mark the screw positions in the installation area. Drill holes into the installation area and push the plastic anchors (A) into the holes.
- Install the mounting bracket onto the installation area by using appropriately sized mounting screws (C) and anchors (A). Ensure the screws and anchors used are suitable for the mounting surface.
- Connect the transformer / LED driver (Not included) output cable and LED fitting input wire to the IP65 rating connector (F, Not included). Additional silicone glue may need to be added to maintain the IP65 rating of the fitting.
Power Cable Wiring Label Negative – Black – Positive – Red + ( 12VDC) - Install the fitting back onto the mounting bracket.
- Adjust the angle of the LED head to the desired position (up and down) by loosening the Allen key screws (G) with an M2 Allen key (H, not included).
- Adjust the angle of the LED head to the desired position (left to right) by rotating the LED head (I) by hand.
- Switch the power to circuit back ON only after all electrical work has been fully completed and the fitting is fully assembled and is ready to use for the first time.

Safety tips
- Always ensure the power is OFF and the fitting has cooled down before performing any maintenance, cleaning, changing the globe or adjusting to the fitting.
- Select a suitable location away from hazards.
- Ensure that the fitting does not come in contact with corrosive chemicals, etc.
Specifications
| SKU # | 237016 |
| Color | Black |
| Rated Voltage | 12VAC/DC |
| Rated Wattage | 4.5W |
| LED | NICHIA LEDs, 3000K, 300lm |
| IP Rating | IP65 |
| IK Rating | IK02 |
| Weight | 0.185kg |
| Dimensions | H:80mm W:80mm E:94mm MAX. |

















