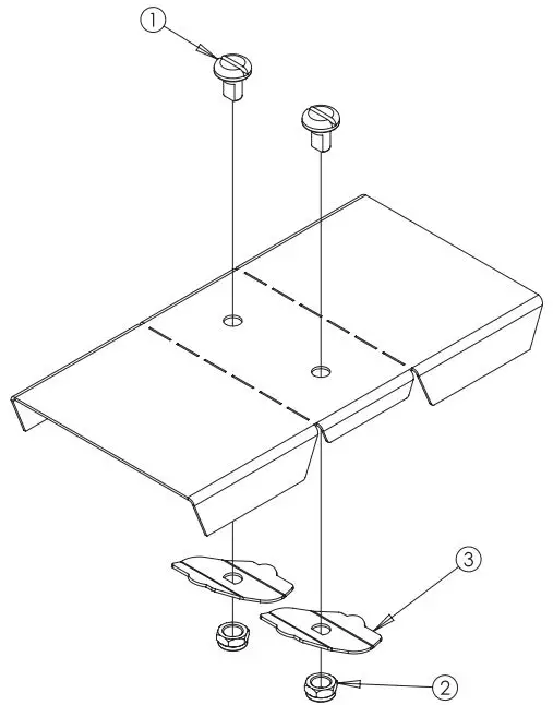
nVent CT44VSS Covered Cable Tray Variable Angle Fitting

Parts

Installation Instructions



Contact
- PH: 763 422 2211
- nVent.com/HOFFMAN
© 2018 Hoffman Enclosures Inc.






© 2018 Hoffman Enclosures Inc.
Download manual
Here you can download full pdf version of manual, it may contain additional safety instructions, warranty information, FCC rules, etc.