PROJECT SOURCE JQY8393A 3-Light Linear Pendant

Project Source and logo design are trademarks or registered trademarks of LF, LLC. All rights reserved.
Thank you for purchasing this Project Source product. We’ve created these easy-to-follow instructions to ensure you spend your time enjoying the product instead of putting it together. But, if you need more information than what is provided here, please visit Lowes.com, search the item number and refer to the Guides & Documents tab on the product’s page.
| TROUBLESHOOTING | |||
| PROBLEM | POSSIBLE CAUSE | CORRECTIVE ACTION | |
| Bulb will not light. |
|
| |
| CARE AND MAINTENANCE | |||
WARRANTY | |||
| |||
PREPARATION
Before beginning assembly of product, make sure all parts are present. Compare parts with package contents list and hardware contents list.
If any part is missing or damaged, do not attempt to assemble the product.
Estimated Assembly Time: 20-30 minutes.
TOOLS REQUIRED (NOT INCLUDED)

FEELING CONFIDENT? START YOUR NEXT PROJECT

SAFETY INFORMATION
Please read and understand this entire manual before attempting to assemble, operate or install the product.
WARNING
- Some metal parts in the fixture may have sharp edges. To prevent cuts and scrapes, wear gloves when handling the parts.
- Account for small parts and destroy packing material, as these may be hazardous to children.
- Use flashlight or alternate light source to light work area during installation.
- Assistance may be required to support fixture during installation.
CAUTION
- Connect fixture to supply wires rated for at least 167˚F.
- Workable for dimming circuits when using appropriate light bulbs with dimmable function.
PACKAGE CONTENTS

HARDWARE CONTENTS
Note: Hardware shown actual size.

INSTALLATION OVERVIEW

Turn off the power and remove existing fixture.

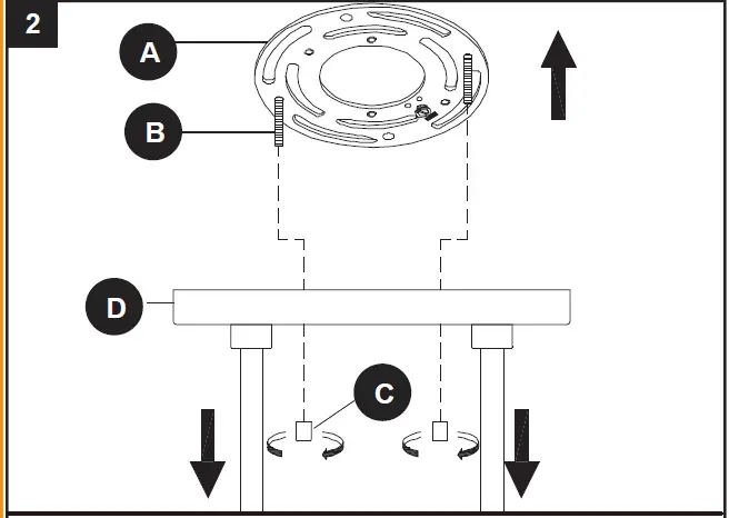
Unscrew the cap nuts (C) from mounting screws (B). Separate the mounting plate (A) from canopy (D).
Attach A to outlet box using AA. Temporarily place D through B determine amount of adjustment necessary B.
Feed wires. Twist stripped wire ends together with pliers (not included), black to black, white to white, and ground/bare to ground/bare.
Attach BB to connections with electrical tape (not included).
Place canopy (D) onto mounting screws (B) and secure with cap nuts (C).
Unscrew socket rings (J), remove the metal rings (I) from sockets on fixture body (G). Attach glass shades (H) over the sockets. Place the metal rings (I).
Install light bulbs (not included). Use 60-watt max. standard-base incandescent bulbs or CFL/LED equivalents.











