Honeywell High Sensitivity Latching Digital Hall-effect Sensor

GENERAL INFORMATION
CAUTION ELECTROSTATIC DISCHARGE DAMAGE![]() Ensure proper ESD precautions are followed when handling this product. Failure to comply with these instructions may result in product damage. |
SOLDERING AND ASSEMBLY
| CAUTION IMPROPER SOLDERING
Failure to comply with these instructions may result in product damage |
- Surface mount (SS360NT, SS360ST, SS360ST-10K): Use infrared reflow process with active flux, lead-free solder.
Do not exceed peak temperature of 245°C [473°F] for a maximum of 10 seconds. - Through-hole leads (SS460S, SS460S-T2, SS460S-LP):
Wave solder at 250°C to 260°C [482°F to 500°F] for a maximum of three seconds. Burrs are allowed only if full lead length will pass through a 0,68 mm [0.027 in] dia. hole.
CLEANING
CAUTION IMPROPER CLEANING
Failure to comply with these instructions may result in product damage |
Table 1. Electrical and Environmental Specifications
(At Vs = 3.0 Vdc to 24.0 Vdc, 20 mA load, TA = -40ºC to 150ºC [-40ºF to 302ºF] except where otherwise specified.
| Characteristic | Condition | Min. | Typ. | Max. | Unit |
| Supply voltage: SS360NT, SS360ST, SS360ST-10K SS360NT, SS360ST, SS360ST-10K SS460S, SS460S-T2, SS460S-LP | -40°C to 125°C [-40°F to 257°F] 150°C [302°F] — | 3.0 3.0 3.0 | — — — | 24.0 12.0 24.0 | Vdc |
| Supply current | Vsupply = 3.0 Vdc at 25°C [77°F] — | — — | 3.5 — | 6.0 8.0 | mA |
| Output current | — | — | — | 20 | mA |
| Vsat: SS360NT, SS360ST, SS360ST-10K SS460S, SS460S-T2, SS460S-LP | Gauss > 55 15 mA, Gauss > 55 | — — | — — | 0.6 0.6 | V |
| Output leakage current | Gauss < -55 | — | — | 10.0 | mA |
| Rise/fall time | 25°C [77°F] | — | — | 1.5 | ms |
| Thermal resistance: SS360NT, SS360ST, SS360ST-10K SS460S, SS460S-T2, SS460S-LP | single layer, single sided PCB — | — | 303 233 | — — | °C/W |
| Magnetic characteristics: operate (Bop) release (Brp) differential | — — — | 5 | 30 -30 60 | 55 -5 80 | Gauss |
| Operating temperature | — | -40 [-40] | — | 150 [302] | °C [°F] |
| Storage temperature: SS360NT, SS360ST, SS360ST-10K SS460S, SS460S-T2, SS460S-LP | — — | -40 [-40] | — — | 150 [302] 165 [329] | °C [°F] |
| Soldering temperature and time: SS360NT, SS360ST, SS360ST-10K SS460S, SS460S-T2, SS460S-LP | infrared reflow process: peak temperature 245°C [473°F] for 10 s max. wave soldering process: 250°C to 260°C [482°F to 500°F] for 3 s max. | ||||
| NOTICE These Hall-effect sensor ICs may have an initial output in either the ON or OFF state if powered up with an applied magnetic field in the differential zone (applied magnetic field >Brp and |
| NOTICE The magnetic field strength (Gauss) required to cause the switch to change state (operate and release) will be as specified in the magnetic characteristics. To test the switch against the specified limits, the switch must be placed in a uniform magnetic field |
Table 2. Absolute Maximum Specifications
| Characteristic | Min. | Typ. | Max. | Unit |
| Supply voltage | -26.0 | — | 26.0 | V |
| Applied output voltage | -0.5 | — | 26.0 | V |
| Output current | — | — | 25 | mA |
| Magnetic flux | — | — | no limit | Gauss |
| NOTICE Absolute maximum ratings are the extreme limits the device will momentarily withstand without damage to the device. Electrical and mechanical characteristics are not guaranteed if the rated voltage and/or currents are exceeded, nor will the device necessarily operate at absolute maximum ratings. |
Figure 1. Sensor IC Block Diagram

Figure 2. Typical Magnetic Characteristics vs Ambient Temperature at Supply Voltages

Figure 3. SS360NT, SS360ST, SS360ST-10K Maximum Rated Supply Voltage vs Temperature

Figure 4. Magnetic Activation

Figure 5. SS360NT, SS360ST and SS360ST-10K Sensor IC, Tape and Reel Mounting Dimensions (For reference only. mm)




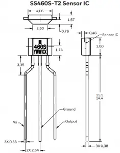
Figure 6. SS460S Sensor IC, SS460S-T2 and SS460S-T3 Sensor IC and Ammopack Tape-in-Box Mounting Dimensions (For reference only. mm)




Note: Ensure the minimum hole size in the PCB is 0,68 mm dia. based on the IPC 2222 Level B standard.
Figure 7. SS460-LP Sensor IC, Tape and Reel Mounting Dimensions (For reference only. mm)



PERSONAL INJURY DO NOT USE these products as safety or emergency stop devices or in any other application where failure of the product could result in personal injury. Failure to comply with these instructions could result in death or serious injury. |
Warranty/Remedy
Honeywell warrants goods of its manufacture as being free of defective materials and faulty workmanship during the applicable warranty period. Honeywell’s standard product warranty applies unless agreed to otherwise by Honeywell in writing; please refer to your order acknowledgement or consult your local sales office for specific warranty details. If warranted goods are returned to Honeywell during the period of coverage, Honeywell will repair or replace, at its option, without charge those items that Honeywell, in its sole discretion, finds defective.
The foregoing is buyer’s sole remedy and is in lieu of all other warranties, expressed or implied, including those of merchantability and fitness for a particular purpose. In no event shall Honeywell be liable for consequential, special, or indirect damages.
While Honeywell may provide application assistance personally, through our literature and the Honeywell web site, it is buyer’s sole responsibility to determine the suitability of the product in the application.
Specifications may change without notice. The information we supply is believed to be accurate and reliable as of this writing.
However, Honeywell assumes no responsibility for its use.
For more information
Honeywell Sensing and Internet of Things services its customers through a worldwide network of sales offices and distributors.
For application assistance, current specifications, pricing or the nearest Authorized Distributor, visit sensing.honeywell.com or call:
Asia Pacific +65 6355-2828
Europe +44 (0) 1698 481481
USA/Canada +1-800-537-6945
Honeywell Sensing and Internet of Things
9680 Old Bailes Road
Fort Mill, SC 29707
www.honeywell.com




















