INSTALLATION INSTRUCTIONS FOR THE
MICRO SWITCH BX SERIES
EXPLOSION-PROOF LIMIT SWITCHES
5008342
Issue 11
WARNING
PERSONAL INJURY
DO NOT USE these products as safety or emergency stop devices or in any other application where failure of the product could result in personal injury.
Failure to comply with these instructions could result in death or serious injury.
WARNING
OPENING PRODUCTS HAZARD
DO NOT OPEN these products when energized or in a flammable gas atmosphere.
Failure to comply with these instructions could result in death or serious injury.
WARNING
IMPROPER CONDUIT THREAD USE
DO NOT USE any other conduit thread than the one identified on the product. Verify that the mating threaded fitting is identical with the conduit thread shown on the
product nameplate.
Failure to comply with these instructions could result in death or serious injury.
WARNING
During installation, a suitable certified cable entry and closing device approved by Explosion Test Lab with Ex marking “Ex IIC” shall be used and correctly installed. The conduit size should be NPT 1/2”, NPT 3/4”, M20, PG13.5, or PF1/2”. Cable entry for redundancy use should be well and effectively blocked by the closing the device.
MICRO SWITCH EXPLOSION-PROOF LIMIT SWITCH BX SERIES
WARNING
During installation, BX Series limit switches should not be subjected to a corrosive atmosphere that could corrupt the enclosure, thereby avoiding immediate or future corrosion of the switch’s enclosure.
WARNING
Do not replace any switch components with those from another switch or replacement part without consulting Honeywell technical support.
WARNING
During the switch’s installation, use, and maintenance, observe the following standards: GB15577; GB/T3836.13; GB/T3836.15; GB/T3836.16; and GB50257.
WARNING
The equipment has a non-conducting coating and may generate an ignition-capable level of electrostatic charges under certain extreme conditions. The user should ensure that the equipment is not installed in a location where it may be subjected to external conditions (such as high-pressure steam) which might cause a build-up of electrostatic charges on non-conducting surfaces. Additionally, cleaning of the equipment should be done with a damp cloth.
WARNING
Any cable glands used with this product shall be provided with protection d for hazardous location category IIC with a certificate, according to TP TC 012/2011.
SPECIAL CONDITIONS FOR SAFE USE
Honeywell explosion-proof switches are designed specifically for use in hazardous location applications. The BX enclosure is sealed for protection against corrosion, water, dust, and oil as defined in NEMA 1, 3, 4, 4X, 6, 13, and IP67 (per IEC60529). The temperature rating for these products depends upon the seal material used. Products using a fluorosilicone seal have a rating of -40 °C [-40 °F] to 70 °C [158 °F]. Products using a fluorocarbon seal have a rating of -12 °C [10 °F] to 70 °C [158 °F]. MICRO SWITCH™ BX switches are rated according to the electrical ratings detailed in Table 1.
TABLE 1. ELECTRICAL RATINGS: 10 A CONT. | |||||
| ac voltage | Single Pole | Double Pole | Power factor | ||
| Break | Make | Break | Make | ||
| 120 | 60 | 6 | 30 | 3 | .35 |
| 240 | 30 | 3 | 15 | 1.5 | .35 |
| 480 | 15 | 1.5 | 7.5 | .75 | .35 |
| 600 | 12 | 1.2 | 6 | 6 | .35 |
| A300/120V | – | – | 60 | 6 | .30 |
| A300/240V | – | – | 30 | 3 | .30 |
| dc voltage | Make & Break Inductive | Resistive |
| 120 | 0.25 | 0.80 |
| 240 | 0.15 | 0.40 |
| Q300/125V | 0.55 | – |
| Q300/250V | 0.27 | – |
These products meet the following Protection Classes along with complying with Essential Health and Safety Standards as mentioned in Table 2
TABLE 2. CERTIFICATIONS | |||
| Certifi- cation | IECEx | ATEX | INMETRO |
| Cer- certificate number | IECEx SIR 07.0102X | SIRA 00ATEX1037X | TÜV 14.0556 X |
| Protec- tion Class | II 2 GD | II 2 GD | – |
| Ex db IIC T6 Gb | Ex db IIC T6 Gb | Ex db IIC T6 Gb | |
| Ex tb IIIC T85°C Db | Ex tb IIIC T85°C Db | Ex tb IIIC T85°C Db | |
| – | – | IP6X | |
| -12°C < Tamb < +70°C (Fluorocarbon Seal) | |||
| -40°C < Tamb < +70°C (Fluorosilicone Seal) | |||
| Health and Safety Stan- dards | IEC 60079-0 | EN 60079-0 | ABNT NBR IEC 60079-0 |
| IEC 60079-1 | EN 60079-1 | ABNT NBR IEC 60079-1 | |
| IEC 60079-31 | EN 60079-31 | ABNT NBR IEC 60079-31 | |
| ABNT NBR IEC 60529 | |||
The maximum construction gap (ic) is less than that required by Table 2 of EN/IEC60079-1, clause 5.2.2 as detailed below in Table 3.
The equipment has a non-conducting coating and may generate an ignition-capable level of electrostatic charges under certain extreme conditions. The user should ensure that the equipment is not installed in a location where it may be subjected to external conditions (such as high-pressure steam) that might cause a build-up of electrostatic charges on nonconducting surfaces. Additionally, cleaning of the equipment should be done with a damp cloth.
TABLE 3. FLAME PATH MEASUREMENTS | ||
| Flame path | Max. gap | Comment |
| Push rod & bearing | 0,076 mm | Cylindrical spigot joint |
| Bearing & housing | 0,02 mm | Cylindrical spigot joint |
BX with conduit types 1/2-14NPT, 3/4-14NPT also meet the North American Hazardous Locations Designation: NEMA 7 – Class I, Groups B, C and D; NEMA 9 – Class II, Groups E, F and G and comply with UL Standard: UL 894, CSA Standard: C22.2 No. 25-1966, C22.2 No. 30-M1986.
MICRO SWITCH EXPLOSION-PROOF LIMIT SWITCH BX SERIES
The BX is ideal for outdoor use or in adverse environments where a combination of explosion-proof plus sealing requirements are needed. To comply with explosion-proof requirements the BX has flame paths within the housing, which cool exploding gases below the ignition temperature before they reach explosive gases surrounding the housing. Flame paths on the BX are (1) an extended plunger between the switch cavity and head and (2) the cover-housing threads on the front of the switch.
MOUNT, ADJUST, WIRE MOUNTING
Note mounting dimension drawings for hole locations (Fig. 9, page 3). The BX is directly interchangeable with the LSX explosion-proof limit switches: Adapter plate is not required.
ADJUSTING INSTRUCTIONS
To give flexibility in application, the user can perform the adjustments described below in any order before wiring the unit.
ACTUATOR HEAD
The actuator head may be positioned in any of four directions.
- Loosen the four captive head screws.
- Place head in the desired position.
- Securely tighten the four screws to 1,4 Nm to 1,8 Nm [12 in-lb to 16 in-lb] (Figure 1).
REVERSING THE ROLLER LEVER
Except for the offset roller levers, the roller arm may be reversed to face the roller to the inside or outside of the arm.
POSITIONING LEVER
The lever on rotary actuated units is adjustable to any position through 360° around the shaft.
- Loosen the cap screw with a 9/64-inch hexagon key wrench.
- Move lever to the desired position.
- Securely tighten the screw until the teller tab can no longer be moved by hand.
- Tighten the screw another 1/8 to 1/4 turn to assure the lever is tight on the shaft (Fig. 2).
A 9/64-inch hex key wrench is provided in the adjusting toolset LSZ4005.
ADJUSTABLE LENGTH LEVERS
To adjust the length of the adjustable length levers, a 9/64inch hexagon key wrench is required. A 9/64-inch key wrench is provided in the adjusting tool set LSZ4005.
TOP ROLLER PLUNGER Position
the top roller plunger in the desired roller plane, by adjusting the head as explained under the actuator head.
SIDE ROLLER PLUNGER
Grasp the plunger with a pair of pliers and rotate to the desired horizontal or vertical position (Fig. 3).
CHANGING DIRECTION OF ACTUATION SIDE ROTARY
Catalog listings with the first three letters BXA, BXH, BXL, BXP, and BXR may be adjusted to operate clockwise, counter-clockwise or both. Catalog listings BMX (center neutral) and BXN (maintained) operate in both directions but cannot be changed. To change the actuation direction for the BXA, BXH, BXL, BXP, and BXR, follow these steps:
- Loosen the head screws and remove the head from the switch housing.
- On the bottom of the head, insert a screwdriver in the slot provided (Fig. 4) and lift open the hinged cover.
- Referring to Fig. 5, slide the cam all the way back, so the cam is free to rotate on the shaft
- Using a screwdriver or similar tool, rotate the cam to the desired actuating position (Fig. 6).
- Slide the cam all the way forward to its original position, and close the hinged cover.
- Replace the operating head on the switch housing and securely tighten the head screws to 1,4 Nm to 1,8 Nm [12 in-lb to 16 in-lb].

TOP ROTARY
Follow these steps to change the operating direction of the BXB type switch:
- Loosen the head screws and remove head from the switch housing.
- From the bottom of the head, grasp the end of the pin plunger (Figure 7) and remove the pin. It may be necessary to rotate the actuating shaft to expose the end of the pin plunger.
- Referring to Figure 8, select the correct pin plunger position for the desired direction of actuation.
- Insert the pin plunger in the position providing the desired direction of actuation.
- Replace the operating head on the switch housing and securely tighten the head screws to 1,4 Nm to 1,8 Nm [12 in-lb to 16 in-lb].

Figure 9. Exploded View of Clamp and Screw
REPLACEMENT LEVERS
Use only non-sparking levers to retain the explosion-proof qualities.
WIRING INSTRUCTIONS
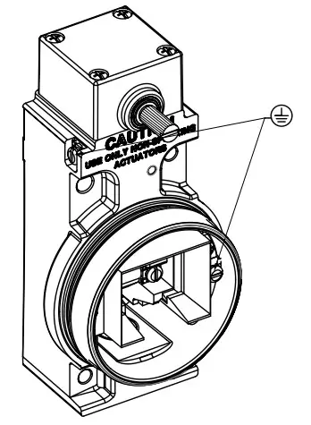
- Unscrew the cover to expose the switching element for wiring or replacement. To aid in cover removal, a screwdriver or bar may be used on the wrenching lugs. Use up to size #12 AWG solid or stranded wire to connect to the pressure-type connector terminals. Stripped wire ends or any spade and ring connector that will fit the terminals may be used. Spades may be up to 7,9 mm [0.312 in] wide, rings up to 7,9 mm [0.312 in] diameter. With spade or ring type connections preinsulated connectors or heat-shrinkable tubing should be used to provide insulation between terminals. Conduit size, electrical ratings, and circuit diagram are shown on the nameplate. Wire the double pole units by connecting lead wires to the terminals nearest the conduit opening first. An internal grounding screw is located on the right side; an external grounding screw is located on the upper left side. Torque all terminal screws and grounding screws to 1 Nm to 1,8 Nm [9 in-lb to 16 in-lb]. Reassemble cover and torque to 10 Nm [90 in-lb].
- Put cover locking clamp on circular cover and tighten the flat head cross recessed screw to 1,5 Nm to 1,8 Nm [13.27 in-lb to 16 in-lb]. (See Figures 9 and 10)
- The internal grounding terminal must be used for the equipment grounding connection, and the external terminal is for supplementary bonding connection where local codes or authorities permit or require such connections. (See Figure 11)
Figure 10. Wiring Instructions
Figure 11. Wiring Instructions
Figure 12. Mounting Dimensions (For reference only) mm/in
Conduit sizes 1/2-14NPT, 3/4-14NPT, M20, PG13.5, and PF1/2 are available for each switch type.
Verify that the mating threaded fitting is identical to the conduit thread shown on the product nameplate. 51,85



WARRANTY/REMEDY Honeywell warrants goods of its manufacture as being free of defective materials and faulty workmanship during the applicable warranty period. Honeywell’s standard product warranty applies unless agreed to otherwise by Honeywell in writing; please refer to your order acknowledgment or consult your local sales office for specific warranty details. If warranted goods are returned to Honeywell during the period of coverage, Honeywell will repair or replace, at its option, without charge those items that Honeywell, in its sole discretion, finds defective.
The foregoing is the buyer’s sole remedy and is in lieu of all other warranties, expressed or implied, including those of merchantability and fitness for a particular purpose. In no event shall Honeywell be liable for consequential, special, or indirect damages.
While Honeywell may provide application assistance personally through our literature and the Honeywell website, it is the buyer’s sole responsibility to determine the suitability of the product in the application. Specifications may change without notice. The information we supply is believed to be accurate and reliable as of this writing. However, Honeywell assumes no responsibility for its use.
FOR MORE INFORMATION
Honeywell Advanced Sensing Technologies services its customers through a worldwide network of sales offices and distributors. For application assistance, current specifications, pricing or the nearest Authorized Distributor, visit our website or call:
| USA/Canada | +1 302 613 4491 |
| Latin America | +1 305 805 8188 |
| Europe | +44 1344 238258 |
| Japan | +81 (0) 3-6730-7152 |
| Singapore | +65 6355 2828 |
| Greater China | +86 4006396841 |
Honeywell
Advanced Sensing Technologies
830 East Arapaho Road
Richardson, TX 75081
sps.honeywell.com/ast![]()



















