PENTAIR 116A 120B Single Stage and Two Stage Pumps

NOTE
This repair manual is applicable to pump models 114A-115A-116A and 120B single and two stage. All photos and exploded views illustrate two stage and models.
ATTENTION: SAFETY WARNINGS:
Read and understand all warnings before installation or servic-ing pump.
OPERATIONAL LIMITS
- Maximum Operating Pressure: 300 psi at Temperatures to 225°F (107°C)
- Maximum Operating Temperature: 275°F (135°C)
* See ANSI B16.4 for pressure-temperature ratings of class 125 threaded fittings.
* See ASTM A126/ANSI B16.1 for pressure/temperature ratings of flanges.
ELECTRICAL SAFETY
Warning: Electrical Shock Hazard
- Warning: Electrical Shock Hazard
All electrical connections are to be made by a qualified elec-trician in accordance with all codes and ordinances. Failure to follow these instructions could result in serious personal injury, death or property damage. - Warning: Electrical Overload Hazard
Insure all motors have properly sized overload protection. Failure to follow these instructions could result in serious personal injury, death or property damage. - Warning: Sudden Start-Up Hazard
Disconnect and lockout power source before servicing. Failure to follow these instructions could result in serious personal injury, death or property damage.
HIGH TEMPERATURE SAFETY
- Warning: Hot Surface Hazard
If pumping hot water, insure guards or proper insulation is installed to protect against skin contact to hot piping or pump components. Failure to follow these instructions could result in serious personal injury, death or property damage. - Warning: Spraying Water Hazard
When servicing pump replace all gaskets and seals. Do not re-use old gaskets or seals. Failure to follow these instruc-tions could result in serious personal injury, death or proper-ty damage.
HIGH PRESSURE SAFETY
- Warning: High Pressure Hazard
The pump is rated at a maximum of 300 psi at 225°F. Do not exceed this pressure. Install properly sized pressure relief valves in system. Failure to follow these instructions could result in serious personal injury, death or property damage. - Warning: Expansion Hazard
Water expands when heated. Install properly sized thermal expansion tanks and relief valves. Failure to follow these instructions could result in serious personal injury, death or property damage.
SERVICE
Your Aurora pump requires no maintenance other than periodic inspection, occasional cleaning and lubrication of bearings. The intent of inspection is to prevent breakdown, thus obtaining optimum service life.

LUBRICATION OF BEARINGS
- Regreaseable bearings will require periodic lubrication and can be accomplished by using the zerk or lubrication fittings in the bearing arm. Lubricate the bearings at regular intervals using a grease of high quality. Polyurea base grease is recommended as bearing lubricant for pumps operating in both wet and dry loca-tions. Mixing of different brands of grease should be avoided due to possible chemical reactions between the brands which could damage the bearings. Accordingly, avoid grease of veg-etable or animal base which can develop acids, as well as grease containing rosin, graphite, talc and other impurities. Under no circumstances should grease be reused.
- Over lubrication should be avoided as it may result in overheat-ing and possible bearing failure. Under normal application, ade-quate lubrication is assured if the amount of grease is main-tained at 1/3 to 1/2 the capacity of the bearing and adjacent space surrounding it. Approximately 1/2 ounce of grease is required to maintain this level.
- In dry locations, each bearing will need lubrication at least every 4,000 hours of running time or every 6 to 12 months, whichever is more frequent. In wet locations the bearings should be lubricated at least after every 2,000 hours of running time or every 4 to 6 months, whichever is more frequent. A unit is considered to be installed in a wet location if the pump and motor are exposed to dripping water, to the weather, or to heavy condensation such as is found in unheated and poorly ventilated underground locations.
- The motor which drives your Aurora Pump, may or may not, require lubrication. Consult the manufacturer’s recommenda-tions for proper maintenance instructions.
REPAIRS
Before starting any work, insure the electrical power is locked out, the system pressure has been lowered to 0 psi and tempera-ture of the unit is at a safe level.
- Warning: Sudden Start-Up Hazard
Disconnect and lockout power source before servicing. Failure to follow these instructions could result in serious personal injury, death or property damage. - Warning: Hot Surface Hazard
If pumping hot water, insure guards or proper insulation is installed to protect against skin contact to hot piping or pump components. Failure to follow these instructions could result in serious personal injury, death or property damage. - Warning: High Pressure Hazard
The pump is rated at a maximum of 175 psi at 150°F. Do not exceed this pressure. Install properly sized pressure relief valves in system. Failure to follow these instructions could result in serious personal injury, death or property damage. - Warning: Spraying Water Hazard
When servicing pump replace all gaskets and seals. Do not re-use old gaskets or seals. Failure to follow these instruc-tions could result in serious personal injury, death or proper-ty damage. - The pump may be disassembled using the illustrations and text provided. Although complete disassembly is covered, it will sel-dom be necessary to completely disassemble your Aurora pump.
- The illustrations accompanying the disassembly instructions show the pump at various stages of disassembly. The illustra-tions are intended to aid in the correct identification of the parts mentioned in the text.
- Inspect removed parts at disassembly to determine if they can be reused. Ball bearings that turn roughly or show wear should be replaced. Cracked castings should never be reused. Scored or worn pump shafts should be replaced. Gaskets should be replaced at reassembly simply as a matter of economy. They are much less expensive to replace routinely than to replace singly as the need arises. While motors and motor controls are often returned to the manufacturer for repairs it is usually more prac-tical and economical to repair the pump at the job site or the pump repair shop.
- Cleaning of most parts can be accomplished with the use of clean rags.
- Warning: Use of Solvents
We do not recommend the use of solvents or petroleum cleaners for cleaning the parts because of the fire danger. Failure to follow these instructions could result in serious personal injury, death or property damage.
A. Outboard end of two stage turbine pump with packing. Internal retaining ring, outboard retainer and jam nut shown in foreground.
DISASSEMBLY OF THE PUMP. READ AND UNDER-STAND ALL SAFETY WARNINGS AT THE BEGINNING OF THE MANUAL BEFORE BEGINNING INSTALLATION OR ANY REPAIR WORK. Disassemble only what is needed to make repairs or accomplish inspection. See figures 2 and 3 for single stage pumps. See figures 4 and 5 for two stage pumps.
- Remove the grease fittings (1) and the pipe plugs (2 and 3).
Remove the retaining ring (49) from the outboard cover bearing arm. Remove the outboard retainer (5) by gripping with pliers and twisting. Using a socket wrench, remove the jam nut (6), holding the pump shaft at the inboard end. (See picture A).
CAUTION
Do not apply a wrench or holding tool directly to the shaft, the shaft must not be scratched. Hold the shaft by securing the coupling. Scratching or marring the shaft may result in damage to the mechanical seal or bearings when they are removed later in the disassembly (see Figure 1 following). - Remove the coupling and pump coupling key (8) from the shaft. Pry off the inboard retainer (7).
PACKING
- On pumps with packing remove the gland nuts (10), wash-ers (11) and clamps (12). Remove the split gland (13). Release the cotter pins (14), and remove the clevis pins (15) and swing bolts (16). On 114A type 4R and 4RTL pumps, the packing gland (13) is one piece and no clamps (12) or washers (11) are required. This gland is removed identically to the slinger washer (22) as outlined in the next step.
- Remove the cover capscrews (17). Remove the covers (18 and 19 or 20 and 21) by sliding cover back off the shaft (33). Two screwdrivers of small pry bars inserted between each cover and the casing (42) will be required to remove the bearings (29 and 30), which are mounted in the covers, from the shaft.
CAUTION
Removing the covers should be done cautiously. Rough handling could damage either the shaft, mechanical seal, cover gasket or the cover itself and cause needless expense.
When the covers are slid off the shaft, the slinger (22) (and the gland (13) on the 114A 4R and 4RTL pumps) will be released and can be removed.
B. Outboard end, two stage pump with packing. Cover is shown loos-ened for removal. The internal retaining ring, outboard retainer, jam nut, and bearing are shown as removed.MECHANICAL SEALS
- If the pump assembly is equipped with a mechanical seal (24) the seal components should now be removed (see Figures 3 and 5).
- Slide the mechanical seal off of shaft. The 114A type 4R and 4RTL standard seal spring does not fit on the step of the drive collar but instead is equipped with a spring cap that rests forward of the step on the drive collar. (See Figure 1.)
- If necessary, remove the flexible cup and the stationary seat which will have remained in the cover when it was withdrawn.
- Release the set screw (25) and slip the drive collars (26) off the shaft.

NOTE
Before removing this part, scribe a small mark on the shaft just behind the collars. This will aid in correctly positioning them during reassembly.
- Remove the cover gaskets (23) and bearing (29) from the outboard cover. Press out the bore retainer (30) from the outboard cover.
- Remove the cover gaskets (23) and bearing (9) from the inboard cover. Press out the bore retainer (30) from the inboard cover.
- Remove the outboard channel ring (34). To make removal easier, tap lightly around the casing (42) and against the ring near the outer diameter, and then pull on the shaft. If the channel ring is tight in the casing, it may be driven out from the opposite side by means of a heavy hammer cushioned by a wood block, or, if such facilities are available, pressed out hydraulically. Remove the cover lock pin (32) from the out-board channel ring. Remove the inboard channel ring (35) by similar appropriate means. Remove the cover lock pin (32) from the inboard channel ring. Remove impeller(s)(37), shaft (33) and spacer (39 & 40) assembly. On two stage pumps, remove the spacer key (41) from the casing.

C. The pump with the packing type cover removed. The cover gasket and water slinger are in the foreground. - Slide the impeller(s) (37), off the shaft (33). Remove the impeller key(s) (38). Remove the spacers (39 and 40) on two stage pumps.
- Remove the suction and discharge pipe plugs (43 and 44) from the casing (42).
- If required, remove the name plate pins (45) and name plate (46).
REASSEMBLY. Clean and inspect all parts thoroughly prior to reassembly. Replace worn or damaged parts. Check that all mat-ing surfaces are free of nicks and burrs.
Inspect the shaft and bearings carefully for signs of excessive wear. Reassembly operations cover the entire pump. Reassembly will generally be in reverse order of disassembly but not exactly so. If disassembly was not complete, use for ref-erence those steps which apply to your particular repair pro-gram. If the pump was removed from the baseplate, consult the installation section of this manual before operating again. Reassemble the pump as follows.
- Subassembly inboard impeller key (38) and inboard impeller (37) on two stage pumps.

- D. The pump with the outboard channel ring was removed. The shape of the waterway and the location of the intake and discharge ports can be seen.
- Press cover lock pins (32) into channel rings (34 and 35). Set inboard channel ring (35) into position in the casing (42). On two stage pumps, position spacer key (41) in slot at bottom of pump casing. Make a sub-assembly of the shaft (33) with inboard impeller (37) and spacer rings (39 & 40). Align matching slots in the spacer rings with spacer key(41) and slide the assembly into the casing, shaft coupling end first. During this time, make sure that the suction and discharge openings in the rings and spacers line up with the suction and discharge posts in the bore of the casing. Position outboard channel ring (34) and slide into casing. Position cover gaskets (23) on each side of the casing.
MECHANICAL SEALS
- If unit is equipped with mechanical seals, (a) slide drive collars (26) onto shaft, locate in accordance with scribed mark (see disassembly instructions) and secure with set screw (25); (b) subassembly flexible cup and stationary seat to cover (20 and 21).
- Warning: Spraying Water Hazard
When servicing pump replace all gaskets and seals. Do not re-use old gaskets or seals. Failure to follow these instruc-tions could result in serious personal injury, death or proper-ty damage.
- E. Seal cover with mechanical seal and drive collar with setscrew.
NOTE
The mechanical seal (24) (See Figures 1, 3 and 5) cannot be installed as an assembly. It is necessary to have the seal seat properly in place before the balance of parts can be added.
Thoroughly inspect the seal cavity in the cover checking for burrs or nicks which could damage the flexible cup of the mechanical seal. Apply a film of liquid dishwashing detergent to the flexible cup and seal seat. Insert seal in the cup and install with cup down.
NOTE
If it is not possible to insert seat with fingers, place card-board protecting ring, furnished with seal, over lapped face of seat and press into place with a piece of tubing having end cut square. Tubing should be slightly larger than the diameter of the shaft. Remove cardboard ring after seat is firmly seated.
Apply a film of dishwashing detergent to allow remaining seal parts to be pushed onto shaft. Check the proper sequence of assembly as indicated in Figure 1.
PACKING
If a packing type unit is being reassembled, subassemble pack-ings (27) and optional lantern ring (28) to stuffing box cavity of cover.
- Warning: Spraying Water Hazard
- Press in bore retainer (30) into bearing arm of outboard cover (18 or 20). Slip cover assembly over shaft.

F. Packing cover with packing, optional lantern ring, swing bolts and gland halves. Water slinger and bore retainer also shown.
CAUTION
Proceed with care — do not damage mechanical seal parts if these are used.
As shaft end emerges from the stuffing box or seal cavity, slip slinger (and gland 114A 4R and 4RTL only) into place over shaft between housing and bearing arm. Position cover to casing making sure lock pins (32) are engaged and secure to the channel ring. Tighten outboard cover to casing using capscrew (17). (See picture C.) - Press bearing (29) into bearing arm and onto shaft being cautious not to damage bearing races, balls and cage. Assemble and tighten jam nut (6) to outboard end of shaft. Place outboard retainer (5) into bore and secure using out-board retaining ring (49).
- Assemble inboard cover (19 or 21) to casing following the procedures outlined in Step 4.
- Slide the bearing tolerance ring (50) onto the shaft until it engages the undercut on the shaft. Press the bearing (9) onto the shaft and into the bearing bore until it rests lightly against the bore retainer (30).
If you encounter a problem pressing the bearing on the shaft, use a short piece of plastic pipe with an inside diame-ter slightly larger than the shaft diameter. Place one end of the pipe against the inner race of the bearing and tap the other end lightly with a soft headed mallet until the bearing is in position. - Press the inboard retainer (7) onto the bearing arm. Assemble pipe plugs (44, 43, 3 and 2) and grease fittings (1) to the covers.
- Assemble swing bolts (16) using clevis pins (15) and cotter pins (14). Assemble glands (13) using clamps (12) washers
- and nuts (10). Do not tighten nuts.
- Grease bearings as previously outlined and insure shaft is free turning prior to starting pump.
- Warning: Pump Mounting
Before starting to remount the pump with an electric motor or drive, read and understand all the warnings listed below.
ELECTRICAL SAFETY
- Warning: Electrical Shock Hazard
All electrical connections are to be made by a qualified elec-trician in accordance with all codes and ordinances. Failure to follow these instructions could result in serious personal injury, death or property damage. - Warning: Electrical Overload Hazard
Insure all motors have properly sized overload protection. Failure to follow these instructions could result in serious personal injury, death or property damage. - Warning: Sudden Start-Up Hazard
Disconnect and lockout power source before servicing. Failure to follow these instructions could result in serious personal injury, death or property damage.
HIGH PRESSURE SAFETY
- Warning: High Pressure Hazard
The pump is rated at a maximum of 300 psi at 225°F. Do not exceed this pressure. Install properly sized pressure relief valves in system. Failure to follow these instructions could result in serious personal injury, death or property damage. - Warning: Expansion Hazard
Water expands when heated. Install properly sized thermal expansion tanks and relief valves. Failure to follow these instructions could result in serious personal injury, death or property damage. - IMPORTANT
After the pump is mounted to the base and reconnected to the electric motor through a flexible coupling, it is important to check for parallel and angular alignment of the coupling in accordance with the coupling manufacturers recommendation. Proper alignment will reduce the possibility of coupling noise or vibration of the pumping unit.
STARTING PUMP AFTER REASSEMBLY.
Do not start pump until all air and vapor has been bled and there is liquid in the pump to provide the necessary lubrication. It is possible that the mechanical seal may drip during first few minutes of opera-tion.
NOTE
Do not overtighten packing; final adjustment must be made after pump is operating.
When adjusting packing, turn both nuts down evenly a flat or two at a time. Let packing work in, then tighten the gland nut another flat or two. This process should be continued until drip rate is approximately 20 to 30 drops per minute. Overtightening a gland will cause the stuff-ing box to heat up and will also cause excessive wear on the shaft.

G. The pump with the shaft, impellers and spacer rings removed. The outboard impeller has been slipped of the shaft.

H. The shaft, impellers and impeller keys for a two stage pump.
|
1. Grease Fitting 2. Pipe Plug 3. Pipe Plug 5. Outboard Retainer 6. Jam Nut 7. Inboard Retainer 8. Key 9. Bearing 10. Nut 11. Washer | A LIST OF PARTS MODEL 114A-115A-116A AND 120B SINGLE STAGE PUMPS (See Figures 2 and 3) 12. Clamp 22. Slinger 13. Gland 23. “O” Ring 14. Cotter Pin 24. Seal 15. Clevis Pin 25. Setscrew 16. Swing Bolt 26. Collar 17. Capscrew 27. Packing 18. Cover, Packing, RH 28. Lantern Ring (optional) 19. Cover, Packing, LH 29. Bearing 20. Cover, Seal, RH 30. Bore Retainer 21. Cover, Seal, LH 32. Pin 33. Shaft |
34. Channel Ring O.B. 35. Channel Ring I.B. 37. Impeller 38. Key 42. Casing 43. Pipe Plug 44. Pipe Plug 45. Drive Screw 46. Nameplate 49. Internal Retaining Ring 50. Tolerance Ring |
|
1. Grease Fitting 2. Pipe Plug 3. Pipe Plug 5. Outboard Retainer 6. Jam Nut 7. Inboard Retainer 8. Key 9. Bearing 10. Nut 11. Washer 12. Clamp | A LIST OF PARTS MODEL 114A-115A-116A AND 120B TWO STAGE PUMPS (See Figures 4 and 5)
13. Gland 24. Seal 14. Cotter Pin 25. Setscrew 15. Clevis Pin 26. Collar 16. Swing Bolt 27. Packing 17. Capscrew 28. Lantern Ring (optional) 18. Cover, Packing, RH 29. Bearing 19. Cover, Packing, LH 30. Bore Retainer 20. Cover, Seal, RH 32. Pin 21. Cover, Seal, LH 33. Shaft 22. Slinger 34. Channel Ring O.B. 23. “O” Ring 35. Channel Ring I.B. |
37. Impeller 38. Key 39. Spacer 40. Spacer 41. Key 42. Casing 43. Pipe Plug 44. Pipe Plug 45. Drive Screw 46. Nameplate 49. Internal Retaining Ring 50. Tolerance Ring |
NOTE
WHEN ORDERING SPARE PARTS ALWAYS INCLUDE THE PUMP TYPE, SIZE, SERIAL NUM-BER, AND THE PIECE NUMBER FROM THE EXPLODED VIEW IN THIS MANUAL.
ORDER ALL PARTS FROM YOUR LOCAL AUTHORIZED DISTRIBUTOR, OR THE FACTORY AT NORTH AURORA, ILLINOIS.
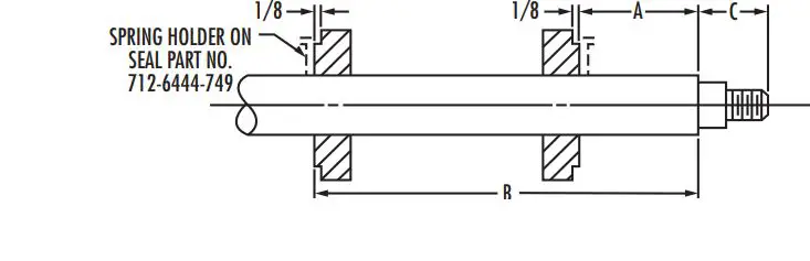
![]() 1/8 1/8 A C SPRING HOLDER ON SEAL PART NO. 712-6444-749
JOHN CRANE TYPE 2 MECH. SEALS B | ||||||
| PUMP SERIES | SHAFT NUMBER | SEAL NUMBER | COLLAR NUMBER | A | B | C |
| A35-I4A* | 728 7258 | 712 6444 | 224 0083 | 2-7/16 | 5-1/8 | 21/32 |
| M4-R4 | 728 7266 | 712 0707 | 224 0082 | 2-5/8 | 7-7/16 | 29/32 |
| D4T-I4TA | 728 7259 | 712 6444 | 224 0083 | 2-7/16 | 6-3/8 | 21/32 |
| D5-I5 | 728 7260 | 712 0707 | 224 0082 | 3 | 7-5/8 | 29/32 |
| J5-P5 | 728 7267 | 712 6452 | 224 0227 | 3-1/4 | 9-1/4 | 31/32 |
| D5T-I5T | 728 7261 | 712 0707 | 224 0082 | 3 | 9-1/8 | 29/32 |
| G6-K6 | 728 7264 | 712 0713 | 224 0084 | 4-3/16 | 11-11/16 | 1-1/8 |
| D6T-F6T | 728 7263 | 712 0713 | 224 0084 | 4-3/16 | 11-11/16 | 1-1/8 |
| G6T-K6T | 728 7265 | 712 0713 | 224 0084 | 4-3/16 | 14-15/16 | 1-1/8 |
| 121 | 728 7273 | 712 0707 | 224 0082 | 2-11/16 | 7 | 29/32 |
| 122 | 728 7274 | 712 0707 | 224 0082 | 2-11/16 | 9 | 29/32 |
* When using replacement seal 712-6444-749, do not change location of collars. Place back of spring holder against collar as shown above.
NOTES:
- 1. The dimensions shown apply only to seal part numbers indicated.




NOTE:
Aurora Pump reserves the right to make revisions to its products and their specifications, this bulletin and related information without notice
Aurora Pumps
800 Airport Road North Aurora, IL 60542 phone: 630-859-7000 fax: 630-859-7060






























