Hard Head 018983 Code Lock For Garage Door Opener

Important! Read the user instructions carefully before use. Save them for future reference. (Translation of the original instructions)
Jula reserves the right to make changes.
For latest version of operating instructions, see www.jula.com
TECHNICAL DATA
- Battery (included) 2x 1.5 V AAA
- Size 92 x 75.9 x 32.7 mm
- Protection rating IP44
- Frequency 433.92 MHz
- Current on standby 2 μA
- Active current 14 mA
- Frequency band UHF (ultrahigh frequency)
DESCRIPTION
This wireless keypad has backlit buttons and is intended to operate garage door opener 018980.
NOTE:
Read the instructions for 018980 as well.
USE
PAIR THE REMOTE CONTROL WITH THE GARAGE DOOR OPENER
- Plug in the plug. “H” flashes on the display and the light goes on. The unit is in standby mode.

- Press the LEARN button on the garage door opener for at least 2 seconds. “•” is shown on the display.

- Enter the code 8888 on the code lock panel and then press A or B twice “•” flashes several times, after which “H” is shown. The garage door opener has learned the keypad code on position A or B.

NOTE:
Repeat the above steps if more keypads are to be learned. The gate opener can learn 2 keypads.
REMOVE PAIRING
- Press LEARN until “•” is replaced by “H”. Pairing between the garage door opener and the code lock has been removed.

NOTE:
This method also removes the pairing between the garage door opener and remote controls.
DELETE PIN TO CODE LOCK
- Press button A and B at the same time on the code lock panel.
- The code lock bleeps for 5 seconds, which indicates that the PIN has been deleted.
PROGRAM NEW PIN FOR CODE LOCK
- Press button A, enter a four-digit PIN, press button A, and enter the same four-digit PIN again.
- The code lock bleeps twice and the status light flashes twice, which indicates that the new PIN code has been received.
CHANGE PIN
- Press button A, enter the existing four-digit PIN, press button B, and enter a new four-digit PIN. Press button B, enter the new PIN again.
- The code lock bleeps twice and the status light flashes twice, which indicates that the new PIN code has been received.
NOTE:
Once forget the password, just delete the pin and set a new pin.
CONTROL GARAGE DOOR OPENER WITH CODE LOCK
- Enter your four-digit code.
- Within 5 seconds, press button A or B (the button that is paired) to control the garage door opener.
REPLACING BATTERIES

- Use a screwdriver to remove the screws and the back cover.
- Remove the 4 screws and the front panel.
- Replace the batteries.
- Assemble in the reverse order.
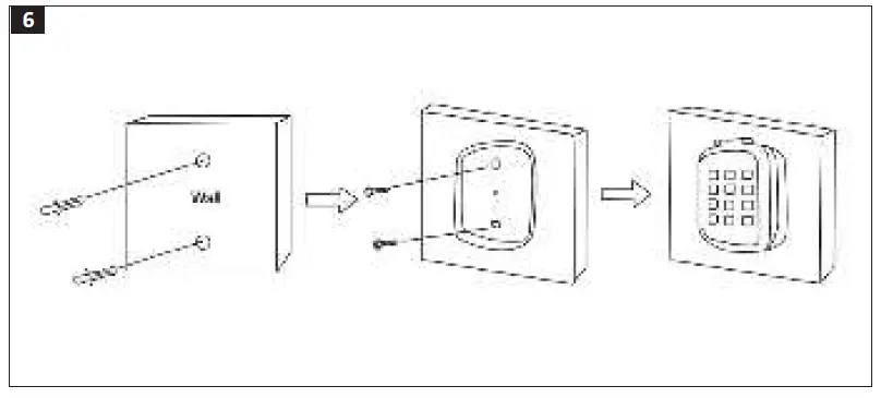
INSTALLATION
INSTALL CODE LOCK
NOTE:
The keypad should be installed outside the garage door, on the same side of the drive as the garage door opener. The gap between keypad and garage door opener should be no more than 5 metres. If the code lock is installed on the opposite side of the drive from the garage door opener there is a risk of electromagnetic interference from the vehicle.

- Screw the back cover on the wall.
- Install the remaining part of the code lock on the back cover.
TROUBLESHOOTING
| Problem | Action |
| Code learning failed. | 1. Check if the battery is discharged. |
| 2. Repeat learning with the keypad closer to the garage door opener. | |
| It is not possible to operate the gate from the keypad. | Check if the battery is discharged. |
| The gap is too wide. Change the position of the code lock so that the gap to the garage door opener is not more than 5 metres. | |
| Forgotten access code. | Delete PIN and the program a new PIN for code lock. |























