Hard Head 018980 Garage Door Opener

SAFETY INSTRUCTIONS
Read all the instructions and safety instructions carefully before use and save them for future reference. Failure to follow all the instructions and safety instructions can result in a risk of personal injury and/or material damage.
WARNING!
- If the building in which the product is to be installed does not have any other entrance doors an external release mechanism should be installed so that the garage door can be opened in the event of a power cut.
- Follow all the instructions and safety instructions. Incorrect installation can result in serious personal injury.
IMPORTANT:
Disconnect the drive unit from the power supply before cleaning, maintenance and/or replacing parts.
- The product is not intended to be used by persons (children or adults) with any form of functional disorders, or by persons who do not have sufficient experience or knowledge on how to use it, unless they have received instructions concerning the use of the product from someone who is responsible for their safety.
- Check that the garage door is well balanced. If the door jams or fastens, it must be replaced. Garage doors and door mechanism springs, lines, roller blocks, brackets and assembly parts are subjected to severe stain and can result in serious personal injury. Never attempt to disconnect, move or adjust them. Maintenance and repairs must only be carried out by qualified personnel.
- Do not wear loose-fitting clothing or jewellery when installing or adjusting the product.
- All superfluous cables, lines and chains must be removed and equipment not necessary to operate the motor must be disconnected/deactivated before the product is installed. Check before installation that the door is in good mechanical condition and correctly balanced, and that it opens and closes correctly. Installation and electrical connection should be carried out in accordance with local regulations. The product must only be connected to a correctly earthed power point.
- Lightweight doors of fibreglass, aluminium or steel must be reinforced to avoid damage. It is best to order a reinforcement set from the door manufacturer.
- Do not install the product in damp or wet areas.
- Check after installation that the mechanism is correctly adjusted and that the door leaf reverses automatically if it comes into contact with an object, 100 mm high, placed on the floor. Incorrect adjustment can result in a risk of serious personal injury when closing.
- Check every month that the door leaf still reverses automatically if it comes into contact with an object, 100 mm high, placed on the floor. If this does not happen, adjust and check again until the reversing works properly. Incorrect adjustment can result in a risk of serious personal injury.
- Check after installation that no parts of the door extend over a public road or pathway.
- If the product is to be used together with a recessed wicket door it must be configured so that the door cannot be opened when the wicket door is open.
- Check the installation at regular intervals for wear, damage, and imbalance, especially the lines, springs and brackets for the mechanism. Do not use the product if it is damaged, incorrectly adjusted or unbalanced risk of personal injury.
- Apply the child safety sticker beside the illuminated control button as a warning and reminder. Unlock all existing locks to avoid damaging the door.
- When appropriate, fit a permanently installed control box at least 1.5 m above the ground and within view from the door, but at a safe distance from moving parts and out of the reach of children. Warning labels for pinch risk and risk of getting trapped should be applied on or beside the permanently installed control box. Keep children under supervision to make sure they do not play with the product. Store the remote controls out of the reach of children.
- Never activate and operate the product from places where the door is not fully visible, or if there is something that can obstruct the movement of the door, of if the product is not correctly adjusted. Make sure that no persons, especially children, or pets pass through the door opening or are near the door when the door leaf is in motion.
- The lever for manual disconnection must not be mounted higher than 1.8 m over the ground. Only use the manual bypass to release the carrier, and if possible only when the door is closed. Do not use the red handle to open or close the door by hand.
- Be very careful with the manual bypass if the door is open it can quickly drop as a result of weak or broken springs.
- The product must not be used for doors with door leaf openings with a diameter of more than 10 mm, or edges or other extruding parts that can be gripped or stood on..
- Switch off the power supply before cleaning and maintenance.
- Do not allow children to clean or maintain the product without supervision.
- The transformer and power cord must only be replaced by qualified personnel using identical spare parts.
- Do not allow children to play with the product, its controls or remote controls.
- Check each month that the door moves as it should and that an object can be released if the door comes into contact with an object, 50 mm high, placed on the floor (if the door does not have a pinch guard system that is activated on contact with the bottom edge of the door).
- Check after installation that the mechanism is correctly adjusted, that the door changes direction and that an object can be released if the door comes into contact with an object, 50 mm high, placed on the floor (if the door does not have a pinch guard system that is activated on contact with the bottom edge of the door).
- Adjust, if necessary, and then check again. Incorrect adjustment can result in a risk of personal injury
- If the product does not function correctly after adjustment, contact an authorised service centre.
- Fit the trigger for manual release no more than 1.8 m over the ground.
- If the trigger is detachable, store it near the door.
- A damaged power cord or plug must be replaced by an authorised service centre, or other qualified personnel, to ensure safe use.
- Be careful when releasing manually if the door is open it could drop as a result of weak or broken springs
- Place the warnings for the risk of getting trapped over or near the permanently installed controller. Put the warning sign for manual release near the release device for manual release.
SYMBOLS
![]() | Read the instructions. |
![]() | WARNING! Pinch risk/risk of getting trapped. Check at regular intervals that the door leaf reverses automatically if it comes into contact with an object, 100 mm high, placed on the floor. Adjust, if necessary. |
![]() | Safety class II |
![]() | The product is approved in accordance with the applicable directives. |
![]() | Recycle the product at the end of its useful life in accordance with local regulations. |
TECHNICAL DATA
| Max door leaf weight | 80 kg |
| Max door height | 230 cm |
| Max door opening area | 12 m₂ |
| Speed | 12 cm/s |
| Rated output | 120 W |
| Torque | 8 Nm |
| Voltage | 230 VAC |
| Weight | 14 kg |
| Radio frequency | 433.92 MHz |
PRODUCT DESCRIPTION
The product is a garage door opener intended for overhead doors and up and over doors. The product is operated with two remote controls. Guides, chain, screws and expander plugs are included. Minimum distance between ceiling and door leaf in open position: 30 mm.
The figure shows a complete installation. The figure is intended as guidance for assembly, installation and adjustment.FIG. 1
- Guide bracket
- Sprocket fork
- Carrier
- Guide
- Chain
- Suspension rod
- Power cord
- Door opener (drive unit)
- Lighting
- Line for manual release
- Curved door arm
- Straight door arm
- Door leaf bracket and mounting plate
- Wall bracket for guide
- Chain sprocket
- Chain sprocket holder
- Release arm
FIG. 2
To open the door manually, first close it and then tug down the line (10) for manual release to release the carrier (3).
FUNCTIONS
- Automatic stop if something blocks the opening
- Automatic reversing if something blocks the closing
- Soft start and soft stop (time frames cannot be changed)
INSTALLATION
PREPARATIONS
- The fastener should be mounted stably and safely in a suitable structural part of the building roof truss, rafter, crossbar or equivalent. The door opener is easier to install when the garage door is closed and before the control box has been put in.
- If the garage has a ceiling it may be necessary to have separate supports and other fittings (sold separately).
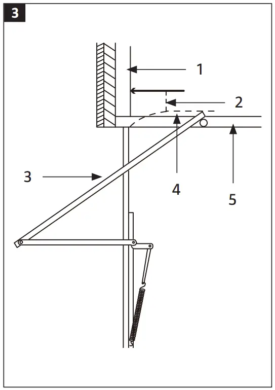
Overhead door with horizontal guide
- Wall over door
- 5 cm
- Door leaf
- Highest point reached 5. Guide
FIG. 3
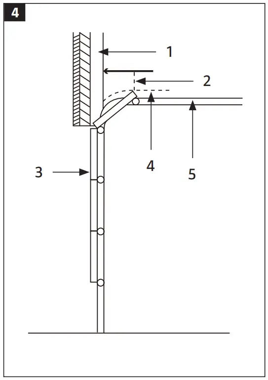
Up and over door with arch shaped guides
- Wall over door
- 5 cm
- Door leaf
- Highest point reached 5. Guide
FIG. 4
The door opener can be connected directly to doors shaped as per figure 3 and 4. For doors shaped as in figure 5 and 6 an additional arm is needed (sold separately).
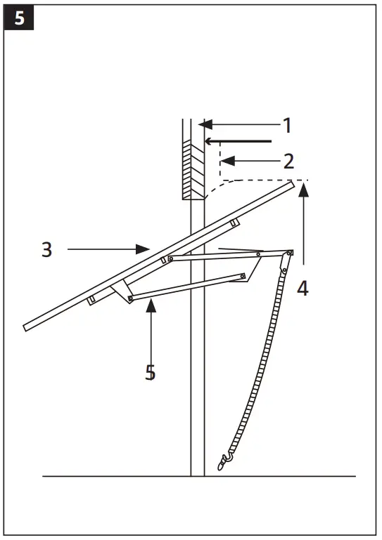
Overhead door without guides: Side arm
- Wall over door
- 20 cm
- Door leaf
- Highest point reached
- Side arm
FIG. 5
Overhead door without guides: Pivoted suspension
- Wall over door
- 20 cm
- Door leaf
- Highest point reached
- Pivoted suspension
FIG. 6
TOOLS
FIG. 7
INSTALLATION
Chain package
- Put one end of the chain through the opening between the sprocket (2) and the sprocket fork (1) and lay the chain round the sprocket (2).
- Connect the ends of the chain with the chain lock (3).
- Fit the sprocket fork (1) in the guide section with holes.
FIG. 8
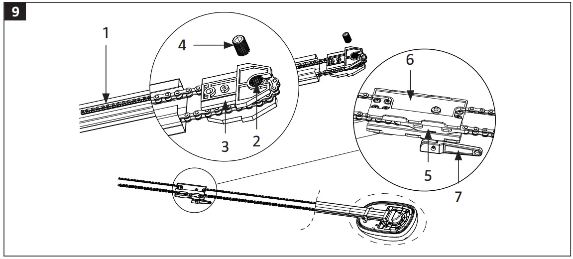
Fitting the drive unit
- The drive unit consists of the sprocket (2), bracket (3) and boom junction sleeve (4), and is supplied fully assembled from the factory.
- Fasten the chain in both ends of the carrier (6) and put the carrier in the guide. The carrier (6) should be fastened in the chain lock (5).
FIG. 9The release arm (7) should be directed towards the drive unit.
NOTE: - Place the chain round the sprocket (2) and fit the drive unit in one of the holes in the guide.
Fitting the guide
- Place the guide (1) parts on a level surface. The four sections can be installed in an optional order.
- Put a joining piece (2) on a guide section. Connect the guide sections together by fitting a joining piece on the next guide section. Knock the guide sections together by knocking the ends of the fitted guides against a piece of wood. Repeat for the other guide sections.
- Check that the chain lock (4) is on side A (see figure).
FIG.10
WARNING!
The guide edges are sharp wear safety gloves when installing.
NOTE:
Check that the guide section with holes (5) is in the end furthest away from the drive unit.
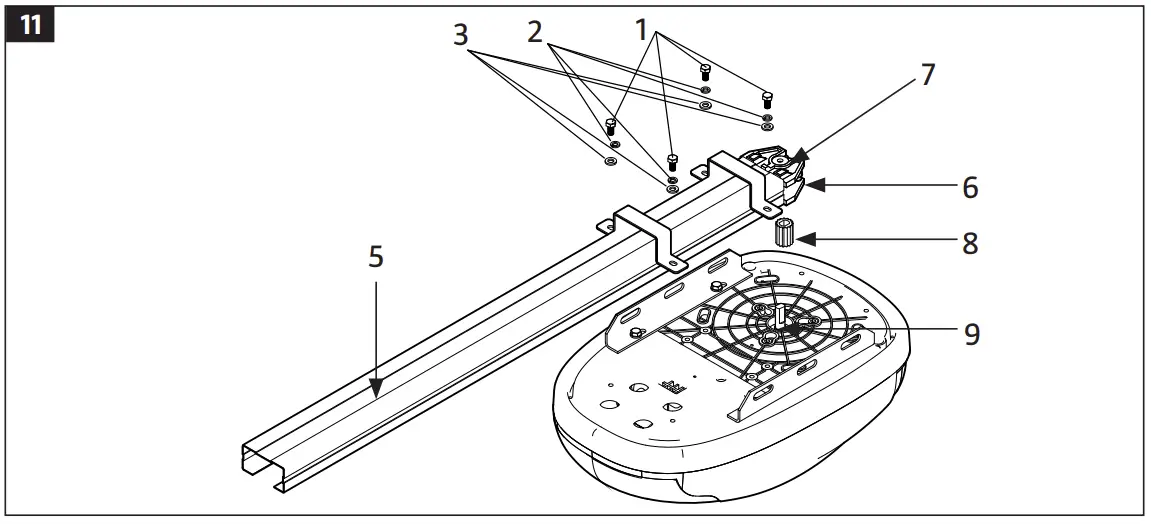
Fitting of guide on drive unit and fitting the chain
- Put the 4 screws (1) with spring washers (2) and flat washers (3) in the holes in the fastener clamps (4).
- Put the guide (5) on the drive unit.
- Lay the chain (6) round the sprocket (7).
Press the sprocket bracket against the front end of the guide to tension the chain. - Put the boom junction sleeve (8) in the sprocket (7).
- Put the boom junction sleeve (8) on the drive shaft (9).
- Align the screws in the clamps (4) to the threaded holes in the drive unit. Screw the clamps in the drive unit. Firmly tighten the joints. Check that the drive unit sprocket correctly engages with the chain.
FIG. 11
IMPORTANT:
Only use the supplied screws. Different screws can ruin the drive unit.
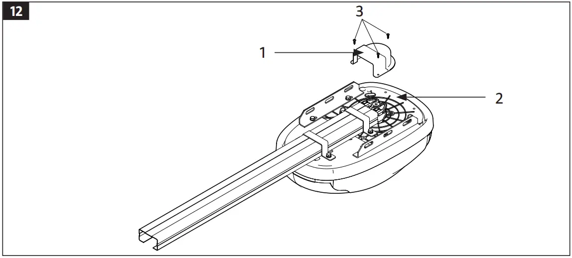
Fitting the drive casing
Put the drive casing (1) on the drive unit (2) and fasten in place with the screws (3).FIG. 12
Fitting of guide bracket and adjusting the chain tension
- Put the guide bracket (1) on the sprocket fork.
- Put a flat washer (3), the spring (2) and another flat washer (3) on the retaining screw (4) for the sprocket fork.
- Put the nut (5) on the retaining screw (4) and tighten by hand. Tension the chain by tightening the nut (5) with the spanner (6) until the chain hangs freely in the guide and does not touch the inside of the guide.
- The installation is now complete.
FIG. 13
INSTALLATION
- Wear safety glasses when working above head height.
- Unlock all the existing locks to avoid damage. Disconnect all the lines and wires from the garage door before fitting the door opener. Failure to do this can result in a risk of serious personal injury.
- If possible the door opener should be installed at least 2.1 m over the floor.
Selection and marking of the position of the wall bracket
The wall bracket for the guide should be firmly mounted in a strong joist or other structural part.
If necessary the wall or roof must be reinforced with a 100 mm thick fibreboard. Failure to implement the reinforcement can result in a risk that the automatic reversing of the door opener will not work.
- The wall bracket for the guide can be fastened in the wall over the door opening (1) or in the roof (3). Follow the instructions for the positioning that is best for the required installation.
- Close the door and mark out the vertical centre line (2) for the door. Mark the line all the way up on the wall over the door.
- Open the door to its highest point. Draw a horizontal marking (4) that cuts the vertical line on the wall over the door opening, 5 cm over the highest point reached by the door, to ensure there is enough space for the top edge of the door leaf.
FIG. 14
A. Wall mounting of bracket
- Centre the guide bracket (1) on the vertical centre line (2), with the bottom edge on the horizontal line (4) and with the arrow pointing at the roof.
- Mark the position of the holes for the bracket (5).
- Drill holes with a 4.5 mm drill and screw the bracket in place with wood screws (3).
B. Roof installation
- Extend the vertical centre line (2) up in the roof.
- Centre the bracket (1) on the extension of the vertical centre line, no more than 150 mm from the wall. The arrow on the bracket should point towards the drive unit. Mark the position of the holes for the bracket (5).
- Drill holes with a 4.5 mm drill and screw the bracket in place with wood screws (3). If the roof is made of concrete, use the supplied expander plugs (6).
FIG. 15
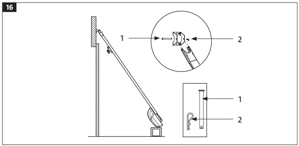
Fitting the guide in the bracket
- Put the drive unit and guide on the floor, below the bracket. Protect the casing on the drive unit with packaging material.
- Lift the end of the guide and align the hole in the guide bracket to the hole in the wall bracket.
- Put the cotter (1) through the hole to fasten the guide bracket in the wall bracket. Secure the cotter with the lock pin (2).
FIG. 16
NOTE:
It may be necessary to place the drive unit on a temporary support for up and over doors. The drive unit must be secured on the support, or held in place by an assistant.
Positioning the door opener
- Lift the door opener and place the drive unit on a step ladder, or equivalent.
- Open the door. Put a 25 mm thick fibreboard (1) on the door leaf, near the top edge of the door leaf and near the centre line, see figure. Allow the guide to rest on the fibreboard.
- If the door leaf touches the carrier when the door is open, pull down the release arm to release the inner and outer part of the carrier. The carrier can remain released until the door arm has been connected to the carrier.
FIG. 17
NOTE:
If the space above permits it can be easier to use a 25 mm thick spacer (1) to adjust the gap between door leaf and guide.
Mounting of the door opener
- Bend the suspension rod (1) so that the bent part is flush with the surface of the roof.
- Measure the gap from the bracket over the door opening to the screws (4) for the roof bracket. Mark out this gap on the roof, starting from the wall over the door opening. This is the position where the unit should be installed.
- Open the door all the way. Allow the door opener to rest against the door leaf.
- Fit the suspension rod on the screws for the drive unit bracket (4). Tighten the 37 suspension rod on the screws (4) with the nuts (5).
– If the roof is made of concrete, drill 8 mm holes in the roof and use expander plugs (2). Fasten the suspension rod to the roof with the screws (3).
– If the roof is made of wood, drill 4 mm holes in the roof and use the screws (3).FIG. 18
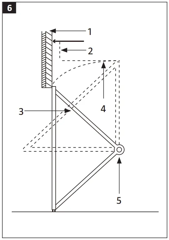
Mounting of door leaf bracket
If the door is an overhead door it is necessary to have a conversion kit for the door arm. Follow the instructions below for the replacement door arm. Be very careful when removing standard components and fitting the conversion components for the door arm. Keep your fingers and the rest of your body away from the moving parts pinch risk.FIG. 19
NOTE:
Lightweight door leafs must be provided with horizontal and vertical reinforcement.
Installation for up and over and overhead doors
The door leaf bracket has mounting holes on the right and left side. If the installation requires the mounting holes to be placed over or under, use the door leaf bracket together with the door leaf plate, see figure.
Centre the door leaf bracket (with or without door leaf plate) at the top on the inside of the door leaf, see figure. Mark the position of the hole.
Installation of door arm
A. For overhead door
- Join the straight (1) and curved (2) door arm to the longest possible length (overlapping 2 or 3 holes) with the mounting parts (3), (4) and (5).
- Close the door and connect the straight door arm (1) to the door leaf bracket with the cotter (6). Secure the cotter (6) with the lock pin (7).
- Release the inner and outer part of the carrier.
- Move the outer part of the carrier back towards the drive unit and connect the curved door arm (2) to the hole in the carrier (8) with the cotter (6). The door leaf may need to be lifted a little to put the cotter in. Secure the cotter (6) with the lock pin (7).
FIG. 20
NOTE:
The end position should be set so that the door leaf does not lean back when the door is fully open. Even a slight backward tilt (9) will cause the door leaf to bounce and/or pull when the door is opened or closed from being fully open.
B. For overhead door
Install as shown in figure B and then continue to step A.
HOW TO USE
Programming of door opener and remote controls
- Never activate and operate the product from places where the door is not fully visible, or if there is something that can obstruct the movement of the door, of if the product is not correctly adjusted.
- Make sure that no persons, especially children, or pets pass through the door opening or are near the door when the door leaf is in motion, and do not let children handle the remote controls or press their buttons.
- The door opener has a memory for up to 6 remote controls.
On delivery the door opener and remote controls are programmed with the same code.
If additional remote controls are required, the programming of the door opener must be supplemented with the codes for these.
NOTE:
Check that the door and door opener are completely and correctly installed.
Pairing with the door opener
- Plug in the plug. The letter H flashes in the display and the light goes on. The unit is now in standby mode (figure 1).
- Press the LEARN button on the door opener for at least 2 seconds. The symbol · is shown in the display (figure 2). Press the button on the door opener to be paired with the door opener twice. The symbol · flashes on the display and then the letter H is shown (figure 3).
- The code for the remote control button is then transferred to the door opener and the pairing is complete.
FIG. 21
NOTE:
Repeat the above steps to pair additional remote controls. The door opener has a memory for up to 6 remote controls.
Deletion of all codes
Press the LEARN button on the remote control. The symbol · is shown on the display and then switches to H. When H starts flashing on the display the codes are deleted (figure 4 in figure 21).
Using the remote control
The remote control has 4 buttons that can be paired with 4 different door openers. When a button has been paired it controls “its” door opener by repeatedly pressing in the sequence open – stop – close – stop – open …
Adjusting the limit position
- Press the SET button for at least 4 seconds. 1 is shown in the display (figure 1). Tap the SET button again. 1 flashes in the display (figure 2). The limit position can now be set.
- Press the UP button. The motor starts and begins to drive the door opener to open position. The symbol n flashes in the display to show that the door is opening (figure 3). Release the button when the door leaf has reached the required position. The movement stops. The limit position for open door (upper limit position) can be set with the UP and DOWN buttons. Press the SET button to save the setting when the position to be the limit position has been reached. 1 is shown in the display (figure 4). The setting for limit position for open door is then ready.
- Press the UP button so that 2 is shown in the display (figure 5).
- Tap the SET button. 2 starts flashing in the display (figure 6). The limit position for closed door (bottom limit position) can now be set.
- Press the DOWN button . The motor starts and begins to drive the door opener to closed position. The symbol u flashes in the display to show that the door is closing (figure 7). Release the button when the door leaf has reached the required position. The movement stops. The limit position for closed door (bottom limit position) can be set with the UP and DOWN buttons. Press the SET button to save the setting when the position to be the limit position has been reached. 2 is shown in the display (figure 8). The product waits for activation of other positions. Press the SET button for a few seconds, until H is shown on the display (figure 9). The setting for limit position for open door is then ready.
FIG. 22
Adjusting the opening force
- Press the SET button for at least 4 seconds. The display shows 1 (skip this step if the setting of the opening force is made immediately after setting the limit position).
- Press the UP button until 3 is shown in the display (figure 1). Tap the SET button. 3 starts flashing in the display (figure 2). The opening force can now be set.
- Tap the UP button. A number from 1 to 9 flashes in the display (figure 3) to show the set opening force. The standard setting is 4. The minimum adjustable force is indicated as 1 and the maximum as 9. The number/force increases by 1 each time the UP button is pressed. The number/force is reduced by 1 each time the DOWN (figure 4) button is pressed.
- Press the SET button to save the setting when the required opening force has been set. 3 is shown in the display (figure 5). Other parameters can now be set. Press the SET button for a few seconds, until H is shown on the display (figure 6). The opening force is now set.
FIG. 23
Adjusting the closing force
- Press the SET button for at least 4 seconds. The display shows 1 (skip this step if the setting of the closing force is made immediately after setting the opening force).
- Press the UP button until 4 is shown in the display (figure 1). Tap the SET button. 4 starts flashing in the display (figure 2). The closing force can now be set.
- Tap the UP button. A number from 1 to 9 flashes in the display (figure 3) to show the set closing force. The standard setting is 4. The minimum adjustable force is indicated as 1 and the maximum as 9. The number/force increases by 1 each time the UP button is pressed. The number/force is reduced by 1 each time the DOWN (figure 4) button is pressed.
- Press the SET button to save the setting when the required closing force has been set. 4 is shown in the display (figure 5). Other parameters can now be set. Press the SET button for a few seconds, until H is shown on the display (figure 6). The closing force is now set.
FIG. 24
Setting automatic closing
- Press the SET button for at least 4 seconds. The display shows 1 (skip this step if the setting of the closing force is made immediately after setting the closing force).
- Press the UP button so that 5 is shown in the display (figure 1). Tap the SET button. 5 starts flashing in the display (figure 2). The function for automatic closing can now be activated/deactivated and its delay set.
- Tap the UP button. A number from 0 to 9 flashes in the display (figure 3) to show the set closing delay. The standard setting is deactivated automatic closing, which is indicated by 0 (figure 3). The minimum delay is 1 minute, and the maximum delay is 9 minutes. The number/delay increases by 1 (1 minute) each time the UP button is pressed. The number/delay is reduced by 1 (1 minute) each time the DOWN (figure 4) button is pressed. 0 indicates that automatic closing is deactivated.
- Press the SET button to save the setting when the required delay has been set. 5 is shown in the display (figure 5). Other parameters can now be set. Press the SET button for a few seconds, until H is shown on the display (figure 6). Automatic closing is now set.
FIG. 25
IMPORTANT:
Function check of automatic reversing.
It is very important that automatic reversing functions, and it must therefore be checked at regular intervals. The door should automatically go back to open position if it comes into contact with an object 100 mm high placed on the floor. Incorrect adjustment can result in a risk of serious personal injury when closing. Check every month, and adjust if necessary.
Place an object 100 mm high on the floor under the door leaf. Close the door with the door opener. The door should automatically go back to open position when it comes into contact with the object. If the door stops at the test obstacle, without going back, remove the obstacle and reset the limit position. Repeat the function check.
If the door reverses at the test obstacle, remove the obstacle and run a complete opening/ closing cycle. The door must not reverse when the door leaf reaches its closed position. If this happens, reset the limit position setting and the settings for opening and closing force. Do a function checkof the automatic reversing again.FIG. 26
Lighting
The light switches on automatically when the product is activated. The light switches off automatically if no buttons are pressed on the control box or remote controls for 3 minutes.
CONNECTING ACCESSORIES
On the side of the drive unit there is a port for connection of accessories (figure 3).
- Terminal 1: Door control button
- Terminal 2: Door control button
- Terminal 3: Photocell (security function)
- Terminal 4: Photocell (security function)
- Terminal 5: Auxiliary outlet 24 VDC (+)
- Terminal 6: Auxiliary outlet 24 VDC ()
FIG. 27
NOTE:
The output current from terminal 5 and 6 is less than 100 mA.
MAINTENANCE
The product requires very little maintenance if it is installed correctly. The chain should be lubricated every 6 months.
EVERY MONTH
- Function check of automatic reversing and adjust, if necessary.
- Open and close the door manually and check that it runs smoothly and easily. Contact a qualified service technician if the door is sluggish, fastens or is unbalanced.
- Check that the door opens and closes completely. Adjust the limit positions and/ or opening and closing force, if necessary.
EVERY 6 MONTHS
- Release the carrier and check the chain tension. Adjust, if necessary.
EVERY YEAR
- Lubricate the door mechanism rollers, bearings and hinges. The door opener requires no further lubrication. Apply grease sparingly on the door guides.
Limit position and force settings
The limit positions and opening and closing force should be checked and set when the product is installed. Variable weather and environmental conditions can result in minor variations in the movement of the door, which can make it necessary to adjust these settings especially during the first year.
See the instructions for limit position and force settings. Follow the instructions carefully and function check the automatic reversing afterwards.
Remote control
Remote controls are sold separately and can be added at any time. New remote controls must be paired with the door opener before they can be used.
Remote control battery
Replace the batteries in the remote controls when the range starts to become reduced.
NOTE:
- A damaged power cord or plug must be replaced by an authorised service centre, or other qualified personnel, to ensure safe use.
- Only use power cords and plugs of the same type as the original parts or of a type indicated by the manufacturer.
- Recycle used batteries in accordance with local regulations.
TROUBLESHOOTING
The door opener cannot be operated from the control box or remote controls
- Check that door opener is connected to a live power point (check with a lamp). If the power point is without voltage, check the fuse and main switch. If the power point has a separate switch, check that it is switched on.
- Check that all the door locks and catches etc. are unlocked in accordance with the installation instructions.
- Check that the door leaf is not frozen or otherwise blocked by snow and ice. Remove any obstacles.
- Check that the door mechanism springs are intact. Replace damaged springs.
The door opener can be operated from the remote controls, but not the control box
- Short circuit the terminals by touching both terminals at the same time with an electrically conductive object. If the door opener starts, check the control box for short circuiting, wire damage and/or incorrect connection.
- Check that all the connections are correct.
The door opener can be operated from the control box, but not the remote controls
- Replace the battery in the remote control that is not working.
- If there are several remote controls and only one of them is working, pair the remote controls and the door opener again.
The remote control has a shortrange.
- Check that a battery is inserted and that it is not discharged.
- Put the remote control in another place in the car.
- The range will be shorter if the door leaf is made of metal, has a metal covering, or metal foil insulation.
Check that nothing is blocking the movement of the door leaf. Pull the release line and operate the door manually. Contact a qualified service technician if the door is sluggish, fastens or is unbalanced. - Remove snow and ice from the floor where the door leaf rests in closed position.
- Reset the limit position and force settings. Function check the automatic reversing again.
The door reverses unexpectedly
- Press the release button and operate the door manually to check that it moves freely.
- Set a higher closing force in accordance with the instructions.
The door opens and closes by itself
- Check that no button on the remote control has stuck.
The door leaf stops before the door is fully closed
- Reset the limit position settings.
- Function check the automatic reversing after adjustment of the door arm length, closing force, or limit position for closing.
The door opener light does notswitch on
Replace the bulb with a new one of the same type (max 15 W).
The door moves slowly
The door is unbalanced or the springs are damaged.
- Close the door and release the carrier with the release line.
- Open and close the door manually.
- If the balancing is correct the door leaf can be released in any position and remain in place with the help of the springs. Contact a qualified service technician if the door is not correctly balanced.
The drive unit motor starts audibly, but then stops
- Broken door springs. See above.
- If the problem occurs the first time the door opener is activated it is probably because the door was locked. Unlock the door. Function check the automatic reversing again.
The door opener is not working because of a power cut
- Pull down and back the release line to release the carrier. The door can then be opened and closed manually. The carrier is reconnected automatically and the door opener can be operated from the remote controls again when the mains voltage is restored.
- An external release device can be installed to enable the door to be opened from outside during a power cut.













NOTE:
































