Installation Information
No. 4-421
April, 1997

Heavy Duty Series Danfoss ® Pump Controls
Neutral Lockout Switch Kits
AN428678490745en-000101
Copyright Danfoss, 1997
All Rights Reserved
Printed in USA
Neutral Lockout Switch Kits
990661-000 | 990721-000 Screw Terminal N/O, Neutral Lockout Switch Kit | 990720-000** Delphi Packard, N/C, Neutral Lockout Switch Kit | 99075-000** |
| 109791-001 (1) N/C Neutral Lockout Switch (If purchased separately order 990757-000 Kit | 110083-000 (1) N/O Neutral Lockout Switch (If purchased separately order 990758-000 Kit | 109089-000 (1) N/C Neutral Lockout Switch (If purchased separately order 990759-000 Kit | 110536-000 (1) N/O Neutral Lockout Switch (If purchased separately order 990760-000 Kit |
| 102149-019* (2) Socket Set Screw | 102149-019* (2) Socket Set Screw | 102149-019* (2) Socket Set Screw | 102149-019* (2) Socket Set Screw |
| 107977-000* (1) Adaptor | 107977-000* (1) Adaptor | 107977-000* (1) Adaptor | 107977-000* (1) Adaptor |
When ordering switch kits with adaptors the threads of the switch will have a high temperature water resistant grease applied to the threads at the factory. Apply the grease at installation if ordering just a switch.
* Items may be purchased without Switch as Part of Kit 990650-000 see below
| 990650-000 Neutral Lockout Switch Adaptor Kit |
| 102149-019 (2) Socket Set Screw |
| 107977-000 (1) Adaptor |
**Note: Mating connector and terminals are not provided they are manufactured by Delphi Packard:
Connector P/N 1201 5792
Terminals P/N 1208 9040
Cable Seal P/N 1201 5323
CAUTION
Unexpected movement or operation of equipment may cause serious injury or death. Make sure the battery is disconnected and the engine is not running. Make sure the parking brake is engaged and other peripheral equipment is disengaged.
NOTE: Hydraulic fluid can leak from the servo control valve assembly when removing the neutral lockout switch and adapter assembly. First shut off the hydraulic reservoir to the pump and drain the hydraulic fluid from the pump case to a level below the servo control valve assembly.
Disassembly
Neutral Lockout Switch
- Disconnect wiring from the lockout switch.
- Loosen hex set screws in adapter and remove neutral lockout switch from adapter.
- Remove neutral lockout adapter from servo control valve assembly.
Servo Control Valve Assembly

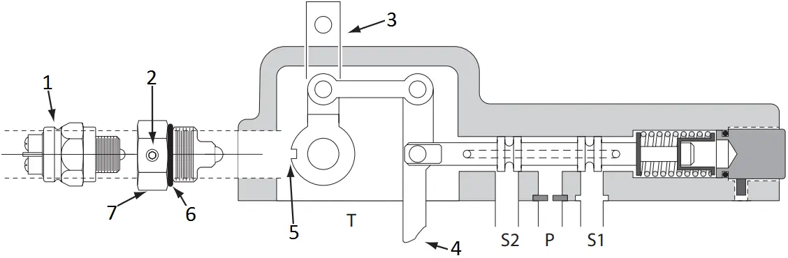
Figure 1-1
- Neutral Lockout Switch
- Hex Set Screw (2)
- Hydraulic Control Arm
- Swashplate Feedback
- Neutral Detent Receiver
- O-Ring
- Neutral Lockout Adaptor
Neutral Lockout – Switch Identification
- Remove the switch from the adaptor.
- Connect a test light with a 12 Vdc power source or a multimeter to the switch terminals. Polarity does not matter. See figure 1-2. If a multimeter is used, set to “ohms” and note that our reference to light “On” is the same as zero ohms and light off is the same as infinite ohms.
- If the light is off when the ball in the end of the switch is not depressed but comes on when the ball is depressed, then it is a normally open (N/O) switch.
Caution: Do not depress the ball beyond a point where it is flush with the housing. Permanent damage to the switch could occur. - If the test light comes on when the ball is not depressed, but goes off when the ball is depressed, it is a normally closed (N/C) switch.

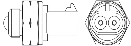
Figure 1-2 Screw Terminal Switch

Switch with Delphi Packard Connector
Reassembly Normally Closed
Note: Reassembly may be done with the Servo Control Valve Assembly on or o the main hydrostatic pump. The nal check of the switch must be done on the pump with all the linkage attached and before engine start-up.
Normally Closed (N/C) Neutral Lockout Switch
- With the switch removed from the adapter, install the adapter into the control assembly. Torque the adapter to 60-72 N·m (44-53 lbf·ft).
- With the adaptor installed, proceed and install the neutral lockout switch into the adapter, again refer to figure 1-1.
- The adjustment procedures for the switch are as follows;
(a). First apply a high temperature water resistant grease to the threads. Screw the switch in slowly, while moving the hydraulic control arm back and forth, until “detent” action is detected in the arm movement. See gure 2-1 . Back out the switch until the “detent” action is very slight. Then position the arm out of the detent position (gure 2 -2 ).
(b). Obtain a test light and 12 Vdc power source or use a multimeter. Multimeter use is described under “Switch Identification”. Attach the leads from the test light to the switch. If the light does not immediately come on, back the switch out until it does.
(c). Screw the switch in until the light just goes o. Mark this as position “A” with two adjacent marks on the switch adapter. Refer below to gure 2-3. Move the control arm to the detent position and the test light should come back on.
(d). Leaving the control arm in the detent position, screw the switch in until the light just goes o. Mark this position “B” on the switch adjacent to the original mark on the adapter.
(e). Back out the switch one half the distance between “B” and “A”. Refer to gure 2 -3. Torque either hex socket head set screw to 3.2 to 3.8 N·m [28 to 34 lbf·in.] One screw may be inaccessible and does not need to be tightened. - As a final precaution, test the switch by moving the machine’s hydrostatic control handle to the neutral position – the light should be on. Move the control handle slightly out of the neutral position and the light should go off.
- Remove test light, reattach original wiring to the Neutral Lockout Switch and put servo control valve assembly into operation.


Figure 2-1 Figure 2-2
Figure 2-3
- With Control Arm at Out-of- Detent Position and Light On
- Turn Clockwise Until Light Goes O and Mark “A”
- Move Control Arm to Detent Position
- Light Comes On
- Continue Clockwise
- Until Light Goes O and Mark “B”
- Turn Counter Clockwise and Light Comes On
- Set 1/2 Way Between Marks in Relation to Mark on Adaptor
Reassembly Normally Open
Normally Open (N/O) Neutral Lockout Switch
- With the switch removed from the adapter, install the adapter into the control assembly, refer to figure 1-1. Torque the adapter to 60-72 N·m (44-53 lbf·ft).
- With the adaptor installed proceed and install the neutral lockout switch into the adapter.
- The adjustment procedures for the switch are as follows;
(a). First apply a high temperature water resistent grease to the threads. Screw the switch in slowly, while moving the hydraulic control arm back and forth, until “detent” action is detected in the arm movement. See gure 3-1. Back out the switch until the “detent” action is very slight. Then position the arm out of the detent position. See figure 3-2.
(b). Obtain a test light and 12 Vdc power source or use a multimeter. Multimeter use is described under “Switch Identication”. Attach the leads from the test light to the switch. If the light comes on, back the switch out until it goes out.
(c). Screw the switch in until the light just comes on. Mark this as position “A” with two adjacent marks on the switch and adapter. Refer to figure 3-3 below. Move the control arm to the detent position and the test light should go back off.
(d). Leaving the control arm in the detent position, screw the switch in until the light just comes on. Mark this position “B” on the switch adjacent to the original mark on the adapter.
(e). Back out the switchone half the distance between “B” and “A”. Refer to figure 3-3. Torque either hex socket head set screws to 3.2 to 3.8 N·m [28 to 34 lbf·in.] One screw may be inaccessible and does not need to be tightened. - As a final precaution, test the switch by moving the machine’s hydrostatic control handle to the neutral position – the light should be off. Move the control handle slightly out of the neutral position and the light should go on.
- Remove test light, reattach original wiring to the Neutral Lockout Switch and put servo control valve assembly into operation.


Figure 3-1 Figure 3-2
Figure 3-3
- With Control Arm at Out-of-Detent Position and Light O
- Turn Clockwise Until Light Comes On and Mark “A”
- Move Control Arm to Detent Position
- Light Goes Off
- Continue Clockwise
- Until Light Comes On and Mark “B”
- Turn Counter Clockwise and Light Goes Off
- Set 1/2 Way Between Marks in Relation to Mark on Adaptor
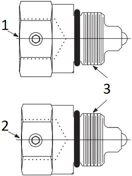
Neutral Lockout – Adaptor Identification
- Please note that Danfoss has manufactured two sizes of Neutral Lockout Adaptors. Check to be sure which size you are working with.
- The “old style” adaptor accepts a 3/4″ threaded switch, and the new style accepts a 9/16″ threaded switch. See figure 4-1.
- When ordering a replacement switch kit the appropriate adaptor is included.
Note: New switches are 9/16″ threads and will not mate with older style adaptors.

Figure 4-1
Neutral Lockout Adaptors
- 3/4″ (.750) 16UNF-2B THD “Old Style”
- 9/16″ (.5625) 18UNF-2B THD “New Style”
- 3/4″ (.750) – 16UNF-2A THD

Products we offer:
- Cartridge valves
- DCV directional control valves
- Electric converters
- Electric machines
- Electric motors
- Gear motors
- Gear pumps
- Hydraulic integrated circuits (HICs)
- Hydrostatic motors
- Hydrostatic pumps
- Orbital motors
- PLUS+1® controllers
- PLUS+1® displays
- PLUS+1® joysticks and pedals
- PLUS+1® operator interfaces
- PLUS+1® sensors
- PLUS+1® software
- PLUS+1® software services, support and training
- Position controls and sensors
- PVG proportional valves
- Steering components and systems
- Telematics
Danfoss Power Solutions is a global manufacturer and supplier of high-quality hydraulic and electric components. We specialize in providing state-of-the-art technology and solutions that excel in the harsh operating conditions of the mobile off-highway market as well as the marine sector. Building on our extensive applications expertise, we work closely with you to ensure exceptional performance for a broad range of applications. We help you and other customers around the world speed up system development, reduce costs and bring vehicles and vessels to market faster.
Danfoss Power Solutions – your strongest partner in mobile hydraulics and mobile electrification.
Go to www.danfoss.com for further product information.
We offer you expert worldwide support for ensuring the best possible solutions for outstanding performance. And with an extensive network of Global Service Partners, we also provide you with comprehensive global service for all of our components.
Local address:
Hydro-Gear
www.hydro-gear.com
Daikin-Sauer-Danfoss
www.daikin-sauer-danfoss.com
Danfoss Power Solutions (US) Company
2800 East 13th Street
Ames, IA 50010, USA
Phone: +1 515 239 6000
Danfoss Power Solutions GmbH & Co. OHG
Krokamp 35
D-24539 Neumünster, Germany
Phone: +49 4321 871 0
Danfoss Power Solutions ApS
Nordborgvej 81
DK-6430 Nordborg, Denmark
Phone: +45 7488 2222
Danfoss Power Solutions Trading (Shanghai) Co., Ltd.
Building #22, No. 1000 Jin Hai Rd
Jin Qiao, Pudong New District
Shanghai, China 201206
Phone: +86 21 2080 6201
Danfoss can accept no responsibility for possible errors in catalogues, brochures and other printed material. Danfoss reserves the right to alter its products without notice. This also applies to products already on order provided that such alterations can be made without subsequent changes being necessary in specifications already agreed.
All trademarks in this material are property of the respective companies. Danfoss and the Danfoss logotype are trademarks of Danfoss A/S. All rights reserved.



















