SHANGRI-LA SLSKYEMBWSA Skye Metal and Wood Bed

COMPONENTS

- Left vertical board (x1)
- Right vertical board (x1)
- Horizontal board (x2)

- Top inner board (x1)
- Bottom inner board (x1)
- Upper end board (x1)

- Centre board (x1)
- Side frame pole (x2)
- Middle frame pole (x1)

- Lower slat assembly (x1)
- Upper slat assembly (x1)
- Large end board (x1)

- Leg (x3)
- Protective cover (x8)
- Leg cover (x3)
Hardware

- S4 M6 Allen key (x1)
- S5 M8 Allen key (x1)
- A M8 70mm screw (x8)

- B M8 45mm screw (x12)
- C M6 16mm screw (x10)
- D M8 16mm screw (x4)

- E M4 12mm screw (x10)
ASSEMBLY
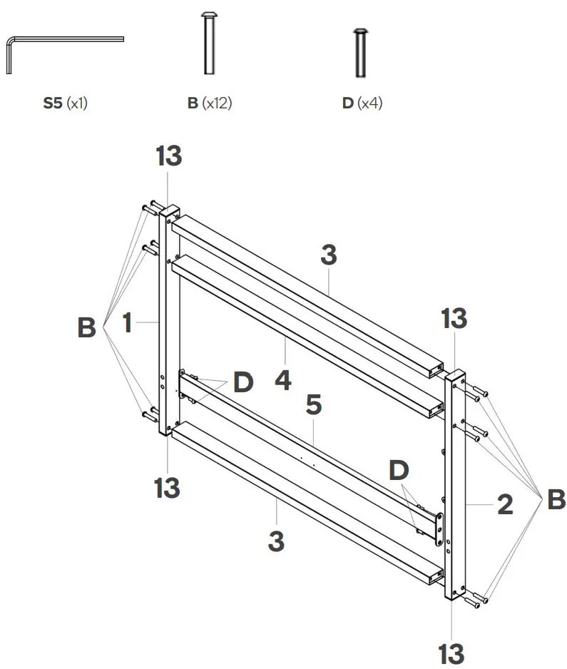
- Step 1: Using the M8 Allen key (S5), secure left and right vertical boards (1, 2) to the horizontal boards (3) and top inner board (4) with M8 45mm screws (B). Using the same Allen key (S5), attach the bottom inner board (5) to the left and right vertical boards (1, 2) with M8 16mm screws (D).
Place protective covers (13) on the top and bottom corners of this assembly.
Note:
Do not use power tools when assembling this bed. Doing so may cause damage to the components.
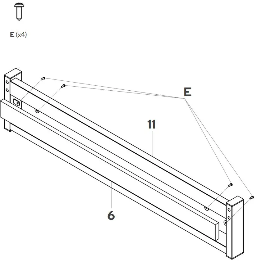
- Step 2: Turn the assembly to the back. Using a Phillips screwdriver (not supplied), secure the centre board (7) to the left and right vertical boards (1, 2) and top inner board (4) with M4 12mm screws (E).

- Step 3: Place leg covers (14) under every leg (12). Align the screw holes on the legs (12) with the screw holes on the middle frame pole (9). Using an M6 Allen key (S4), secure the legs (12) to the middle frame pole (9) with M6 16mm screws (C).

This creates the leg assembly. - Step 4: Align the holes on one end of the side frame poles (8) to the headboard. Using the M8 Allen key (S5), secure the side frame poles (8) to the headboard with M8 70mm screws (A).
Align the holes on one end of the leg assembly to the headboard. Using the M6 Allen key (S4), secure the leg assembly to the headboard with M6 16mm screws (C).
- Step 5: Align the holes on the upper end board (6) to the large end board (11). Using a Phillips screwdriver (not supplied), secure the upper end board (6) to the large end board (11) with M4 12mm screws (E).
This creates the footboard assembly.
- Step 6: Place protective covers (13) on the top and bottom corners of the footboard assembly. This completes the footboard. Align the holes on the other end of the side frame poles (8) to the footboard. Using the M8 Allen key (S5), secure the side frame poles (8) to the footboard with M8 70mm screws (A). Align the holes on the other end of the leg assembly to the footboard. Using the M6 Allen key (S4), secure the leg assembly to the footboard with M6 16mm screws (C).

- Step 7: Place the lower and upper slat assemblies (10a, 10b) onto the bed.


CLEANING & CARE
Depending on the extent of use, it may be necessary to tighten the fixings from time to time. This is normal for any flat pack furniture. Use a damp cloth, feather duster or normal furniture polish to clean the bed.
Need more information?
We hope that this user guide has given you the assistance needed for a simple set-up. For the most up-to-date guide for your product, as well as any additional assistance you may require, head online to help.kogan.com



















