ELECOM M-DT2UR Wired Trackball Mouse
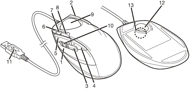
Names and functions of each part
- Left button
- Right button
- Tilt wheel/pointer speed indicator light
- “Back” button
You can perfom the “Back” operation in a web browser. - “Forward” button
You can perfom the “Forward” operation in a web browser. - Function buttons
A function can be assigned to each button. - No function is assigned at the time of purchase.
- Download “ELECOM Mouse Assistant” from the ELECOM website to use its button assignment function.
- Trackball
- Pointer speed selector Sliding the selector up and down switches the resolution (pointer speed) between LOW and HIGH
The current resolution will be indicated by the blinking pointer speed indicator light.
Blinks once: 750 dpi
Blinks twice: 1500 dni
- USB connector (male)
- Ball removal hole
Remove the ball for cleaning
- Optical sensor (under the ball)
Using the trackball mouse
- Start the PC.
Start the PC, and then wait for it to be ready to perform operations - Insert the USB connector of the product intoa USB port on the PC.
Be sure to sufficiently check the connector orientation and the insertion location.
If you feel a strong resistance when inserting the USB connector,
check that the shape and orientation of the connector is correct.
Using excessive force may damage the connector and cause injury.
Do not directly touch the terminal area of the USB connector. - The driver will be automatically installed, and you will then be able to use the trackball.
Cleaning the trackball
- Push out the ball from behind with your finger or a pen.
- Remove dust off the areas where the three red support ballscontact the trackball usina a cotton swab.

Specifications
Safety Precautions
- Prohibited action
- Mandatory action
- Situation that needs attention
WARNING
- If a foreign object (water, metal chip, etc.) enters the product, immediately stop using the product, remove the product from the PC. If you continue to use the product under these conditions, it may cause a fire or electric shock.
- If the product is behaving abnormally, such as by generating heat, smoke, or a strange smell, immediately stop using the product, shut down the PC, and then sufficiently check whether the product is generating heat while being careful to avoid being burned. Then, remove the product from the PC. After that, contact the retailer from whom you purchased the product. Continuing to use the product under these conditions may cause a fire or electric shock.
- Do not drop the product or otherwise subject it to impacts.
- If this product is damaged, immediately stop using it, remove the product from the PC. After that, contact the retailer from whom you purchased the product. Continuing to use the product while it is damaged may cause a fire or electric shock.
- Do not attempt to disassemble, modify or repair this product by yourself, as this may cause a fire, electric shock or product damage.
- Do not put this product in fire, as the product may burst, resulting in a fire or injury.
- Do not insert or remove the connector with wet hands. Also, do not make alternations to or forcefully bend the connector.
- Doing so may cause a fire or electric shock.
CAUTION
Do not place this product in any of the following environments:
- In a car exposed to sunlight, a place exposed to direct sunlight, or a place that becomes hot (around a heater, etc.)
- In a moist place or a place where condensation may occur
- In an uneven place or a place exposed to vibration In a place where a magnetic eld is generated (near a magnet, etc.)
- In a dusty place
- This product does not have a waterproof structure. Use and store this product in a place where the product body will not be splashed with water or other liquid.
- Rain, water mist, juice, coffee, steam or sweat may also cause product damage.
- Only use this product with PCs and video game systems.
- Do not use this product with any device that may significantly be affected in the case of this product malfunctioning.
- If this product is not going to be used for one month or longer, remove it from the PC.
- When you no longer need to use this product, be sure to dispose of them in accordance with the local ordinances and laws of your area.
Cleaning the Product
If the product body becomes dirty, wipe it with a soft, dry cloth.
- Use of a volatile liquid (paint thinner, benzene, alcohol, etc.) may affect the material quality and color of the product.
Limitation of Liability
- In no event will ELECOM Co., Ltd be liable for any lost profits or special, consequential, indirect, punitive damages arising out of the use of this product.
- ELECOM Co., Ltd will have no liability for any loss of data, damages, or any other problems that may occur to any devices connected to this product.

























