ELECOM M-MT1BR Bluetooth Trackball Mouse

Product information
- Model: M-MT1BR
- Product: Trackball Mouse
Product Usage Instructions
- Insert the battery:
- Remove the battery cover.
- Insert the battery with the correct plus and minus orientation.
- Re-attach the battery cover to its original state.
- Turning the Power On:
- Slide the power switch to the on position.
- The red LED around the wheel will light up for a fixed time.
- When the remaining battery is low, the LED blinks red for a fixed time.
- Pairing with a PC:
- Click on the Start button on the lower left of the screen, and click on the Settings icon. The Windows Settings page will appear.
- Click on Devices. The Devices page will appear.
- Click on Bluetooth and Other Devices, and click on Add a Bluetooth Device or Other Devices. Click on Bluetooth.
- When the add device screen is displayed, hold down the pairing button on the bottom for two to three seconds, and then release. Pairing mode is activated, and the LED lamp blinks red.
- Click on ELECOM TrackBall to start pairing. When it changes to Connected, click on Complete.
- This product is added to Mouse, keyboard, & pen, displays Connected and pairing is complete.
- Hint for pairing:
- Select ELECOM TrackBall from the list of devices.
- How to clean the trackball:
- Press the button to push the trackball out and pick the trackball up with your fingers.
- Use a cotton bud or similar to remove the dust accumulated on the three contact surfaces of the red ball.
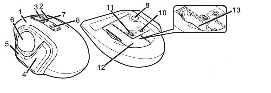
Name and function of each part

- Left button
- Right button
- Wheel
- “Back” button
- Operates the “Back” button on the Web browser.
- “Forward” button
- Operates the “Forward” button on the Web browser.
- Trackball
- LED light
- During pairing standby state, the LED blinks red.
- When power is ON, the LED is lit red for a fixed time.
- When remaining battery becomes low during use, the LED blinks red.
- Pointer speed change switch

- When the count number is changed, the current count number is shown by the number of times the LED light blinks.
- one blink 750 counts
- two blinks 1500 counts
- When the count number is changed, the current count number is shown by the number of times the LED light blinks.
- Ball removal button
- Remove ball during maintenance
- Pairing button
- Power Switch
- Battery cover
- Battery-storage compartment
Download and install “Elecom Mouse Assistant” from our website to assign functions to the buttons. For Macintosh, the “Forward” and “Back” buttons will become available for use. https://www.elecom.co.jp/global/download-list/utility/mouse_assistant/
Insert the battery

- Remove the battery cover.
- Insert the battery.
- Insert with the correct battery plus and minus orientation.
- Re-attach the battery cover to its original state.
Turning the Power On

- Slide the power switch to the on position.
- The red LED around the the wheel will light up for a fixed time.
- When remaining battery is low, the LED blinks red for a fixed time.
Pairing with a PC
Windows® 10
- Click on the “Start” button on the lower left of the screen, and click on the “Settings” icon.
- The “Windows Settings” page will appear.
- Click on “Devices”.
- The “Devices” page will appear.
- Click on “Bluetooth and Other Devices”, and click on “Add a Bluetooth Device or Other Devices”.
- Click on “Bluetooth”. When the add device screen is displayed, hold down the pairing button on the bottom for two to three seconds, and then release.
- Pairing mode is activated, and the LED lamp blinks red.
- Click on “ELECOM TrackBall'” to start pairing.
- Start pairing.
- When it changes to “Connected”, click on “Complete”.
- This product is added to “Mouse, keyboard, & pen”, displays “Connected ” and pairing is complete.
Windows® 7
Please purchase an adapter compatible with Bluetooth 4.0 compatible with Windows 7 that you can purchase in your region. For the pairing method, please refer to the instruction manual for the Bluetooth® adapter compatible with Bluetooth 4.0. (* We cannot take responsibility for its operation)
Hint for pairing
- Select “ELECOM TrackBall” from the list of devices.
macOS Moj ave (10.14)
- From the Apple menu, click “System Settings..” to display the system environment settings screen.
- Click “Bluetooth” to display the “Bluetooth” environment settings screen.
- During the device search, hold down the pairing button on the bottom surface for two to three seconds, and then release.
- Pairing mode is activated, and the LED lamp blinks red.
- Select “ELECOM TrackBall”, and click “Connect” to start pairing.
- Start pairing.
- When it changes to “Connected”, pairing is completed.
How to clean the trackball

- Press the button to push the trackball out and pick the trackball up with your fingers.

- Use a cotton bud or similar to remove the dust accumulated on the three contact surfaces of the red ball.
When cleaning around the optical sensor, take care not to damage the sensor.
Specifications
| Count number | 750/1500 count (switchable) |
| Compatible standard | Bluetooth 4.0 Class2 |
| Supported Profile | HOGP (HID Over GATT Profile) |
| No. of devices connectable | 1 |
| Radio frequency | 2.4 GHz band |
| Radio wave method | FH-SS |
| Radio wave range | Non-magnetic materials (such as wooden desks): approximately 10 m Magnetic materials (such as iron desks): approximately 3 m * These are test values in company environment and are not guaranteed. |
| Read method | Optical sensor method |
| Emitted light type | Non-visible wavelength range |
| Number of buttons | 5 * including wheel button |
| Dimensions (W × D × H) | Approximately 74 mm × 90 mm × 42 mm |
| Operational temperature/ humidity | 5°C to 40°C/ up to 90%RH (without condensation) |
| Storage temperature/ humidity | -10°C to 60°C/ up to 90%RH (without condensation) |
| Supported battery | Any one of AAA alkaline battery, AAA manganese battery, AAA type nickel-metal hydride battery |
| Operational time | Estimate when using alkaline battery Continuous operation time: Approximately 47 hours Continuous standby time: Approximately 208 days Estimated usage time: Approximately 100 days (The above is assuming the computer is used for eight hours a day with 5% of that time spent operating the mouse.) |
| Supported OS | Windows® 10, Windows® 8.1, Windows® RT8.1, Windows® 7, macOS Mojave (10.14) (Updating the OS or installing a service pack may be necessary.) |
Safety Precautions
![]()
- Prohibited action
- Mandatory action
- The situation that needs attention
WARNING
- If a foreign object (such as water or a metal chip) enters the product, immediately stop using the product and remove the battery. If you continue to use the product under these conditions, it may cause a fire or electric shock.
- If an abnormality is found with this product (such as heat, smoke or an unexpected smell coming from the product), immediately stop using the product and remove the battery while paying careful attention not to get burned. After doing so, contact the retailer from whom you purchased the product. If you continue to use the product under these conditions, it may cause a fire or electric shock.
- Do not drop the product, nor subject it to strong physical shocks. In the event of the product becoming damaged, immediately stop using the product and remove the batteries. After doing so, contact the retailer from whom you purchased the product. If you continue to use the product under these conditions, it may cause a fire or electric shock.
- Do not attempt to disassemble, modify or repair this product by yourself, as this may cause a fire, electric shock or product damage.
- Do not put this product in fire, as the product may burst, resulting in a fire or injury.
CAUTION
- Do not place this product in any of the following environments:
- In a car exposed to sunlight, a place exposed to direct sunlight, or a place that becomes hot (such as around a heater)
- In a moist place or a place where condensation may occur
- In an uneven place or a place exposed to vibration
- In a place where a magnetic field is generated (such as near a magnet)
- In a dusty place
- This product does not have a waterproof structure.Use and store this product in a place where the product body will not be splashed with water or other liquid.Rain, water mist, juice, coffee, steam or sweat may also cause product damage.
- Only use this product with PCs and video game systems.
- Do not use this product with any device that may significantly be affected in the case of this product malfunctioning.
- When you no longer need to use this product and the battery, be sure to dispose of them in accordance with the local ordinances and laws of your area.
Batteries
- For this product, use AAA alkaline battery, AAA manganese battery, or AAA type nickel-metal hydride rechargeable battery.
- When not using this product for long periods of time, remove the battery. This may cause fluid leak or malfunction.
Cleaning the Product
- If the product body becomes dirty, wipe it with a soft, dry cloth.
- Caution: Use of a volatile liquid (such as paint thinner, benzene, alcohol) may affect the material quality and color of the product.
Precautions on wireless
This product is a wireless device that can use the entire 2.4 GHz band, and is able to avoid the mobile entity identification device range.The FH-SS method is adopted as the radio wave method, and the interference distance is 10m. The 2.4 GHz band is also used in medical devices and wireless LAN devices of the IEEE 802.11b/11g/11n standards.
- Before using this product, check whether “other wireless stations*” are not operating nearby.
- In the unlikely event that radio interference occurs between this product and “other wireless stations*”, change the location of use or stop using this product.
- “Other wireless stations” refer to industrial, scientific, medical instruments which use the same 2.4 GHz as this product, as well as other wireless stations of the same type, such as in-house mobile entity identification wireless stations requiring a license, specific low power wireless stations and amateur wireless stations not requiring a license, used in plant production lines.
WARNING
- Do not use in equipment which may cause serious effects due to it malfunctioning. In rare cases, it may be affected by radio waves of the same frequency or radio waves of mobile phones from outside, causing a malfunction, deterioration in operation, or stop working.
- Do not use this product in places where radio wave usage is prohibited, such as hospitals. Radio waves of this product may affect electronic devices and medical devices (for example pacemakers).
- Due to the possibility of hindering safe navigation of aircraft, use of wireless mice in aircraft is prohibited by the Civil Aeronautics Act. Turn off the power of the wireless mice before boarding and do not ever use after boarding.
- Please note that we can not assume any responsibility, even if events such as an accident or social damage occur due to a failure of this product.
Limitation of Liability
- In no event will ELECOM Co., Ltd be liable for any lost profits or special, consequential, indirect, punitive damages arising out of the use of this product.
- ELECOM Co., Ltd will have no liability for any loss of data, damages, or any other problems that may occur to any devices connected to this product.
FCC STATEMENT
FCC ID: YWO-M-MT1BR
This device complies with Part 15 of the FCC Rules. Operation is subject to the following two conditions:
- this device may not cause harmful interference.
- this device must accept any interference received, including interference that may cause undesired operation.
NOTE: This equipment has been tested and found to comply with the limits for a Class B Digital Device, pursuant to part 15 of the FCC Rules. These limits are designed to provide reasonable protection against harmful interference in a residential installation. This equipment generates, uses and can radiated radio frequency energy and, if not installed and used in accordance with the instruction, may cause harmful interference to radio communication. However, there is no grantee that interference will not occur in a particular installation. If this equipment does cause harmful interference to radio or television reception, which can be determined by tuning the equipment off and on, the user is encouraged to try to correct the interference by one or more of the following measures:
- Reorient or relocate the receiving antenna.
- Increase the separation between the equipment and receiver.
- Connect the equipment into an outlet on a circuit different from that to which the receiver is connected.
- Consult the dealer or an experienced radio/TV technician for help.
NOTICE: The manufacture is not responsible for any radio or TV interference caused by unauthorized modifiation to this equipment. Such modifications could void the user’s authority to operate the equipment. In order to make improvements to this product, the design and specifications are subject to change without prior notice.
WEEE Disposal and Recycling Information
This symbol means that waste of electrical and electronic equipment (WEEE) should not be disposed as general household waste. WEEE should be treated separately to prevent possible harm to the environment or human health. Consult your retailer or local municipal office for collection, return, recycling or reuse of WEEE.
Trademark and name of the manufacturer:
Contacts
Importer EU Contact
- Around The World Trading Inc.
- Afon Building 223, Worthing Road Horsham, RH12 1TL, United Kingdom
www.elecom.co.jp/global/certification/
ELECOM Korea Co., Ltd.
- Dome-Bldg 5F, 60, Nambusunhwan-ro 347-gil, Seoch o-gu, Seoul, 06730, South Korea
- TEL: +82 (0) 2 – 1588 – 9514
- FAX: +82 (0) 2 – 3472 – 5533
- www.elecom.co.kr
ELECOM Sales Hong Kong Ltd.
- 2/F, Block A, 2-8 Watson Road, Causeway Bay, Hong Kong
- TEL: +852 2806 – 3600
- FAX: +852 2806 – 3300
- email: [email protected]
ELECOM Singapore Pte. Ltd
- Blk 10, Kaki Bukit Avenue 1, #02-04 Kaki Bukit Industrial Estate, Singapore 417942
- TEL: +65 6347 – 7747
- FAX: +65 6753 – 1791
- Unauthorised copying and/or reproducing of all or part of this manual is prohibited.
- The specifications and appearance of this product may be changed without prior notice for product improvement purposes.
- When exporting this product, check the export regulations for the country of origin.
- Windows is a trademark of Microsoft Corporation.
- macOS Movaje, and Macintosh are trademarks of Apple Inc., registered in the U.S. and other countries.
- The Bluetooth word mark and logos are registered trademarks owned by Bluetooth SIG, Inc. and any use of such marks by ELECOM CO., LTD. is under license.
- Company names, product names, and other names in this manual are either trademarks or registered trademarks.
A customer who purchases outside Japan should contact the local retailer in the country of purchase for inquiries. In “ELECOM CO., LTD. (Japan)”, no customer support is available for inquiries about purchases or usage in/from any countries other than Japan. Also, no language other than Japanese is available. Replacements will be made under the stipulation of the Elecom warranty, but are not available from outside of Japan.
Trackball Mouse
- Manual, Safety precautions, and Compliance with regulations
- 1st edition, November 29, 2019
©2019 ELECOM Co., Ltd. All Rights Reserved.



















