wayfair Floor Standing Bath Filler

NOTES FOR INSTALLATION
- Installation must be carried out in compliance with The Water Fittings Regulations and Scottish Water Byelaws.
Minimum and Maximum working pressure : 0.5 – 5 bar - Please do not connect hot and cold water supply lines in reverse. This could result in hot water flowing from cold line and cause scalding.
- The feed-water temperature of water shall not exceed 85°C. Exceeding 85° may cause scalding, the service life of faucets might be shortened, or the faucet might be damaged.
- The valve must be installed on the wall that is strong and thick enough.
- After installation, please make sure the faucet is securely mounted.
Warning: Read all the instructions completely before proceeding. We recommend calling a professional if you are uncertain about installing this product.
INSTALLATION OF CONSEALED BODY
Confirm the location where you need to install the consealed body accordingly to positions of hot & cold inlet and outlet.
Note: Serving for different functions, some products are designed to have outlet blocked up. Please do not remove the plug by yourself.
As per below graphics, there are 2 types of floor-standing bath filler:
1) with consealed part which can adjust the angle.
2) with consealed part which cannot adjust the angle.









CONNECTION OF CONSEALD BODY WITH WATER PIPE
Connect the water pipes with hot & clold inlets(7A)(7B) & outlets (7C)(7D).
Note: For connection of pipes or parts with thread, we suggest to use thread seal tape.

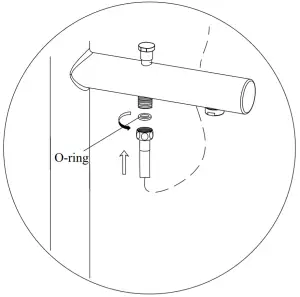
INSTALLATION OF SPOUT (if applicable)

INSTALLATION OF HOSE (if applicable)

UNIT START UP
Turn on hot and cold water supplies, and check for leaks.
CAUTION:Maintenance
The valves must be turned off to release the pressure of waterpipe during maintenace.
NOTE: Cleaning Instructions:
For all decorative finishes, use only a soft damp cloth to clean and shine. Use of polish, detegents, abrasive cleaners, organic solvents or acid may cause damage.
Use of other than a soft damp cloth will nullify our warranty


















