wiltec 51371 Oil Drainer Cart

Please read and follow the operating instructions and safety information prior to initial operation.
Technical changes reserved!
Illustrations, functional steps, and technical data may deviate insignificantly due to continuous further developments.
ABOUT
The information contained in this document may alter at any time without prior notice. No part of this document may be copied or otherwise duplicated without prior written consent. All rights reserved. WilTec Wildanger Technik GmbH cannot be held liable for any possible mistakes in this operating manual, nor in the diagrams and illustrations shown. Although WilTec Wildanger Technik GmbH has made every possible effort to ensure that this operating manual is complete, accurate, and up-to-date, errors cannot be ruled out entirely.
If you have found an error or wish to suggest an improvement, we look forward to hearing from you.
Send us an e-mail to: [email protected]
or use our contact form: https://www.wiltec.de/contacts/
The most recent version of this manual in several languages can be found in our online shop: https://www.wiltec.de/docsearch
Our postal address is:
WilTec Wildanger Technik GmbH
Königsbenden 12
52249 Eschweiler Germany
Do you wish to collect your goods? Our address for collection is:
WilTec Wildanger Technik GmbH
Königsbenden 28
52249 Eschweiler Germany
In order to shorten the waiting time and to allow for easy on-site processing, we kindly ask you to contact us briefly beforehand or to place your order via the webshop.
E-mail: [email protected]
Phone: +49 2403 55592–0
Fax: +49 2403 55592–15
To return your goods for an exchange, repair, or other purposes, please use the following address. Attention! To allow for a trouble-free complaint or return, it is important to contact our customer service team before returning your goods.
Retourenabteilung
WilTec Wildanger Technik GmbH
Königsbenden 28
52249 Eschweiler Germany
E-mail: [email protected]
Phone: +49 2403 55592–0
Fax: (+49 2403 55592–15)
Introduction
Thank you for choosing to purchase this quality product. To minimise the risk of injury, we ask you to always take some basic safety precautions when using this product. Please read this operating manual carefully and make sure that you understand it. Keep these operation instructions in a safe place. The oil drainer cart is ideal for collection of used oil and other car liquids. The adjustable height of the oil funnel allows the user to vary the distance between the oil sump of the vehicle and the funnel to minimise oil spillage. There is no used oil container included in the scope of delivery.
Safety instructions
- Read and understand all instructions. Disobeying the instructions stated below might lead to electric shocks, fire, and/or sever injuries.
- Obey all precautionary measures, information and instructions found in this manual. Always use the device with caution to minimize the risk of injuries.
- Only use the oil drainer cart in a suitable work area. Keep the work area clean and tidy, remove all foreign matter, and ensure sufficient illumination.
- Keep children and unauthorized persons away from your working area.
- During use, wear suitable safety equipment as protective gloves, protective clothes, or antislip shoes.
- Avoid excessive contact with used oils. Frequent or long-term contact can cause skin irritations and diseases.
- Immediately remove spilled oil. Slip danger!
- Do not expose the device to rain or splash water.
- Keep the device in a dry, clean, and neat condition to allow the best and safest possible operation.
- Place the device on a level, clean, and dry surface. Make sure as well that the surface can carry the load weight.
- Do not drain oil by force. Use of the device will be better and safer when it is used as intended. Plan your work and use the suitable tools for it.
- Make sure that all connectors are tight. If the connectors are untight, the device should not be used.
- Never leave the cart filled with oil without supervision.
- Place the oil drainer cart in such a way that it cannot cause any dangers while moving it, draining the oil, or storing it.
- When the oil drainer cart is not used, keep it at a dry, safe place and out of children’s reach. Before storage and re-use, check it for proper condition.
- Absolutely respect the local regulations concerning the elimination of used oils.
Attention!
Under no circumstances allow escaping liquids to pollute the environment!
Assembly
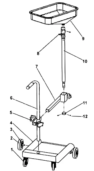
The instructions refer to the numbers of the diagram of parts. If not stated otherwise, you will need a 5 mm hexagonal wrench.

- Attach the fix front wheels (2) to the bottom plate (4) by inserting the steering knuckles into the bushings provided. Secure them with 5 mm hexagon socket head screws.
- Insert the axles of the rear swivel castors (1) into the bushings provided and fix them with 5 mm hexagon socket head screws.
- Slide the clamp set (5) onto the handle (6) and the handle into the support on the rear side of the bottom plate. Secure the handle by tightening the 5 mm threaded hexagon pin present on the side of the base of the underside of the bottom plate.
- Slide the square tube clamp set (7) into the clamp set (5) and tighten the retaining button.
- Slide the height adjustment rings (12) over the lower end of the oil tube and secure them in the desired location by tightening the two Allen setscrews with a 4.5 mm Allen key.
- Insert the outlet of the oil pan (9) into the top of the ball valve assembly (8). Make sure that it is fully seated and secure it by tightening the 5 mm socket head screw on the side of the cuff. The oil pan is not fixed and, as shown in Fig. 1, can be rotated by 360°.
- Push the oil pipe (10) through the square pipe clamping set (7) and tighten the retaining button.
Operation
- The oil drainer cart is suitable for 25-ℓ containers (6.5 gallons) that suit the bottom plate completely. Any container protruding from the bottom plate must not be used. Do not fill the container to such an extent that its content might spill over when you remove the container from the bottom plate.
- The oil drainer cart has several adjustment possibilities allowing you to adapt it to different container sizes and workshop conditions. The total height of the unit can be adjusted by combining the clamps (C) and (E) as shown in Fig. 1. The center line of the oil tube and oil pan can be adjusted with the help of the clamp (F), the oil pan be swiveled by 360°.
- If you often perform jobs with the same container and/or vehicle, the installation can be repeated easily by using the retaining rings (D) to mark the position of the oil tube in relation to clip (C).
- Un-tighten the tube clip (Fig. 1–C) and lift the tube and pan to set the used container free. The container needs to rest on the bottom plate in a flat and level position. Adjust the height of the oil tube and pan so that the drain container can be slid under the vehicle.
- Adjust the height and position of the unit under the drain point. In order to let the oil directly into the container, open the ball valve as shown in Fig. 1–B. When the container is filled after several drains, the ball valve can be closed during container replacement.
- Do not move the container when there is oil in the pan. Always make sure that the oil is drained into the lower container before moving the device.
- Remove the used-oil container when moving the device, whatever be the level of the oil contained.
Maintenance
- It is recommended to check the general condition of the unit before every use. Keep the oil drainer cart in good condition by establishing a repair and maintenance plan, for instance. Ask a qualified person to perform repairs.
- Only use soap and a damp cloth for cleaning. Numerous household cleaning agents are harmful to plastics and other isolating materials.
Exploded view and parts list

| № | Name | Qty. | № | Name | Qty. |
| 1 | Rear wheel | 2 | 7 | Square tube clamp set | 1 |
| 2 | Front-wheel | 2 | 8 | Ball valve | 1 |
| 3 | Axles | 2 | 9 | Oil pan | 1 |
| 4 | Base set | 1 | 10 | Oil tube | 1 |
| 5 | Clamp set | 1 | 11 | Height adjustment ring | 1 |
| 6 | Handle | 1 | 12 | Bolt | 2 |
Important Note:
Reproduction and any commercial use (of parts) of this operating manual, requires written permission of WilTec Wildanger Technik GmbH.




















