
SHOT BLAST CABINET
MODEL NO: CSB20B
PART NO: 7640110
USER INSTRUCTIONS![]()
ORIGINAL INSTRUCTIONS
DL0822 – REV 6
INTRODUCTION
Thank you for purchasing this CLARKE Shot Blast Cabinet which is designed for professional workshop use.
Before attempting to operate the cabinet, please read this manual thoroughly and carefully follow all instructions given. In doing so you will ensure the safety of yourself and that of others around you, and you can also look forward to the product giving you long and satisfactory service.
Carefully unpack the unit, and check against the list on page 3 o ensure that no damage was caused in transit. Should any damage be apparent, please contact your Clarke dealer immediately.
FEATURES
The 3 cu/ ft cabinet is lit by a low voltage (12 volts) fluorescent tube, fed from a plug-in type transformer. The switch-box is mounted on the left side of the cabinet. The transformer should be plugged directly into the mains supply and connected to the switchbox which contains an ON/OFF rocker switch. Air is extracted via a double filtration system at the right-hand side of the cabinet.
Please note that when vacuum extraction is used, air will be drawn into the cabinet through the hole on the back panel of the unit. The hole is covered on the outside with a filter plate and housed within the plate is a foam filter, which must always be in place. This is to prevent grit from being blown out when vacuum extraction is NOT used. The id is provided with a double clear plastic window, the inner of which may be renewed quickly and easily if it should become damaged by the media blasting action.
A variety of abrasive nozzles is supplied with the unit to produce a useful range of power and grit densities to satisfy all requirements. The cabinet is designed for use with dry abrasives ONLY. We recommend Aluminium Oxide (for cleaning steel) and Glass Beads (for cleaning aluminum).
It is necessary to provide a clean, dry air supply, capable of delivering a minimum of 10 ft/min at a maximum of 100psi. Please consult your air compressor manual, ensuring you comply with all safety precautions for the use of air compressors, and observe all necessary precautions when using compressed air.
INVENTORY
Remove all components from the carton and check them against the following list.

A – Foam Vent Filter B – Air Vent Cover C – 9 x Spare protective film
D – Ceramic Nozzles 4, 5, 6 & 7mm (one nozzle is fitted) E – PTFE tape
F – Gun c/w air and pickup hoses G – 12V transformer & cable
ASSEMBLY
The unit is shipped fully assembled, except for the air vent filter and the gun with attached hoses. These should be connected as follows: First, remove the grid and all the various loose components from within the cabinet. The end of the air inlet hose, connected to the gun, is inserted through the 16mm dia. hole in the cabinet from the inside, as shown in Fig 2. Ensure a flat washer is threaded onto the adapter as shown.
Thread a flat washer, followed by the extended nut, onto the adapter, from the outside of the cabinet, and tighten.
Insert the circular foam filter into the recess in the Air Vent Cover, and attach the cover to the rear of the cabinet as shown in Fig 3, having first prised out the plastic bung from the vent hole. The pickup hose should be attached to the bottom of the cabinet as shown in Fig 4, using the large washer and nut underneath. Replace the grid, ensuring the feet face downwards with the cut-away section at the rear of the cabinet.
Finally, connect the air supply to the extended nut shown in Fig 5. Use the PTFE tape supplied to ensure an airtight seal.
• The air supply should be dry and capable of delivering a minimum of 10 cu ft/min at 100 lb/in.
SAFETY PRECAUTIONS
Ensure you comply with all precautions regarding the use of air compressors and compressed air equipment.
- Ensure all air connections are secure.
- Do not use the machine if the integral gloves are ripped or unserviceable.
- Keep the jet well away from the air hose, gloves, florescent tube & window.
- Ensure the clear plastic lid is firmly secured before pressing the trigger.
ALWAYS wear safety glasses. (Normal eyeglasses are NOT safety glasses). - Do not use any silica-based abrasives with this cabinet. Silica-based abrasives have been linked to severe respiratory disease. Always use recommended abrasives. Abrasives used in this unit may be covered by COSHH Regulations.
OPERATION
Plug the transformer into the power supply and switch the power ON. Switch the lamp ON by pushing the rocker switch on the switch box ‘I’. Switch OFF by pushing ‘O’. Ensure all air connections are secure, and the pick-up is correctly located beneath the grid, before filling the cabinet with abrasive media. Do not fill higher than the level of the grid.
NOTE: PTFE tape is provided which may be used on the threads of the various connectors to ensure an airtight connection.
Select the ceramic abrasive nozzle to produce the jet required for the abrasive media being used, and assemble it according to the instructions given below.
Place the object to be cleaned in the cabinet, and close the lid, securing with the two swivel clips. Set the pressure to the required value, but not higher than 100lbf/in2, and check to ensure there are no air leaks. Should there be any, turn off the air supply and repair where necessary, before turning the supply back on. Pull the trigger on the gun and proceed to blast the object to be cleaned.
Keep the jet facing the object and away from the clear plastic lid. Do not allow the jet to train on the rubber gloves, the air hose within the cabinet, or the fluorescent lamp.
When completed, release the trigger then turn off the air supply. As a precautionary measure, ALWAYS pull the trigger before opening the lid.
- There are no hard or fast rules governing nozzle sizes and air pressures used with different abrasives. With experience and experimentation, you will quickly learn the best combinations for the required result.
- On more delicate parts, start with minimal air pressure to avoid unnecessary planning or excessive abrasion and work up to a setting to produce the desired finish.
- Should any abrasive be spilled, ensure it is cleaned up immediately, as its slippery properties can be hazardous.
REPLACING THE ABRASIVE NOZZLE

Ensure the air supply is disconnected before performing this operation.
- Pull the trigger of the gun as a precautionary measure.
- Unscrew the end cap and withdraw the ceramic nozzle.
- Replace with the nozzle of your choice and carefully thread the end cap back onto the gun, taking great care NOT to cross-thread the fine thread.
NOTE: Should it be necessary to change the air nozzle, first remove the abrasive nozzle as described above. A box spanner will be required to unscrew and withdraw the air nozzle.
MAINTENANCE
Before use, check to ensure that all parts are serviceable, including the air inlet hose and rubber gloves.
Ensure the air vent foam filter is in place.
The swivel clamps, securing the lid, must be secure so as not to allow the lid to open during operation. The build-up of air pressure within the cabinet could force the lid open, allowing abrasive to escape. This is not only wasteful but could be a health hazard.
Ensure the filters are serviceable and seated correctly.
Ensure you comply with all precautions regarding the use of compressed air and air compressor operation.
CHANGING THE FLUORESCENT TUBE
Ensure the transformer is disconnected from the power supply before opening the door and cutting the two ties securing the lamp to its retaining clips.
Carefully pull the lamp from the retaining clips then hold the clear plastic protective outer tube firmly and ease off the plastic end cover from the non-wired end. (This may take a little persuasion and perseverance).
Once the end cover has been removed, hold the end cover at the opposite end (the cable input end), and pull off the outer protective clear plastic tube.
The fluorescent tube is now fully revealed. Pull off the end connector, which secures a wire to one of the pins, taking care not to distort the aluminum reflector. Then pull off the wire secured by a plastic sheath to one of the pins at the cable input end.
Assemble in reverse order, ensuring the wires are correctly held by the plastic sheath at one end and the end connector at the other, with the reflector correctly in position.
Re-fit the assembly into its retaining clips and test its operation by plugging the transformer into the mains.
GUARANTEE
This product is guaranteed against faulty manufacture for a period of 12 months from the date of purchase. Please keep your receipt as proof of purchase.
This guarantee is invalid if the product is found to have been abused or tampered with in any way, or not used for the purpose for which it was intended.
Faulty goods should be returned to their place of purchase, no product can be returned to us without prior permission.
This guarantee does not effect your statutory rights.
TROUBLESHOOTING
| Problem | Check | Solution |
| Excessive dust in the cabinet. | No dust extract device was used. | Install dust extract device. |
| Air vent or overflow blocked. | Clean the rear vent and keep the vent away from any wall. | |
| Abrasive media are worn. | Replace abrasive media | |
| Too much abrasive media in the cabinet. | Remove excessive media. | |
| Loose airline or lose connections. | Tighten fittings and ensure the airline is secure. | |
| Uneven blasting action | Too much abrasive media in the cabinet. | Remove excessive media. |
| Abrasive is damp. | Renew abrasive or dry thoroughly before use. | |
| Moisture is present inside the cabinet. | Check the airline to ensure it is free from moisture. | |
| Inadequate speed or inefficient blast. | Abrasive media are worn. | Replace abrasive media |
| Pressure is too low. | Increase inlet pressure and ensure the control valve is fully open. | |
| Static electricity present | Dry weather conditions. | Leave the item to be cleaned on the grid. |
| Excessive media blew into the surrounding atmosphere when no vacuum extract is being used. | Lid is not secure. | Secure the lid with the swivel clips and adjust them if necessary. |
| The air vent filter missing. | Replace the filter or blank off the hole in the rear panel temporarily with masking tape. |
DECLARATION OF CONFORMITY

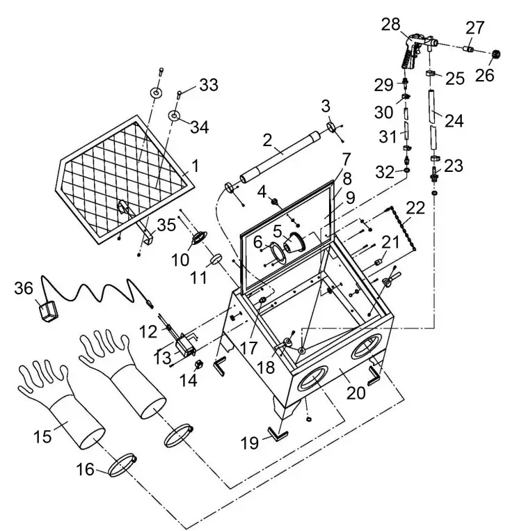
PARTS LIST
| PART NO | DESCRIPTION | PART NO | DESCRIPTION |
| 1 | Steel Screen | 19 | Feet |
| 2 | Fluorescent Tube | 20 | Cabinet only (no lid) |
| 3 | Input Cable Assembly | 21 | Air Adaptor Nut |
| 4 | Knob | 22 | Lid Retaining Chain |
| 5 | Filter | 23 | Abrasive Pick-up Tube |
| 6 | Retaining Disc | 24 | Abrasive Intake Hose |
| 7 | Lid | 25 | Large Hose Clamp |
| 8 | Window Retaining Strip | 26 | Nozzle Adaptor Nut |
| 9 | Protective Film | 27 | Nozzle (4mm) |
| 10 | Air Vent | 28 | Gun Assembly |
| 11 | Foam Filter | 29 | Air Hose Adaptor |
| 12 | Plug Adaptor | 30 | Small Hose Clamp |
| 13 | Cable Transformer Box | 31 | Air Hose |
| 14 | Switch | 32 | Flat Washer |
| 15 | Rubber Gloves (pair) | 33 | Screw M6 x15 |
| 16 | Clamp | 34 | Flat Washer |
| 17 | Cable Clamp | 35 | Steel Screw Bracket |
| 18 | Lid Swivel Clamp | 36 | Lamp Mains Adaptor |
ENVIRONMENTAL PROTECTION
Recycle unwanted materials instead of disposing of them as waste. All unwanted accessories and packaging should be sorted and taken to a recycling center for disposal in a manner that is compatible with the environment.
Through the purchase of this product, the customer is taking on the obligation to deal with the WEEE in accordance with the WEEE regulations in relation to the treatment, recycling & recovery, and environmentally sound disposal of the WEEE.
In effect, this means that this product must not be disposed of with general household waste. It must be disposed of according to the laws governing Waste Electrical and Electronic Equipment (WEEE) at a recognized disposal facility.
PARTS DIAGRAM


PARTS & SERVICE:
0208 988 7400
Parts Enquiries
[email protected]
Servicing & Technical Enquiries
[email protected]
SALES: UK 01992 565333 or Export 00 44 (0)1992 565335
I:111111M INTERNATIONAL Hemnall Street, Epping, Essex CM16 4LG
www.clarkeinternational.com



















