BOMANN WA 7194 Household Washing Machine

Introduction
Thank you for choosing our product. We hope you will enjoy using the appliance.
Symbols in these Instructions for Use
Important information for your safety is specially marked. It is essential to comply with these instructions to avoid accidents and prevent damage:
WARNING:
This warns you of dangers to your health and indicates possible injury risks.
CAUTION:
This refers to possible hazards to the machine or other objects.
NOTE: This highlights tips and information.
General Notes
Read the operating instructions very carefully before putting the appliance into operation and keep the instructions including the warranty and the receipt. If you give this device to other people, also pass on the operating instructions.
NOTE:
- Due to constant product modifications, your de-vice may differ slightly from these operating instructions; functions and methods of use remain unchanged.
- The illustrations in these operating instructions may differ from the original device.
- The appliance is designed exclusively for private use and for the envisaged purpose. This appliance is not fit for commercial use.
- The appliance is only to be used as described in the user manual. Do not use the appliance for any other purpose. Any other use is not intended and can result in damages or personal injuries.
- Do not use it outdoors. Keep it away from sources of heat, direct sunlight and humidity.
- Do not operate the appliance without supervision.
- When not in use, for cleaning, user maintenance works or with disruption, switch off the appliance and disconnect the plug (pull the plug itself, not the lead) or turn off the fuse.
- The appliance and if possible the mains lead have to be checked regularly for signs of damage. If damage is found the appliance must not be used.
- For safety reasons, alterations or modifications of the appliance are prohibited.
- To ensure your children’s safety, please keep all packaging (plastic bags, boxes, polystyrene etc.) out of their reach.
WARNING:
Do not allow small children to play with the foil.
There is a danger of suffocation!
Special safety Information for this Unit
WARNING: Hot surface! Danger of burns!
During operation the temperature of the unit drum may be very hot.
- This unit is intended to be used in household and similar applications such as
- staff kitchen areas in shops, offices and other working environ-ments;
- farmhouses;
- by clients in hotels, motels and other residential type environments;
- bed and breakfast type environments.
- Before using, the transportation locking screws must be removed, oth-erwise it may cause serious damages.
- The dry weight of laundry must not exceed the max. loading of 9.0 kg capacity.
- The unit must be connected with a new set of hoses to the water sup-ply; old hose sets should not be reused.
- The maximum / lowest permitted water inlet pressure is 1.0 / 0.1 MPa.
- The appliance is not intended for operation with an external timer or external remote-control system.
- In the appliance bottom are located ventilation openings (depending on model). These may not be blocked e. g. by carpet. Pay attention to free circulation of air.
- If the unit is used in the bathroom, unplug the power cord after using as the proximity of water presents a danger. This even applies when the unit is switched off.
- This appliance can be used by children aged from 8 years and above and persons with reduced physical, sensory or mental capabilities or lack of experience and knowledge if they have been given supervision or instruction concerning use of the appliance in a safe way and under-stand the hazards involved.
- Children shall not play with the appliance.
- Children younger than 3 years should be kept away, unless they are constantly supervised.
- Cleaning and user maintenance shall not be made by children unless they are older 8 years and supervised.
- The appliance must be cleaned regularly. Follow the instructions in the chapter “Cleaning and Maintenance”.
- Do not use any flammable/explosive cleaning agents such as benzene in the appliance.
- Do not try to repair the appliance on your own. Always contact an authorized technician. To avoid the exposure to danger, always have faulty cable be replaced only by the manufacturer, by our customer service or by qualified person and with a cable of the same type. Do not use the device if the device or plug is damaged.
Transport and Packaging
Transport the appliance
CAUTION:
Never transport the appliance without correctly installed transport locking screws.
Protect the appliance during transport against weather influences.
Unpacking the appliance
- Remove the appliance from its packaging.
- Remove all packaging material, such as foils, filler and cardboard packaging.
- To prevent hazards, check the appliance for any transport damage.
- In case of damage, do not put the appliance into operation. Contact your distributor.
NOTE: Production residue or dust may have collected on the appliance.
Appliance Equipment
Appliance Overview
- Control panel
- Appliance door
- Maintenance cover
- Feet
- Detergent dispenser
Delivery scope
1x inlet hose, 1x hose retaining bend, 4x transport locking covers, 1x wrench
Installation
WARNING:
The unit must not be connected to the mains during installing. Otherwise there is danger to life or electric shock hazard!
CAUTION:
For a correct operation the appliance must be connected properly. The specifications for water supply and drain as well as the electrical connection must fulfill the required criteria.
Remove the transport locking screws
CAUTION:
- Before using, all transport locking screws must be removed from the appliance back. Otherwise it may cause serious damages.
- Keep the transport locking screws for later use /transport. Never transport the appliance without properly attached transportation safety!
Remove the transport locking screws with the sup-plied wrench. Insert the supplied transport locking covers.
Installation location
- The site should be located near the water inlet and outlet, as well as near a properly grounded power socket.
- Good ventilation around the appliance is required, to dissipate the heat properly. Enough clearance must be created for this purpose.
- The free space in front of the unit should be so that the appliance door can be opened without hindrance.
- Make sure that the floor on which the appliance is installed, is even, heat-resistant and clean.
- Take care of a solid and horizontal position of the appliance. If the appliance is not horizontally lev-eled, adjust the feet accordingly (see “Adjust the feet” ).
- Power cord and water hoses may not kinked or squashed.
- The wall socket must be freely accessible.
- Avoid the installation:
- near heaters, next to a stove, direct sunlight or any other heat sources;
- at locations with high humidity (e. g. outdoors), as metal parts would be susceptible to corro-sion under such circumstances;
- in rooms where the temperature could drop below freezing. Do not expose the appliance any weather.
- near volatile or flammable materials (e. g. gas, fuel, alcohol, paint, etc.).
Adjusting the feet
CAUTION:
The feet must never be removed. Do not restrict the floor clearance through carpets, strips of wood or similar. Danger of heat accumulation!
- Use the supplied wrench to loosen the lock nuts.
- Rotate the feet to change the height.
- Tighten the lock nuts if the unit is aligned. The feet must have solid ground contact.
- Check with a spirit level whether the appliance is leveled horizontally. If the unit is not in balance, the feet must be adjusted again.
Installation under working plate
WARNING:
For reasons of electrical and mechanical safety, it is not allowed to remove the appliance top!
The appliance can only be positioned under a work-ing plate if the minimum distances can be adhered as shown in the illustration.
Water connection
CAUTION:
- The Installation of the water supply must conform to the local laws and regulations.
- The appliance is not suitable for hot water supply.
- Use the new supplied hose set to connect the appliance to the water supply. Do not reuse old or used connection sets.
- If the water pipe is new or long time not used, ensure before connecting to the water system, that the water is clear and free from contamination.
Notes on inlet hose safety system (delivery scope depending on model)
The safety system consists of a double-walled inlet hose. It guarantees to cut off the water supply when leakage of the inner hose. Switching off the water supply leads over an electronic contact. If necessary, you can order an inlet hose safety sys-tem from your dealer or in our online accessories shop, www.bomann-germany.de. To order, use the reference number found under “Technical Data” .
Connect the water inlet hose (cold water connection)
NOTE:
The water pressure must be between 0.1-1.0 MPa. With higher pressure: use a pressure regulator.
- Connect the water inlet hose to a water thread with ¾“. Screw the hose firmly in the direction of the screw thread; pay attention for a tight fit.
- Connect the other end of the inlet hose to the inlet valve on the appliance back; pay attention for a tight fit too.
Connect the water drain hose
NOTE:
The drain hose has a length of approx. 1.5 m and, contrary to the recommendation, could be extended to a maximum of 4 m with a suitable hose connector.
CAUTION:
To prevent backflow of contaminated water, the free end of the hose must not come under the water level of the drain.
- Connect the drain hose to a drain pipe with a minimum diameter of 40 mm; alternatively, the drain hose can be fixed to a sink or directly to the drainage.
- Always make sure that the hose is not bent or squeezed. For this purpose, use the delivered hose retaining bend (a).
- The hose must be installed at a height of min. 700 mm and max. 1250 mm above the floor.
- Secure the hose securely to avoid a change in position and with it a water leakage.
Electrical connection
WARNING:
- The installation to the mains supply must conform to the local standards and regulations.
- Improper connection may cause to an electric shock!
- Do not use multiple sockets or extension cords.
- It is not allowed to modify the plug provided with the appliance! If the plug does not fit properly to the outlet, let install a proper outlet by an author-ized specialist.
- The accessibility of the power plug must always be ensured to disconnect the device from the power supply in case of an emergency.
- Make sure that the voltage supply matches the specifications on the rating label (appliance back) before connecting.
- Connect the mains cable to a properly installed and earthed wall outlet.
- If the plug after installation is not accessible, a corresponding disconnect device must be available to meet the relevant safety regulations.
Startup / Operation
Prior using for the first time
- Make sure that all transport securing devices has been removed.
- Remove the accessories and any material from the drum.
- Allow the appliance to wash the first time without any laundry, with the addition of some washing agent in the program [Drum Clean] (see “Starting the program” ).
Preparation of clothes
CAUTION
- Do not wash any items that are declared as non-washable. Always follow the instructions on the care label of your laundry.
- Do not wash clothes soaked in petrol, thinners, alcohol, or solvents.
- Foreign objects (e. g. nails, coins) can cause damage to garments and components.

- Check the pockets of all garments on content and empty them completely.
- Sort your fabrics by color and the symbols contained on the care label. Separate white and colored laundry. All new colored clothes should be washed separately.
- Turn buttons and embroidery inside.
- Close zippers, buttons and hooks before washing. Tie any loose straps and loops.
- Wash bras e. g. in a pillowcase to prevent leak-age of the steel bracket.
- Particularly delicate fabrics such as curtains, crochet or small items (socks, handkerchiefs, neck-ties, etc.) should be washed in a closed bag.
- Remove always all the hooks from curtains.
- Washing large and heavy parts such as bath tow-els, jeans, lined jackets and the like can cause the drum to run unbalanced. We recommend adding one or two smaller parts; this especially helps with the spinning cycle.
- The clothes which easily get fuzzed shall be washed separately; otherwise the other articles can be stained with dust and thrum etc. Preferably, black clothes and cotton clothes shall be washed separately because they can easily get stained with the thrums of other colors when being washed together.
- Clean away dusts, stains and pet hairs from the clothes.
- For spot removing heavy soiling the laundry can be treated with a special prewash spray. Follow the operating instructions of the product packaging.
Select proper detergent
CAUTION:
Always consider the dosage and storage recommendations on the sales packaging.
WARNING:
Keep detergent and additives out of reach for children!
- Use only “slightly foaming” detergent for washing machines according to type of fabric (cotton, synthetics, lined or woolen products), color, washing temperature and degree of soiling. Otherwise foaming can cause overflowing.
- Bleach is alkaline and can damage your clothing, preferably does not use bleach.
- Detergents often leave residue in the clothes, which can cause bad odor if not rinsed properly.
- Detergent cannot easily get dissolved completely if there is too much detergent or water temperature is rather low. It can remain in clothes, pipes and washing machines to pollute the clothes.
- Washing shall follow the weight of clothes, dirty degrees, local water hardness as well as the recommendations from the detergent manufacturers. Consult the water company if you are not clear of water hardness.
Recommended detergent
| Type of laundry | Washing Temp. | Detergent |
White textiles made of cotton or organic fibres | 20°C – 95°C | General purpose laundry detergent |
Colorful textiles made of cotton or organic fibres | 20°C – 95°C | Color-care laundry detergent |
Delicate textiles, e. g. silk | 20°C | Mild detergent |
| Textiles made from synthetic fibres or mixed textiles | 20°C – 60°C | Specialty laundry detergent |
Microfiber sports- wear | 20°C – 40°C | Specialty laundry detergent |
| Woolen textiles | 20°C – 40°C | Specialty or mild laundry detergent |
| Baby clothing | 20°C – 60°C | Specialty laundry detergent |
| Jeans / Denim | 20°C – 95°C | General purpose or specialty laundry detergent |
- When washing heavily soiled whites, we recommend using cotton programs of 60°C or above and a normal washing powder (heavy duty) that contains bleaching agents that at medium/high temperatures provide excellent results.
- For washes between 40°C and 60°C, the type of detergent used needs to be appropriate for the type of fabric and level of soiling. Normal powders are suitable for „white“ or color fast fabrics with high soiling, while liquid detergents or „color protecting“ powders are suitable for colored fabrics with light levels of soiling.
- For washing at temperatures below 40°C we recommend the use of liquid detergents or deter-gents specifically labelled as suitable for low temperature washing.
- Detergent dispenser
CAUTION:
The detergent drawer is designed exclusively for the use of detergents for washing machines!
NOTE:
- Always add the detergent powder just before starting the wash cycle, otherwise it could get damp and will not dissolve properly.
- Do not use liquid detergents when the program start delay is activated.
- At the end of the wash cycle the drawer must be empty.

- I Chamber for the prewash or soaking cycle. Deter- gent for the prewash or soak is added at the be-ginning of the wash pro-gram.
- II Chamber for main wash cycle with powder or liquid detergent. Chamber for detergent additives (fabric softener, starch). Follow the manufacture’s dosage
recommendations. Do not exceed the MAX mark!
Foam detection
Excessive foam forms when too much detergent is used. This affects the wash and rinse cycle. The function automatically checks foaming; excessive foam is removed by an extra rinse and spin cycle.
Fill in the laundry
- Unravel the clothes before putting them into the machine.
- Each load should correspond to the nominal capacity of the appliance. Do not overload the appliance. Different strengths, sizes and types of laundry can affect the actual loading capacity. It is ad- visable to load the appliance just that a normal circulation during washing is possible.
- Make sure that no laundries are caught between the appliance door.
Control panel / Functional description
NOTE:
Note that the settings, functions and additional options are program-dependent!
- Program selector switch
To select a wash program, turn the program selector switch to the appropriate position. For details about the programs, see the “Program table” .
AUS Off-Position
To switch the appliance off, turn the program selector switch back to the off position. - Washing temperature
Press the button repeatedly to set the desired washing temperature.
↪– (cold)→20→30→40→60→95↩ - Spin speed
Press the button repeatedly to select the speed for the spin cycle.
↪1400→1200→1000→800→600→400→0 (Spin stop)↩
Safety child lock
To activate / deactivate the safety child lock, keep pressing the button combination for about 2 seconds after program start. - Favorite
After you have selected the program including the associated settings, keep pressing the button for approx. 3 seconds. Your favorite program is saved under [Favorite] (program selector switch). The operating conditions are saved until you change them using the same procedure.
Mute
To activate / deactivate the acoustic signals, keep pressing the button combination for approx. 2 seconds. - Options
Selection button for the options [Prewash] [Extra Rinse] and [Intensive].
Prewash
Additional wash cycle to the previously set main wash program, for particularly dirty laundry.
Extra Rinse
Additional rinse cycle to the previously set main wash program, detergent residues are rinsed out.
Intensive
Increased washing duration / intensity for a better cleaning effect on heavily soiled laundry. - Delay end function
The end of the program can be delayed between 1 – 24 hours by repeatedly pressing the button.
↪1:00→2:00→3:00→4:00→5:00→6:00→…..→24:00↩
Based on the selected program, the appliance calculates the program duration at which the operation will be started automatically to reach the selected end-time for switching off.
Prerequisite: The delay time must be longer than the program duration of the selected washing program. The expected end of the program (delay end + pro-gram duration) is shown on the display, the program is ended after [x:xx] hours. - Start/Pause
Press the button to start / pause the selected or running washing program. After the start of the washing program, the remaining time is shown in the display as [x:xx] hours and minutes. If the appliance is in pause mode, the current display messages flashes. - Control lamps / Display messages

Favorite program set 
Delay end function active 
Door lock active 
It is possible to add laundry 
Safety child lock active 
Mute active 
Option Prewash active 
Option Extra Rinse active 
Option Intensive active Program status: 
Prewash cycle 
Main wash cycle 
Rinse cycle 
Spin cycle
- End of washing program [End].
- Various error codes are displayed in the event of a fault.
Program table
NOTE:
The shown values are approximate and recommendations under standard conditions and therefore not bind- ing. The program times can vary depending on the water pressure, type of laundry, loading and water temperature.
Program | max. Loading kg | selectable Temperature °C | max. Spin speed rpm | Default Time h:min | Options | ||
| Baumwolle / Cotton | ≤9.0 | –,20,30,40,60,95 | ≤1400 | 3:29 | √ | √ | √ |
| Buntwäsche / Cotton Color | ≤9.0 | –,20,30,40,60 | ≤1400 | 1:50 | √ | √ | — |
| Eco 40-60 | ≤9.0 | — | ≤1400 | 3:48 | — | — | — |
| Mix | ≤4.0 | –,20,30,40 | ≤1400 | 2:18 | √ | √ | √ |
| Wolle / Wool | ≤2.0 | –,20,30,40 | ≤600 | 0:55 | — | √ | — |
| Express 15‘ / Quick 15‘ | ≤1.0 | –,20,30,40 | ≤800 | 0:15 | — | √ | — |
Spülen+Schleudern / Rinse+Spin | ≤9.0 | — | ≤1400 | 0:30 | — | √ | — |
| Schleudern / Spin Only | ≤9.0 | — | ≤1400 | 0:10 | — | — | — |
| Trommelreinigung / Drum Clean | — | 95 | ≤800 | 1:10 | — | — | — |
| 20°C | ≤9.0 | 20 | ≤1400 | 1:50 | √ | √ | √ |
| Oberbett / Duvet | ≤2.0 | –,20,30,40 | ≤600 | 1:05 | — | √ | — |
| Sportkleidung / Sportswear | ≤2.0 | –,20,30,40 | ≤1000 | 0:58 | √ | √ | √ |
| Dunkle Wäsche / Dark Wash | ≤4.0 | –,20,30,40,60 | ≤1000 | 1:15 | √ | √ | √ |
| Babykleidung / Baby Care | ≤2.0 | 40,60,95 | ≤1400 | 2:10 | √ | √ | √ |
| Hygiene / Allergy | ≤2.0 | 40,60 | ≤1400 | 1:51 | √ | √ | — |
- Below listed parameter except for the values for the “Eco 40-60” program, are only guide values:
Program
Temp. °C Loading kg Time h:min Water consump. L/cycle Energy-consump. kWh/cycle Spin speed rpm
Average residual damp
%
selected reached Cotton 60 55 9.0 2:40 78 1.55 1400 53.00 Eco 40-60
— 38 9.0 3:48 72 0.84 1400 50.00 — 31 4.5 2:54 53 0.46 1400 52.00 — 26 2.5 2:54 28 0.22 1400 52.00 Mix 40 38 4.0 1:58 66 0.70 1400 45.00 Quick 15‘ 40 38 1.0 0:30 22 0.33 800 55.00 20° 20 21 9.0 1:50 78 0.19 1400 53.00 - The values measured under normal conditions with regard water, energy and residual moisture refer to the standard set-ting of the programs, without options.
General information to the program table! - The program „Eco 40-60“ is able to clean normally soiled cotton laundry washable at 40°C-60°C, together in the same cycle. The program is used to check compliance with EU eco design legislation.
- The most efficient programs in terms of energy and water consumption are generally those that perform at lower temperatures and longer duration.
- Loading the household washing machine or household washing-dryer up to the capacity specified for the respective programs helps saving energy and water.
- Noise emissions and residual moisture are influenced by the spin speed: the higher the spin speed in the spin cycle, the higher the noise emissions and the lower the residual moisture.
Program brief description Cotton For your daily laundry. Recommended for hard wearing, heat resistant cotton textiles. Cotton Color Program for lightly to moderately soiled laundry. Eco 40-60 Less energy is used to heat the water and less water is used to wash the same amount of laundry as in program [Cotton]. The program is used to check compliance with EU eco design legislation. Mix Suitable for textiles made of mixed fabrics, i.e. cotton mixed with synthetic fibers. Wool Suitable for “machine washable” wool. Observe the correct washing temperature and use a suitable detergent. Quick 15‘ Extra short program for a small load with light soiling and no noticeable stains. Rinse+Spin Separate rinse cycle with spin function. Suitable for rinsing out detergent residues. Spin Only Separate spin cycle. Water is drained before the spin cycle. Drum Clean Suitable for self-cleaning of the appliance drum. You cannot wash any laundry. Drum cleaning will be perfect if you add the appropriate amount of chlorine bleach. 20°C Suitable for cotton clothing with light stains – energy saving! Duvet Machine washable articles filled with synthetic fabrics, e. g. pillows, quilts and comforters, also suitable for down filled items. Sportswear Particularly gentle on lightly soiled sportswear made of cotton, microfibers, synthetic. Dark Wash Dark cotton textiles and dark, easy care textiles. Baby Care Program with steam function – suitable for baby clothes and underwear, etc., which sterilizes and disinfects through high temperature steam. Allergy Program with steam function – suitable for high temperature resistant and less fading fabrics, which removes allergens such as pollens, mites and parasites through high temperature steam.
Wash temperature
Select the temperature corresponding to the textiles and pollution. Basically: the higher the temperature, the higher the power consumption.
95°C : Heavily soiled pure white cotton or linen (e.g. tablecloths, sheets and towels).
40°C_60°C : Moderately soiled colored cotton, linen and synthetic (e.g. shirts or underwear). Slightly soiled whites (e.g. underwear).
cold_20°C_30°C : Normally soiled laundry (including synthetic and wool).
Capacity
Do not overload the appliance otherwise the laundry is not getting clean. Refer to the information in the “Program table” .
Starting the program
- Connect the appliance to the power supply and switch it on.
- The water supply must be opened to the maxi-mum pressure.
- Load your laundry and fill in the detergent, if nec-essary.
- Close the appliance door properly.
- Set the required washing conditions.
- Start the operation.
Door lock
Once a wash program has been started, the appli-ance door cannot be opened. When the wash cycle is finished, the door lock will automatically be unlocked.
Refill laundry
WARNING:
Never attempt to force open the appliance door dur-ing operation. After the program has started, you can refill or re-move laundry as needed. Interrupt the washing pro-cess with the Start/Pause- button. The appliance checks whether a refilling is possible and, if neces-sary, releases the door lock after a short time. As soon as the water temperature or the water level exceeds a certain value, the door remains locked for safety reasons and cannot be refilled.
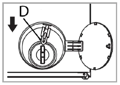
Emergency door opening
If the appliance door cannot be opened due to a power failure or other special circumstances, the door locking lever at the drain pump can be used for emergency opening.
CAUTION:
Make sure that the appliance is disconnected from the power supply and that the water temperature and the water level are correspondingly low.
- Open the maintenance cover in the base of the unit. For this, the use of a tool could be neces-sary.
- Pull the locking lever (D) down with the help of a tool while you operate the door handle at the same time. Now the appliance door should be open.

Changing the program
- To change the program, first interrupt the washing process.
- Switch the device briefly off and then on again.
- Select the desired program and start the new operation.
End of program
At the end of the wash cycle the display appears [End]. Several beeps sound (provided muting is de-activated); a few minutes later, the door lock is re-leased and the appliance enters off-mode.
Switching off
- Switch off the appliance (turn the program selector switch to the Off-position).
- Close the water supply!
- Leave the appliance door slightly open until the next wash cycle to avoid odors.
If the appliance is not in use for an extended peri-od, disconnect the mains plug or switch off or turn out the fuse.
Power consumption in off-mode 0.49 W / in standby-mode — / with start delay 3.90 W.
Energy saving tips
- If possible, avoid the selection of high wash temperatures. Modern detergents achieve good washing results even at low temperatures.
- Select the wash program depending on the type of laundry and the required degree of washing.
- Take advantage of the maximum capacity of each wash program.
- Clean the filter regularly to avoid excessive washing and high energy consumption.
- Ventilate the room well. The room temperature should not rise above +35°C.
Cleaning and Maintenance
WARNING:
- Always switch off the appliance and disconnect it from the power supply before cleaning and user maintenance.
- Allow the appliance to cool down enough before cleaning. Scalding!
WARNING:
Do not use steam cleaners for cleaning the appliance; moisture could enter electrical components. Risk of electric shock! Hot steam could damage the plastic parts. The appliance must be dry be-fore restarting operation.
CAUTION:
- Do not use a wire brush or other sharp, abrasive items.
- Do not use any acidic or abrasive detergents.
NOTE
Dirty or clogged filter degrades the washing result. Regularly check the filter and clean them if necessary.
Maintenance of the washing machine

- Clean the appliance outer surfaces and the door sealing thoroughly with a soft, damp cloth. Use only mild cleaning agent.
- Use a dampened cloth with a little white vinegar or a special detergent for washing machines to clean the appliance drum.
- Recommendation: allow the appliance to run regularly without loading in the program [Drum Clean].
- Dry the outer surfaces thoroughly before taking in operation again.
Cleaning the detergent container
To avoid detergent deposits, the drawer must be cleaned regularly.
- Push down the lever in the main wash chamber and at the same time pull the drawer completely out.
- Remove the dispenser tray from the detergent additive chamber and the separator from the main wash chamber.
- Carefully wash the chambers under running water. Use a soft brush for the housing if necessary.
- Reassemble and insert the detergent container properly.
Cleaning the inlet filter
CAUTION:
- Close the water supply before cleaning!
- Always check if the water hoses are properly rein-stalled and no water leaks.
Inlet filter at the tap
- Clean the filter when not enough water is supplied with opened water valve.

Inlet filter at the appliance
Clean the filter regularly, approximately every one to three months.
- Unscrew the inlet hose from the appliance back.
- Remove and clean the filter with a small brush.
- Insert the filter and reconnect the inlet hose firmly.
Cleaning the filter of drain pump
CAUTION:
The appliance must never be used without the filter.
The foreign object trap in the drain pump prevents rinsed-out parts from blocking the drain pump sys-tem. Clean the pump regularly, approx. once a month; depending on use.
- Open the maintenance cover in the base of the unit. Caution! For this, the use of a tool could be necessary.
- Place a drip tray under to catch possible leaking water.
- Turn the cap counterclockwise. Look for leaking water! Turn the filter not completely out!
- Interrupt the water flow by turning the filter clock-wise again.
- If the draining process is completed, turn out the filter completely.
- Take off the filter and remove any dirt and foreign objects.
- Insert the cap again and make sure it is tightened well and no water can escape.
- Close the maintenance cover.
Freezing protection
If the appliance is out of operation and exposed to temperatures below zero, observe the following measures:
- Disconnect the unit from the power supply.
- Close the water supply and remove the inlet hose from the water valve.
- Drain the water from the supply hose and from the water valve.
- Reconnect the supply hose to the water valve.
Troubleshooting
Before you contact an authorized specialist For some malfunctions, the display shows error codes to warn you:
| CODE / Trouble | Possible cause / measures |
| Appliance does not work or start | Check the power supply / water supply. Is the door closed, the device switched on or a program selected? |
| Strong Vibration | Have the transport bolts been removed? The device must stand on a firm surface. Are the feet aligned? |
| F01 → Water inlet fault | Faucet is not open, water supply not free or water pressure too low. Inlet filter blocked. Inlet hose is blocked, kinked, squeezed. |
| F03 → Drainage fault | Drain hose is blocked, kinked, squeezed, not correctly connect- ed. Drain pump is blocked. |
| F13 → Door lock fault | Door is not properly closed or blocked with laundry items. |
| F14 → Door un- lock fault | Press the Start/Pause- button or switch the unit off and on again. See also “Emergency door opening”. |
| F24 → Water is continuously admitted | Check inlet water pressure and reduce if necessary. Close water supply and call specialized company. |
| Others F04-F98 → Electronic fault | Switch the unit off and on again. If the error persists, call specialist company. |
| CODE / Trouble | Possible cause / measures |
| Unb → Unbalance alarm | Switch the unit off. Rearrange the laundry and switch the unit on again. Start spinning program. |
NOTE:
If a problem persists after following the steps above, contact your distributor or an authorized technician.
Technical Data
Electrical connection / Water supply.…………………..
Connection voltage: ………………220-240 V~ / 50 Hz
Connection power: …………..………….……..1750 W
Input power: ………………………………..………10 A
Water pressure: ………………..………..0.1 – 1.0 Mpa
Dimension H x W x D / Weight…..……………………..
Unit size: ……………..……….…85.0 x 60.0 x 61.0 cm
Net weight: ……………………….……approx. 67.0 kg
Accessories available…………………………………..
Inlet hose safety system……………Art.-No. 8900 410
For more information about the product, scan the QR code on the supplied energy label and/or visit the official website of the product data bank:
https://eprel.ec.europa.eu
The right to make technical and design modifications during continuous product development remains reserved. This appliance has been tested according to all relevant current CE guidelines, such as electromagnetic compatibility and low voltage directives, and has been constructed in accordance with the latest safety regulations.
Disposal
Meaning of the “Dustbin” Symbol
Protect our environment; do not dispose of electrical equipment in the domestic waste. Please return any electrical equipment that you will no longer use to the collection points provided for their disposal. This helps avoid the potential effects of incorrect disposal on the environment and human health. This will contribute to the recycling and other forms of reutilization of electrical and electronic equipment. Information concerning where these can be disposed of can be obtained from your local authority.
WARNING:
Remove or disable any existing snap and bolt locks if you take the unit out of operation or dispose it.




































