Fully Auto Washing Machine Manual

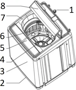
COMPONENTS

- Inlet Valve
- Base
- Body
- Inner Tub
- Operation Panel
- Filter
- Frame
- Top Cover
Note: All the drawing in the manual is schematic diagram.
The diagram may differ slightly from the layout of the washing machine you have just purchased due to technical improvements.
Safety Information
Warning Sign
| This is a warning sign specifying user’s applications that might be dangerous. Failure to comply with the instructions under this sign may result in major damage to washing machine, physical injuries or even death. |
Strictly Forbidden
| This is a forbidding sign specifying applications that are strictly forbidden. Failure to comply with the instructions under this sign may result in major damage to washing machine, physical injuries or even death. |
- Please check the power socket carefully and make sure the ground wire is connected for safety operation.
- Power Supply: 110V/60 Hz
IMPORTANT SAFETY PRECAUTION
* Please connect the plug to 110V power socket, and make sure the ground wire is firmly connected. If possible, please use the water proof protector.

* Please make sure the plug is accessible while the machine is in operation. Remove the plug and turn off the water supply when the power if off, or when you move or clean the machine. Do not handle the plug with wet hands.


- Do not over bend, stretch, press or place objects on the power cord.
- Please keep the plug dry and clean.
- If you have trouble with the power cord or plug, please contact the seller for help.


* Do not place the washing machine directly on a carpet, or close to a wall or furniture.


- carpet
- vents in the bottom of washing machine
* The water temperature shall not exceed 122°F.


* To avoid damaging the electrical insulation, please do not place the machine in the bathroom.
* Do not clean the machine with spray water.
* Do not put wet clothes, heavy and hot things on top of the machine.


* Do not wash water proof clothing such as rain coat, car covers or other items, through which water does not flow easily. The machine may not work properly.
* Pay close attention to lightweight clothes to avoid damage.


* Do not connect other appliances to the same socket.
* Do not use unqualified power source.
* Keep the plug wire clean.


Never put your hand into the tub while the machine is working. Keep children away from the machine.

Do not disassemble, repair and repack the machine by yourself.


Do not put heavy or hot things on the top of machine.


Do not wash laundry soaked with petrol and organic solvent.


Keep the machine away from children, persons with the usage of this machine, unless guidance is given.


Keep the machine away from heat generating equipment and avoid from direct sunlight.


Make sure the filter is in good condition and fixed well before wash.

- fix
- filter cover
- filter
- unload

- unload
- filter
- filter back-cover
- fix
- Please make sure the inlet hose fixed correctly. Put down the drain hose and supply water before wash.
- We suggest to use few-foam detergent.
- Do not use the machine when the temperature is below 0°C. To avoid damage of machine and to have a good washing result, please reuse the machine after placing it in the warm area for 2 to 4 hours if it placed in somewhere below 0°C.
INSTALLATION & ADJUSTMENT
For users to use the machine safely and correctly, please install and adjust the machine according to this instruction.
Remove Package
- Open and remove the carton, take the rodent proof board out.
- Open top cover of the washing machine, take out the accessories from the tub.
- Remove other packages including the base foam in the



- the rised plastic
- base-foam
Fix the Rodent Proof Board
Install the Rodent-proof Board
- Tilt the back of the machine slightly;
- Slide the board into the bottom of the machine and fix it.

- trough
- rat-proof board
Adjustment
Keep the machine away from the wall more than 20mm.The maximum allowance inclination angle between the ground and palm is 2° . Uneven or tilted ground may cause the machine uneven running or stop working.
Please adjust the machine as following:
- Level
Hang a rope with tied hammer to confirm whether the machine is in the level line.

- Adjust
Adjust the adjustable feet by slightly up, rotate the feet until arrive the level line.

- Tighten
- Adjustable foot
- Going Shorter
- Going Taller
- Loosen
USAGE OF DRAIN HOSE

- Hook of drain hose


- Block cover in base
- Clip for drain hose
- Drain hose
Keep the drain hose running smoothly
1. The height of the drain hose should be less than 10cm, otherwise the drainage will not be smooth. The machine may also stop working at mid way if the drainage takes too long.
2. Do not tramp or press the drain hose.


3. If the drain hose is too long, cut it shorter to help the water flow smoothly.


4. If extra drain hose is needed, please purchase separate hose. The inner diameter of the hose should be the same with or over than 30mm, and the length should be less than 60 inch.

INSTALLATION OF INLET HOSE
NOTE
- Please use the new water inlet hose supplied with the appliance. Old hose should not be reused.
- Water supply pressure must be between 0.03~1.00MPa.
Correct Faucet
Usable faucet


- End-Mouth
Unusable faucet

The depth of end mouth should be more than 10mm. The end mouth should be smooth. Please use file to polish to avoid leakage.
Connect the inlet hose to faucet
- Slide down the slider to unload the inlet-water connection from the inlet-water assembly (picture 1)
- Make sure the exposed thread is 4mm (picture 6). If the exposed thread is less than 4mm, please loosen the nut and make the exposed thread 4mm.
- Loosen the inlet water screws to appropriate position and connect to the faucet (picture 2). If the mouth dia. of the faucet is too big, the inlet water hose cannot connect with the faucet, please loosen the 4 screws and unload the bush (picture 3).

- let-water connection
- The slider
- Inlet water hose

- Screwdriver
- Marked card

- Screw
- Bush
4. Tighten the screw equally (picture 4).
5. Fasten the nut (picture 5). To make sure the connection is tight enough, the length of exposed thread should be less than 2mm (picture 6)

- Nut

- About 4mm before tightening Less than 2mm after tightening
NOTE
- Please use the new water inlet hose supplied with the appliance. Old hose should not be reused.
- Water supply pressure must be between 0.03~1.00MPa.
Connecting Inlet Water Hose to Washing Machine
- Do not remove the absorbent pad. Please make sure the absorbent pad is in good condition each time before using.
- Insert the inlet hose into the inlet valve.
- Fasten the nut and make sure it’s fixed well.

- Nut of Inlet-water hose
- Absorbent pad
- Inlet valve connection
Connecting Inlet Water Hose
- Press down the slider, insert the hose into the connection.
- Loosen the slider until you hear the “Click” sound.

- Inlet-water connection
- The slider
Checking the Connection
- Pull the inlet hose slightly to confirm it is fixed tightly.
- Open the faucet to check for leakage.
- Do not bend the hose with force.
- Before each use, check the connection and make sure it’s tightly connected.



Unload the Inlet Hose
- Close the faucet.
- Press down the slider to take the hose down.
There is no need to unload the inlet hose if you use the washing machine more than 1 time per week.

- The slider
PREPARATION BEFORE WASHING
Note:
Water temperature SHOULD NOT be over 122°F (50°C).
Preparation before Washing
- Fix the inlet hose into the faucet, open the faucet.
- Make sure the socket is properly grounded before connecting to the power supply.
The ground connection should not be connected to any of gas pipeline and water pipeline. - Put the drain hose down.



4. Place the washing machine on a level and firm surface which allows proper clearance.
Check the Laundry before Wash
- Look for the care label on the clothes, and make sure the laundry is fit for machine wash.
- Sort clothes into loads that can be washed with the same wash cycle. Always sort darks colors from pale colors and whites. Turn shirts inside out.
- Check all pockets for items such as coins, keys, clips, needles, which may damage the clothes and the machine.
- Close zippers, mend torn garments or loose buttons. Tears or holes may become larger during wash.
- Do not wash water-proof laundry such as shower curtain, raincoat, etc. Do not wash carpet and electric blanket to avoid abnormal vibration and accident.
- Put the underwear, panty, bra, clothing with lace, nylon and thin fiber into special washing net.
- Pre treat dirt and stains.
- Do not over wash. Please put the denim jeans and large clothes loosely into the tub.
Do not wash carpet and electric blanket!
Do not spin the worsted wool fabric clothes to avoid clothes shrinkage and deformation.
Do not spin the down clothes and waterproof clothings to avoid dangerous!
ADDING DETERGENT

- The capacity is the allowed maximum standard weight of dry laundry in one operation.
- Laundry thickness, size, type, etc. will affect the actual washing capacity. It is better to put appropriate laundry into the washing machine.
- Put in detergent in tub.
Weight of laundry for reference

- Jeans (about 800g)
- Coat in the mixed (about 800g)
- Jacket (about 800g in cotton)
- Sheet for single (about 600g in cotton)
- Socks (about 50g in the mixed)
- Under-wear (about 70g in cotton)
- T-Shirt (about 180g in cotton)
- Shirt(about 300g in cotton)
- Pajamas (about 200g)
- Quilt (about 900g in cotton)
- Work-wear (upper & pants) (about 1120g in cotton)
PROGRAM OPERATION


Water Level Button
Press to manually select the water level according to the amount of laundry.
There’re 8 optional water levels. 6L is the default water level.

Program
Program/Reserve Button
- 10 different washing procedures
01 Regular Wash, 02 Normal Wash, 03 Quick Wash, 04 Blanket, 05 Extra Spin, 06 Soak, 07 Wash Only, 08 Quick Spin, 09 Wash & Rinses, 10 Rinses & Spin - For laundry reservation, press this button for 2 seconds to enter reserve mode, and adjust the setting from 0-24 hours.

Start/Pause
Start/Pause Button
Press this button to start or pause the washing process.

POWER
Power Button
Press this button to turn the power on or off.
Program/Reserve Button
10 different washing procedures
01 Regular Wash, 02 Normal Wash, 03 Quick Wash, 04 Blanket, 05 Extra Spin, 06 Soak, 07 Wash Only, 08 Quick Spin, 09 Wash & Rinses, 10 Rinses & Spin
For laundry reservation, press this button for 2 seconds to enter reserve mode, and adjust the setting from 0-24 hours.
Start/Pause Button
Press this button to start or pause the washing process.
Power Button
Press this button to turn the power on or off.
Water Level Button
Press to manually select the water level according to the amount of laundry.
There’re 8 optional water levels. 6L is the default water level.
MAINTENANCE
- Please keep clean and clear away the scraps and debris.
- Please cut off power supply when cleaning and clearing the scraps and debris.
- Cleaning the Filter
- The filter must be in place during operation. Make sure it’s in place after cleaning.
- Clean the filter regularly after using the machine. Install and remove the filter:
1. Press down the elastic plate in the upper, and then pull out the filter (picture 1).
2. Open the back cover of the filter (picture 2).
3. Clean the filter.
4. Put back the filter and press it into place (picture 2).
5. Make sure the filter is placed properly in case it falls out during the washing process.

- Load
- Upper
- Unload
- End
Load/Unload filter
- Upper
- Load
- Filter fronter
- End
- Unload
- Back cover
Load/Unload back cover of filter
To prevent blockage to the water supply, clean the water inlet valve with brush every 2 months.

Cleaning the Outside of Washing Machine
- Wipe down the exterior of the washing machine with wet wipes.
- Do not wash with spray water.
- Clean with neutral detergent.
- Never use or apply alcohol, thinner, gasoline, kerosene, and the like. This will damage the machine.


Note:
- After finish washing, turn off the water supply and unplug the power cord. (Unload the water inlet hose if necessary)
- Please do not leave water in tub for a long time. Drain the water completely after each load.
- Please remove the plug from socket before maintenance.
- Hang the plug and drain hose well.
- Use clean and soft wipes to clean the machine. Leave the cover open until it’s dry to prevent formation of moisture and odours.
PACKING INSTRUCTION
| Name of Parts | Quantity | Location |
| Water Inlet Hose | 1 set | Inner Tub |
| User Manual | 1 Piece | In the Box |
| Rat-proof Board | 1 Piece | In Upper Foam |
| Automatic Washing Machine | 1 Set | In the Box |
| Rated voltage and frequency | 110V / 60Hz |
| Inlet pressure | 0.03MPa~0.78MPa |
| Rated input power | Wash:380W spin: 250W |
| Water Proof Class | IPX4 |
TROUBLESHOOTING
Before calling for service or technician, please check the problem against the list below.
* Do not attempt to repair the machine by yourself.
| Symptom | Possible Causes | Solutions |
| The machine does not work / The light doesn’t turn on | 1. The plug is not connected to the power properly. | 1. Make sure the plug fits tightly to the power outlet. |
| 2. There is no power in the power outlet. | 2. Check the power outlet or connect to a different outlet. | |
| 3. The machine has not been switched on | 3. Press “Power” to switch on the machine | |
| 4. Power failure | 4. Check the power supply. | |
| Water inlet hose leakage | 1. The inlet hose is not connected tightly to the faucet. | 1. Tighten the connection to the faucet again. |
| 2. The inlet hose is not connected tightly to the washing machine. | 2. Tighten the connection to the washing machine. | |
| Drainage failure | 1. The height of the drain hose is too high or the drain hose is not put down. | 1. Put the drain hose down. |
| 2. The drain hose is bent or blocked. | 2. Clean and straighten the drain hose. | |
| Unable to input water | 1. There is no water supply. | 1. Check the water supply. |
| 2. The faucet is not open. | 2. Turn on the faucet. | |
| 3. The inlet hose is blocked. | 3. Clean the inlet hose. | |
| Operation stops before during spinning | The laundry is not evenly balanced. | The machine can correct the imbalance automatically by adding water. |
| Unable to spin | 1. The top cover is open after drainage. | Close the top cover. |
| 2. The top cover is opened during spin cycle | ||
| Spin intermittently during spin cycle | The machine is auto-adjusting for better spin result. | This is normal and doesn’t affect the functionality. |
| There is water left in drain hose | The machines are 100% tested in factory. | This is normal and doesn’t affect the functionality. |
















