Raymarine EV-100 Tiller Drive Autopilot

Important Information
This handbook contains important information about installing, using and maintaining your new Raymarine product. To get the best from the product, please read this handbook thoroughly.
Warranty Fair Use policy
- Tiller drives have only been designed for use on tiller-steered sail boats. Tiller drives are NOT warranted for use in any other application, and warranty claims under this fair use policy can only be honored if the product is being used for the intended application.
- To register your new Ray marine product, please take a few minutes to register on the website at www.raymarine.com/warranty
Safety notices
WARNING:
- Product installation
This equipment must be installed and operated in accordance with the instructions contained in this handbook. Failure to do so could result in poor product performance, personal injury and/or damage to your boat. - Electrical safety
Make sure the power supply is switched off before you make any electrical connections. - Calibration
We supply this product calibrated to default settings that should provide stable performance for most boats. To ensure optimum performance on your boat, you must complete the procedures detailed in the Commissioning section of the handbook for the relevant Autopilot controller. - Navigation aid
Although we have designed this product to be accurate and reliable, many factors can affect its performance. As a result, it should only be used as an aid to navigation and should never replace common sense and navigational judgement. Always maintain a permanent watch so you can respond to situations as they develop.
Your Ray marine autopilot will add a new dimension to your boating enjoyment. However, it is the skipper’s responsibility to ensure the safety of the boat at all times by following these basic rules:
- Ensure that someone is present at the helm AT ALL TIMES, to take manual control in an emergency.
- Make sure that all members of crew know how to disengage the autopilot.
- Regularly check for other boats and any obstacles to navigation –no matter how clear the sea may appear, a dangerous situation can develop rapidly.
- Maintain an accurate record of the boat’s position by using either a navigation aid or visual bearings.
- Maintain a continuous plot of your boat’s position on a current chart. Ensure that the locked autopilot heading will steer the boat clear of all obstacles. Make proper allowance for tidal set – the autopilot cannot.
- Even when your autopilot is locked onto the desired track using a navigation aid, always maintain a log and make regular positional plots. Navigation signals can produce significant errors under some circumstances and the autopilot will not be able to detect these errors.
EMC conformance
All Ray marine equipment and accessories are designed to the best industry standards for use in the recreational marine environment. The design and manufacture of Raymarine equipment and accessories conform to the appropriate Electromagnetic Compatibility (EMC) standards, but correct installation is required to ensure that performance is not compromised.
Handbook information
To the best of our knowledge, the information in this handbook was correct when it went to press. However, Ray marine cannot accept liability for any inaccuracies or omissions it may contain. In addition, our policy of continuous product improvement may change specifications without notice. As a result, Ray marine cannot accept liability for any differences between the product and the handbook.
Parts supplied

Dimensions

Critical dimensions
Installing the tiller drive involves mounting it between the tiller and a fixed point on the boat’s structure. Two dimensions are critical for correct installation:
- Dimension A = 620 mm (24.5 in): the distance from the mounting socket to the tiller pin. Pull out the drive pushrod to this dimension.
Note: If your installation requires a pushrod extension (see page 8) or cantilever mount (see page 12),this dimension will increase. - Dimension B = 460 mm (18 in): the distance from the rudder stock’s center line to the tiller pin.

- Clamp the tiller on the boat’s center line and mark dimensions A and B. Use masking tape to locate the fixing points for the tiller pin and mounting socket.
Note: You can measure dimension A on either the port or starboard side of the cockpit, depending on which side you intend to mount the drive. If you select port mounting, you must correct the autopilot steering direction. - Make sure the measurements are at right angles (as shown on the diagram).
- Make sure that the drive unit is mounted horizontally.
Basic installation
After establishing the control dimensions A and B, you can usually mount the tiller drive directly onto the cockpit seat.
Installing the tiller pin (part no. D001)
- Drill a 6 mm (1/4 in) diameter hole to a depth of 25 mm (1 in) at the fixing point you have marked on the tiller.
- Use a two part epoxy adhesive (e.g. Araldite) to fix the tiller pin in place.
- Position the shoulder of the pin so it is 12.5 mm (1/2 in) above the tiller surface.
Installing the mounting socket (part no. D002)
- Drill a 12.5 mm (1/2 in) diameter hole to a depth of 25 mm (1 in) at the fixing point you have marked on the cockpit seat.
- If the structure at the mounting position is less than 25 mm (1 in) thick, reinforce the underside with plywood bonded into position.
- Install the mounting socket using a two part epoxy adhesive.
CAUTION:
As the tiller pilot is capable of generating high pushrod loads, you MUST:
- drill holes to the specified size and reinforce where necessary
- allow the epoxy to harden completely before apply a load
Installation accessories
If you are not able to install the drive unit directly onto the cockpit seat or tiller as described, use one (or a combination) of the following accessories:
- pushrod extensions
- tiller brackets
- cantilever sockets
- pedestal sockets
Pushrod extensions
If you need to increase the pushrod length (because of the distance from the mounting socket location to the center line), use a Ray marine pushrod extension.
Identifying the correct pushrod extension
- Clamp the tiller on the boat’s center line.
- Measure dimension C.
- Select the appropriate pushrod extension length (and part number) using the following table.
Dimension C | Pushrod extension length L | Part no. |
620 mm (24.5 in) | Standard dimension | – |
| 648 mm (25.5 in) | 25 mm (1 in) | D003 |
673 mm (26.5 in) | 51 mm (2 in) | D004 |
| 699 mm (27.5 in) | 76 mm (3 in) | D005 |
724 mm (28.5 in) | 102 mm (4 in) | D006 |
| 749 mm (29.5 in) | 107 mm (5 in) | D007 |
775 mm (30.5 in) | 152 mm (6 in) | D008 |
Mounting the pushrod extension
To mount the pushrod extension:
- Unscrew the end of the tiller drive’s pushrod.
- Screw the extension into the pushrod.
- Screw the pushrod end into the pushrod extension.
Tiller brackets
If the tiller is higher or lower than the mounting socket, you can use a Ray marine tiller bracket to vary the tiller pin offset so the drive is horizontal.
Identifying the correct tiller bracket
- Clamp the tiller on the boat’s center line.
- Measure dimension D (if the pushrod is above the tiller) or dimension E (if the pushrod is below the tiller).
- Select the appropriate bracket from the following table:
Dimension D (pushrod below tiller) | Dimension E (pushrod above tiller) | Bracket part no. |
25 mm (1 in) | 51 mm (2 in) | D009 |
| 51 mm (2 in | 76 mm (3 in) | D010 |
76 mm (3 in) | 102 mm (4 in) | D011 |
| 102 mm (4 in) | 127 mm (5 in) | D159 |
127 mm (5 in) | 152 mm (6 in) | D160 |
Mounting the tiller bracket
- Position the tiller bracket on the center line of the tiller (above or below) and establish the critical dimensions A and B
Note: To measure dimension B on a boat with a sloping rudderstock, refer to the diagram on page 12. - Mark the centers of the two bracket mounting holes.
- Drill two 6 mm (1/4 in) diameter holes through the center line of the tiller at the positions you have marked.
- Attach the tiller bracket using two 6 mm (1/4 in) diameter bolts, nuts and washers.
- Bond the fixing bolts in place with two part epoxy adhesive
- When the epoxy is completely hardened, fully tighten the nuts.
- Attach the tiller pin to the bracket.


Cantilever mounting
If you need to attach the tiller drive to a vertical face (such as the cockpit sidewall), use a Ray marine cantilever socket assembly (part number D031):
- the maximum possible extension offset is 254 mm (10 in)
- you cut the cantilever to the exact length during mounting
Cutting the cantilever rod to length
- Clamp the tiller on the boat’s center line.
- Measure dimension F (actual).
- Refer to the table to establish a cutting length for the cantilever rod – double check measurements before cutting.
- Measure the rod from threaded end, then cut the cantilever rod to length L using a hacksaw. Remove any sharp edges with a file.


Mounting the cantilever assembly
To mount the cantilever assembly:
- Temporarily assemble the cantilever by screwing the rod into the mounting ring.
- Ensure the drive unit is horizontal and then mark the location of the mounting ring and its mounting holes.
- Drill three 6 mm (1/4 in) diameter holes at the positions you have marked.
- Bed the mounting ring on a thin coat of silicon sealant.
- Use three 6 mm (1/4 in) diameter bolts, nuts and washers to attach the mounting ring to the backing plate (with the backing plate on the other side of the mounting surface, as shown above).
- Screw the rod firmly into place.
- Roughen the end of the cantilever rod and the inside of the cap to provide a key. Then apply two part epoxy adhesive to the rod end and the cap.
- Place the cap over the rod end, making sure the hole for the drive unit mounting pin faces upwards. Allow the epoxy adhesive to harden fully before applying a load.
Note: When the autopilot is not in use, you can unscrew the complete rod assembly to leave the cockpit unobstructed.
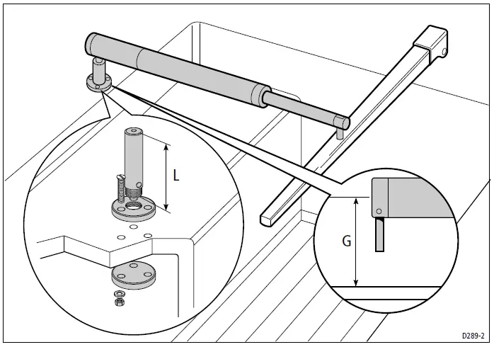
Pedestal socket mounting
If you need to raise the height of the drive unit mounting socket to keep the tiller drive horizontal, use a Ray marine pedestal socket assembly.
Identifying the correct pedestal socket}
- Clamp the tiller on the boat’s center line.
- Establish the standard control dimensions A and B.
- With the tiller drive horizontal, measure dimension G.
- Select the appropriate pedestal socket assembly from the table.
Dimension G | Pedestal socket length L | Part no. |
| 38 mm (1.5 in) | Standard dimension | – |
76 mm (3.0 in) | 38 mm (1.5 in) | D026 |
| 89 mm (3.5 in) | 50 mm (2.0 in) | D027 |
102 mm (4.0 in) | 64 mm (2.5 in) | D028 |
| 114 mm (4.5 in) | 76 mm (3.0 in) | D029 |
127 mm (5.0 in) | 89 mm (3.5 in) | D030 |
Mounting the pedestal socket
- Mark the mounting ring’s position on the cockpit seat or counter.
- Ensure that control dimensions A and B are correct.
- Mark the bolt holes on the mounting ring and then drill three 6 mm (1/4 in) diameter holes.
- Bed the mounting ring on a thin coat of silicon sealant.
- Use three 6 mm (1/4 in) diameter bolts, nuts and washers to attach the mounting ring to the backing plate (with the backing plate on the other side of the mounting surface
- Screw the mounting socket firmly into place.
Note: When the autopilot is not in use, you can unscrew the complete rod assembly to leave the cockpit unobstructed.
Tiller pins
Your Ray marine dealer can also supply the following lengths of tiller pin for other non-standard installations.
Description | Size | Part no. |
| Small threaded tiller pin | 25 mm (1.0 in) | D014 |
Extra length tiller pin | 72 mm (2.8 in) | D020 |
| Extra length threaded tiller pin | 60 mm (2.4 in) | D021 |
Autopilot steering direction
The autopilot steering direction defines which way the autopilot applies helm when you press a course change key or when the boat goes off course.
Check the autopilot steering direction as follows:
Tiller Pilot: Place the pushrod end over the tiller pin. If necessary, use the -1, +1, -10 or +10 keys to extend or retract the pushrod.
ACU (control unit) connection

- Connect the tiller drive to the control unit via the waterproof plug and socket (supplied).
- The plug comes ready assembled to the tiller drive.
- Mount the socket in the cockpit next to the tiller drive.
Cabling
- Measure the total length of cable run from the control unit to the socket location.
Use this table to identify the appropriate power cable size:
Cable length | Copper area | AWG |
| Up to 2.5 m (8 ft) | 1.0 mm2 | 18 |
Up to 4.0 m (13 ft) | 1.5 mm2 | 16 |
| Up to 6.0 m (22 ft) | 2.5 mm2 | 14 |
- Route the cable from the control unit to the socket location.
- Connect the wires as shown to the tiller socket.
- Connect the wires as shown to the Motor terminals on the ACU control unit.
NOTE: You can use the autopilot control head to change the Motor phase: MENU > Setup > Autopilot Calibration > Drive Settings > Motor Phasing
Installing the socket
- Apply the template (supplied at the rear of this handbook) to the bulkhead.
- Carefully drill a 18 mm (23/32 in) clearance hole and two 2.5 mm (3/32 in) pilot holes. Remove the template.
- Pass the cable through the bulkhead and attach to the socket, making sure you connect each core to the correct pin, as described in the “ACU (control unit) connection” section.
- Attach the socket to the bulkhead using the two self-tapping screws. Use cable clamps to secure the drive cable at regular intervals.
Specifications






















