Hill Laboratories HA90V Vascular Ultrasound Medical Table

Congratulations!
And welcome to the Hill Laboratories family.
Hill Laboratories Company has been making quality a family business since 1945. Your Hill HA90V Table is built in a tradition of innovation and value that Hill Laboratories products have become known for. Our good name rests on the confidence that your Hill Chair will provide you with solid, reliable service for many years to come.
Hill Laboratories Guarantee
Your Hill Laboratories HA90V has been thoroughly tested and inspected before shipment. All parts are guaranteed against defect in materials for one full year from date of purchase. Tables damaged by mishandling or accident will be repaired at a reasonable charge. All correspondence should be directed to your local dealer, or when this is not possible, to Hill Laboratories directly. We appreciate your business and your confidence in our product. Our aim is to provide you with excellent service and satisfaction for many years to come.

President of Hill Laboratories Company
Table Serial Number_______________________________
Ready For Use

Specifications
- Table Rating: 500 lbs./Static Tested at 4x Rating/Rated at 250 lbs.*
- Height Range: – 26” to 39”
- Standard Width: – 27″
- Length Reclined: – 75″
- Table Base Skirting: Acrylic thermo-plastic
- Foam: Ultra-Cell® for comfort and shape retention
- Shipping Weight: Approximately 250 lbs
- Electric Requirements: 115 v~, 60 Hz., 10 A, where specified – 230 v~, 50 Hz. Receptacles in base – 115 v~, 250 Watt maximum
Note: Grounding reliability can only be achieved when the equipment is connected to an equivalent receptacle marked hospital only or hospital grade. There is no EMI concern related to the safe operation of this table. - Transportation and Storage Conditions Ambient Temperature Range: -30°C to +60°C (-22°F to 140°F)
- Relative Humidity: 0% to 90% (non-condensing)
The UL standard requires a static load test at four times the rating stated on our label:
HA90V static load test was 1000 lbs = 250 lbs rating
Table Care
Cleaning your Table
Standard Upholstery – Normal Care and Cleaning
Remove ordinary dirt and smudges with a mild soap and water solution and a clean soft cloth or towel. Dry with a soft lint-free cloth or towel.
Hill Laboratories also offers two excellent products, both available online at Shop.HillLabs.com:
- Hill Leather and Vinyl Cleaner (available in case of 4)
- Protex Disinfectant Spray (available in case of 4 and wipes)
For difficult stains, after using Hill Leather and Vinyl Cleaner, use one of the following non-abrasive cleaners with a soft cloth or damp sponge:
- Formula 409 All-Purpose Cleaner
- Fantastik Spray Cleaner
- Magic Eraser
Caution!
Never use bleach, abrasive powder, steel wool, industrial strength or solvent cleaners.
Finesse Upholstery – Normal Care and Cleaning
Remove most ordinary smudges and dirt with a mild soap (like Joy, Dove or Ivory dishwashing liquids) and water solution and a clean soft cloth or towel. Dry with a soft lint-free cloth or towel.
Hill Laboratories also offers two excellent products, both available online at Shop.HillLabs.com:
- Hill Leather and Vinyl Cleaner (available in case of 4)
- Protex Disinfectant Spray (available in case of 4 and wipes)
For more difficult stains like oil, grease, crayon, lipstick, shoe or furniture polish
Use a mild petroleum solvent such as naphtha (lighter fluid) or mineral spirits (paint thinner). Lightly wipe the stain with a clean cloth moistened with solvent. Blot the area and allow to dry.
For Ink:
Use one part Wisk detergent and one part rubbing alcohol. Dab lightly with a cloth that has been moistened with the solution—DO NOT RUB! As the ink loosens, blot the area with a dry cloth. Rinse with a cloth dampened in clean water and dry with a soft cloth.
Caution!
Never use rubbing alcohol on Finesse except in the limited manner described above.
Caution and Symbol Explanation
- Caution: Children should never be left alone in a room with a table but should always be accompanied by an adult.
- Caution: Always unplug the table before performing any maintenance.
- Caution: Check the table once a year to make sure all internal and external bolts are secure.
- Caution: The power cord should be located to avoid the risk of tripping or having objects rolled over or placed on it. Damaged cords should be replaced with another of hospital grade.
- Caution: Grounding reliability can only be achieved when connected to an equivalent receptacle marked hospital only or hospital grade.
- Symbols – Each symbol below is used in your table labeling. An explanation of each is below.

Features
Electric Tilt
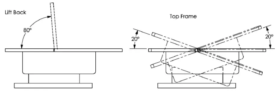
The table top of the HA90V tilts a total of 20° at the head and foot end and is controlled by an electric foot pedal.
Lift Back
The lift-back feature comes standard with a manual gas-spring powered switch. The electric lift-back is powered by a foot pedal. Both the manual and the electric models lift a full 80° horizontally.

Foot Pedals
Your HA90V comes standard with two-foot pedals for height and tilt (marked respectively). If the optional electric lift-back is added (marked “Back”), a third pedal will be mounted together with the height pedal. (Caution: The lift-back cushion needs to be tilted up a minimum of 15° in order to tilt the table into the Trendelenburg position. To avoid injury or damage, the lift back should not be operated without the flat plastic panel in place on top of the plastic enclosure).
Echo-Window
The 90V features an optional 8”x11” Echo window for echocardiogram testing. The hinged cushion can also be raised and locked in place when not in use.
Footboard (optional)
The footboard is easily inserted into a receptacle at the foot end of the HA90V. The footboard is secured by tightening a knob under the main table cushion.

Protractor
The 90V protractor offers precise angle measurement with white engraved numerals on an easy-to-read scale. The protractor measures 0° – 45° at both the head and foot end of the table.

Casters (optional)
For models equipped with casters: When not in use, the black handles rest in the down position (as pictured). To engage the caster wheels, lift the handles into the up position on both ends of the base. The table will lift 1/2” for easy table movement. Be sure to to disengage the casters before using the table for treatment!
Table Diagram


Wiring Diagram
90V for Two-Motor (Tilt and Height)

90V for Three-Motor (Tilt and Height and Lift-Back) PART 1 
90V for Three-Motor (Tilt and Height and Lift-Back) PART 2 
Contact Information
P.O. Box 2028, 3 N. Bacton Hill Road, Frazer, PA 19355
Phone: 1-877-445-5020
610-644-2867
Fax: 610-647-6297
www.HillLabs.com.


















