PANDUIT CT-3001-STBT Pan Lug Hydraulic Crimp Instruction Manual
OVERVIEW

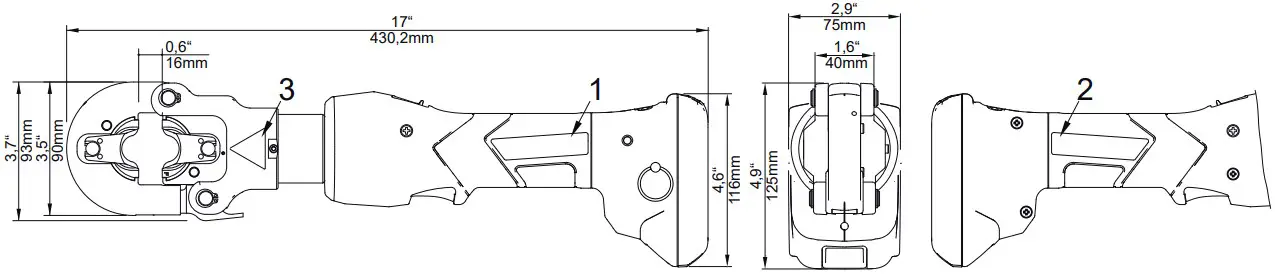
DIMENSION




WARNING
Read all safety warnings, instructions, illustrations and specifi cations provided with this power tool. Failure to follow all instructions listed below may result in electric shock, fi re and/or serious injury. Save all warnings and instructions for future reference
Use tool only with 18 V Makita battery


















Error codes:
- Overcurrent fuse
- Overcurrent comparator
- Overheat board
- Overheat battery
- Battery empty, operation stop
- Faulty crimp motor in operation
- Faulty crimp motor not in operation
- Low battery
- Battery empty
- RTC battery low
- Tool deactivated
- Service necessary
- RTC not found
- BT unit not found
- Pressure sensor not found
- Burst pressure exceeded
- Battery temperature too low
NOTICE:
Changes or modifi cations made to this equipment not expressly approved by Klauke may void the FCC authorization to operate this equipment.







CE-´21 – Declaration of conformity. We declare under our sole responsibility that this product is in conformity with the following standards or normative documents: EN 62841-1, EN ISO 12100, EN ISO 13857, EN ISO 13854, EN 28662-1, EN 61000-6-3, EN 61000-6-2, EN 60529, EN 1037 in accordance with the regulations of directives 2006/42/EG, 2014/30/EU, 2011/65/EU
CE-´21 – Declaration of conformity RED. We declare under our sole responsibility that this product is in conformity with the following standards or normative documents: EN 62368-1, EN 301489-1, EN 301489-17, EN 300328 V2.2.2, EN 62479 in accordance with the regulations of directives 2014/53/EU, 2011/65/EU
Blackfi n Tools Certifi cate of Calibration
Subject: Panduit BlackFin Series **
The Panduit BlackFin tools have completed the following Testing criteria in the Factory before shipped.
Checklist Final Inspection
- Final Inspection (type, serial number, product group, etc.)
- Check head for stop or locking
- Check the pressure with the housing closed
- Check if all screws are installed
- Check whether the machine is “reset”
- Check if a warning sticker is attached
- Check whether the inspection sticker is attached
- Check the cleanliness (oil leakage, case, etc.)
- Check whether the accessories are complete
- Check whether the desired test reports are attached (TQ16, etc.)
- The fi nal inspection is carried out by the Service Center Goods Department
The user of the Panduit product is responsible for verifying suitability of the product for the application and assumes all risk and liability in connection with its use.
Our most important connection is with you.
We have the knowledge and experience to help you make the most of your infrastructure investment. www.panduit.com
Let’s Connect
P: 800-777-3300 :: F: 708-532-1811
www.panduit.com/en/support/contact-us.html






















