SIEMENS M4833 MCG Servo Motor


Guidelines for the technician / fitter. Prevent access by nontechnical persons, especially children!
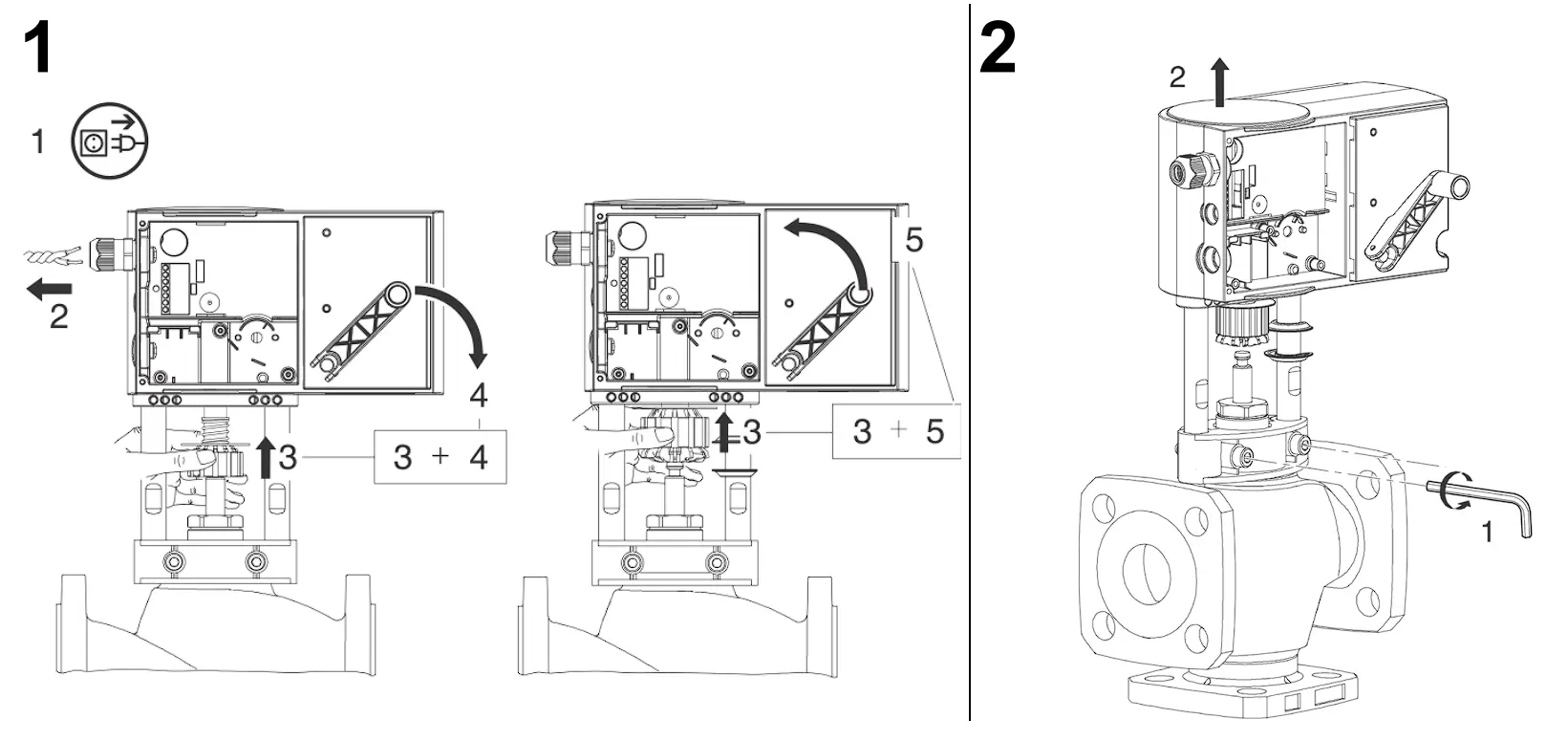
Mounting instructions
Guidelines for the technician / fitter. Prevent access by nontechnical persons, especially children!
![]() | Risk of injury due to limbs being trapped. Avoid contact with the danger areas! |
![]() | Risk of burns due to contact with hot surface. Avoid contact with the danger areas! |
![]() | Risk of hand injury caused by spring under tension. Do not dismantle the spring! |
EU
Warning. This is a class A equipment. It may cause radio interference in the home, in which case the operator may be requested to carry out appropriate measurement.
USA, Canada
This device complies with part 15 of the FCC Rules. Operation is subject to the following two conditions: (1) This device may not cause harmful interference, and (2) this device must accept any interference received, including interference that may cause undesired operation.
This equipment is intended to be supplied by a Class 2 power source. All control signals and output are Class 2 AC/DC. Allowed wire size: AWG 14…30





The drive should not be twisted or realigned after it has been mounted on the valve tappet without first loosening the tappet coupling.\ Reference document: M4315
Power supply
Power supply



Connection terminals
0…10 V / 4…20 mA
| Spring return function (System potential) | System neutral | 0V = Tappet extended (System potential) | 0V = Tappet retracted (System potential) | Control signal 0…10 V / 4…20 mA | Position indication |
3-position
| Spring return function (System potential) | System neutral | Control signal: Drive tappet extending | Control signal: Drive tappet retracting |
Initialization

Auto
Initialization takes place when power is applied to the actuator for the first time. Both LEDs flash green and the tappet moves towards both end stops.
After initialization, the tappet travels to the appropriate position indicated by the control signal.
Manual
Initialization can be triggered manually if necessary. Open and close the hand crank twice in succession within 4 seconds (see diagram).
To cancel initialization, open and close the hand crank again.


Operation
Danger in the event of malfunctions!
Please observe the correct direction of flow.

Warning


This product should not be put into service until the machinery or system into which the product is due to be fitted, or of which it is intended to be a component, fulfils the relevant regulations and standards. Responsibility lies with the plant engineer or the installer.
Spring return

Uninstallation





©2010-2011 Siemens Switzerland Ltd




















