ENCELIUM DALI Bridge Module Instruction Manual
PRODUCT SAFETY
When using electrical equipment, basic safety precautions should always be followed, including the following:
READ THESE INSTRUCTIONS BEFORE USING THIS PRODUCT.
Do not let power supply cords touch hot surfaces.
Do not mount near gas or electric heaters.
Equipment should be mounted in locations and at heights where it will not readily be subjected to tampering by unauthorized personnel.
The use of accessory equipment is not recommended by Encelium as it may cause an unsafe condition.
Do not use this equipment for other than the intended use.
SAVE THESE INSTRUCTIONS.
GETTING STARTED
Overview
A Wired Manager — GreenBus consists of 8-Channels that can inherently communicate using the DALI protocol that is inherently Class 1 based. To enable the interface with the Class 2 GreenBus channel, the DALI Bridge is used to provide the appropriate electrical isolation.
Most jurisdictions allow running the DALI bus as a Class 1 circuit, together with line power supplying the DALI LED drivers (consult applicable local electrical and building codes). It uses DIN Rail housing and requires an external power supply.
WIRED SYSTEM OVERVIEW
GreenBus technology makes wiring fast and error-free, since it’s intuitive to install. With Encelium X, you can control DALI devices exclusively or a mixture of GreenBus and DALI. With any Encelium wired design, you get a reliable, on-site lighting control system that can be installed quickly and easily.

INSTALLATION
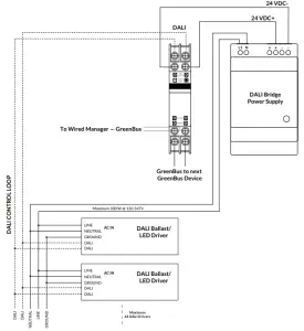
The DALI Bridge must be connected to a DALI Bridge Power Supply. The power supply is capable of powering up to 4 DALI Bridges.
Notes: DALI Bridges are to be installed in dry, indoor locations ONLY. Do not connect more than 64 DALI-compliant ballasts per GreenBus™ channel. Do not connect DALI sensors or switches to the DALI Bridge.
Do not connect more than four DALI Bridges to the power supply or abnormal behavior could occur on the DALI Loop.
MOUNTING OPTIONS
- DIN Rail Mount
In a typical installation, the DALI Bridge is mounted onto a standard DIN Rail. The DALI Bridge may be mounted to the same DIN Rail as the DALI Bridge Power Supply.
Do not reverse the 24 VDC polarity connections from the DALI Bridge Power Supply to the DALI Bridge or damage may result. - Wall Mount
The DALI Bridge can also be wall mounted within a 203 x 203 x 102 mm (8 x 8 x 4) DALI Junction Box. The DALI Junction Box mounts 1 DALI Bridge Power Supply and 1 DALI Bridge.
Notes: For the installation of additional DALI Bridges, below are recommended junction box enclosures (supplied by third-party):- Up to 2 DALI Bridges — 254 x 254 x 76.2 mm (10x10x3 inches) — Hammond, CSKO10104
- Up to 4 DALI Bridges — 305 x 305 x 76.2 mm (12x12x3 inches) — Hammond, CSKO12124
ELECTRICAL CONNECTIONS
- DALI Bridge Channel Wiring Diagram

- DALI Bridge Wiring Diagram

- DALI Junction Box Wiring Diagram — DALI Bus can be run as Class 1 (Consult applicable electrical and building codes)

TROUBLESHOOTING
There are no user-serviceable parts inside. For detailed information about how to set-up, install, use, and maintain Encelium hardware and software, please visit: help.encelium.com
Copyright © 2021 Digital Lumens, Incorporated. All rights reserved. Digital Lumens, the Digital Lumens logo, We Generate Facility Wellness, SiteWorx, LightRules, Lightelligence, Encelium, the Encelium logo, Polaris, GreenBus and any other trademark, service mark, or tradename (collectively “the Marks”) are either trademarks or registered trademarks of Digital Lumens, Inc. in the United States and/or other countries, or remain the property of their respective owners that have granted Digital Lumens, Inc. the right and license to use such Marks and/or are used herein as nominative fair use. Due to continuous improvements and innovations, specifications may change without notice.
DOC-000440-00 Rev B 12-21























