NARUIGER RG-120T DC Doorbell Instruction Manual
Features
- Power supply: RX 4.5V (AA1.5V x 3),TX 3V(AAA1.5 x 2)
- Transmission range:200m(inroom 150m).
- Frequency: 433.92MHz ±150KHz Tolerance
- Alarm mode:Music 48
- Matching method: learning coding
- Applications: Villas, hotels, apartments, office buildings, elderly and child care
RG-001 Function diagram



Installation and configuration
first time to use
Open the RG-120R battery box, install AA1.5V×3, and then open the RG-120T remote control battery box (rear cover) to install AAA1.5Vx2 batteries.

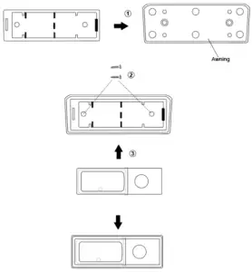
There is a notch on the top of the push button. Use the included screwdriver to pry up slightly.


The transparent cover can be removed and a business card can be inserted to let visitors know that this is the doorbell of your home ,Fully show your personality

The transmitter button can be installed with double-sided stickers or
screws (included). The transmitter button adopts an awning design, which is rainproof
Note:
Please install the transmitter button one meter above the ground; Don’t install the transmitter button directly on the iron door, but on the wall next to it, so as not to affect the distance of the remote control.
Don’t install the transmitter button next to other electrical appliances.

Reconfiguration of RG-120T and RG-120R。
Important note: The new factory RG-120T/R wireless doorbell transceiver has been configured, so there is no need to re-configure. You can skip this step.
Reconfiguration of RG-120T/R
After installing the battery, press and hold the CODE button of
the RG-120R for 5 seconds, the receiver LED indicator flashes (once per second), the receiver enters the waiting configuration state, and then quickly press the transmitter to match the receiver. When the RG-120R LED indicator is off, the configuration is complete
Reconfiguration of RG-120,Add second and third receivers
After installing the battery, press and hold the CODE button of the second RG-120R (5 seconds), the receiver LED indicator flashes (once per second), the receiver enters the waiting configuration state, then quickly press RG-120 T button,to configure with the receiver. When the RG-120R LED indicator is off, the second receiver configuration is complete. Repeat this step to complete the third receiver configuration.
Reconfiguration of RG-120T/R,Add Second and third transmitter .
After installing the battery, press and hold the CODE button of the RG-120R for 5 seconds, the receiver LED indicator flashes (once per second), the receiver enters the waiting configuration state, and then quickly press the second RG-120T button ,to configure with the receiver. When the RG-120R LED indicator is off, the second transmitter configuration is completed . Repeat this step to complete the third transmitter button
Reconfiguration of RG-120T/R,Change music
Open the back cover (battery box) of the RG-001T, and change the music every time you press the button on the PCB, There are 48 types of music.( When the song selection button is pressed for the first time, the original music will be played, and when it is pressed again, it will switch to the next song.)

RG-120T/R low voltage reminder
If the RG-120T is not working, when the indicator light of the RG-001R flashes (twice in 5 seconds), the receiver battery needs to be replaced.
Application

Villas, hotels, apartments

Technical Details
| Manufacturer | NARUIGER |
| Part Number | RG-120T & RG-120R |
| Item Weight | RG-120R:64g, RG-120T:46g |
| Dimensions | RX:1000*80*27mm, TX:90*30*223mm |
| Item moder number | RG-120T & RG-120R |
| Frequency | 433.92MHz ±150KHz Tolerance |
| Power Supply | RX:4.5V(AAA 1.5V*3 ),TX: 3V(AA 1.5V*2) |
| Matching Method | Learning coding |
| Sound source | 48 types |
| MODE | ON/OFF; Music |
| Working temperature | 10-60℃ |
| Working humidity | <90% |
| Status indication: | LED light |
| Color | RED/GREEN |
| Meterial: | PC-100N |
| Certification | CE,RED 2014/53/EU |
| Installation Method | Double-sided tape |
| Item Package quantity | 1PCS |
| Type of bulb | LED |
| Coverage | 200 meters |
| Switch Style | Magnetic switch |
| Included Components | Magnetic switch and transmitter |
| Batteries Included | TX:AAA*2 RX:AA*3 |
| FCC ID | 2AZSERG120T |
FCC COMPLIANCE STATEMENT
This device complies with part 15 of the FCC Rules.
Operation is subject to the following two conditions:
(1) This device may not cause harmful interference, and
(2) this device must accept any interference received, including interference that may cause undesired operation.
Note: This equipment has been tested and found to comply with the limits for a Class B digital device, pursuant to Part 15 of the FCC Rules. These limits are designed to provide reasonable protection against harmful interference in a residential installation. This equipment generates, uses and can radiate radio frequency energy and, if not installed and used in accordance with the instructions, may cause harmful interference to radio communications.
However, there is no guarantee that interference will not occur in a particular installation. If this equipment does cause harmful interference to radio or television reception, which can be determined by turning the equipment off and on, the user is encouraged to try to correct the interference by one or more of the following measures:
- Reorient or relocate the receiving antenna.
- Increase the separation between the equipment and receiver.
- Connect the equipment into an outlet on a circuit different from that to which the receiver is connected.
- Consult the dealer or an experienced radio/TV technician for help.
Warning: Changes or modifications to this unit not expressly approved by the part responsible for compliance could void the user’s authority to operate the equipment.
FCC Radiation Exposure Statement
The device has been evaluated to meet general RF exposure requirement. The device can be used in portable exposure condition without restriction.



















