TOYOTOMI KR-47 Portable Mechanical Flammable Heater

(This product is not suitable for primary heating purpose)
16 TIPS FOR SAFE USE

- Make sure that children are always aware of the presence of a burning heater.
- DO NOT move the heater when it is burning or still hot. DO NOT refill nor service the heater when it is burning or still hot.
- Position the front of the heater at a minimum distance of 1.5 metres from flammables objects, furniture, spray can and gas cylinder. DO NOT store the jerrycan near the heater.
- DO NOT use the heater in dusty places or in a strong wind. In both cases you will not have optimum burning.
- Switch off the heater, before you leave or go sleeping.
- Store and move fuel only in suitable tanks and jerrycans.
- Make sure that the fuel is not exposed to heat or extreme temperature changes. ALWAYS store the fuel in a cool, dry and dark place (sunlight will affect the quality).
- NEVER use the heater in places where harmful gasses or fumes may be present (e.g. exhaust gasses or paint fumes)
- The top plate of the heater becomes hot. DO NOT cover the heater (there is a risk of fire). Avoid any contact with the top plate and grille. Due to high surface temperature, keep away from children.
- ALWAYS make sure that there is sufficient ventilation.
- The heater must not be located immediately below a socket-outlet.
- Children of less than 3 years should be kept away unless continuously supervised. Children aged from 3 years and less than 8 years shall only turn on/off the appliance provided that it has been placed or installed in its intended normal operating position and they have been given supervision or instruction concerning use of the appliance in a safe way and understand the hazards involved. Children aged from 3 years and less than 8 years shall not regulate and clean the appliance or perform user maintenance.
CAUTION – Some parts of this product can become very hot and cause burns. Particular attention has to be given where children and vulnerable people are present. - Children shall not play with the appliance.
- Cleaning and user maintenance shall not be made by children without supervision.
- DO NOT stay too close to the heater for a long time, in order to avoid burn or dehydration.
- WARNING – This heater is not equipped with a device to control the room temperature.
DO NOT use this heater in unventilated places when they are occupied by persons not capable of leaving the place on their own, unless constant supervision is provided
Thank you for choosing a “TOYOTOMI” product!
Toyotomi products are used by satisfied customers worldwide. In order to assure the comfortable and safe use of our products by customers in each country, our products conform to the safety standards not only in Japan but also in every country around the world we do business with.
Toyotomi tailors its products to satisfy its customer’s needs by always pursuing our business philosophy, “sharing joys in daily living”. We will continue to research, develop and manufacture products that match people’s lifestyle for efficiency, safety and comfort. We hope that you’ll enjoy your Toyotomi appliance for years to come! We invite you to read this instruction manual first, to ensure the maximum lifetime for this appliance.
Get to know us better…visit us at www.toyotomi.eu for our full line of products.
1 READ THE DIRECTIONS FOR USE FIRST. 2 IN CASE OF ANY DOUBT, CONTACT YOUR DEALER. 3 BEFORE YOU START READING, CONSULT THE MAIN COMPONENTS LIST ON THE LAST PAGE.
GENERAL DIRECTIONS FOR USE
Below you will find the main steps to be taken for using your heater. For more details, please refer to the MANUAL.
- Remove all packaging materials (refer to Section A).
- Fill the fuel tank ❽ and wait 30 minutes before you ignite the heater (refer to Section B, Fig. G).
- Insert the batteries into the battery holder ❿ (refer to Section A, Fig. E).


- Check whether the combustion chamber ❹ is fully upright (refer to Section C, Fig. K).
- Ignite the heater by turning the wick adjuster knob ❷ as far to the right as possible and then gently push down the igniter lever ❸ (refer to Section C, Fig. I and J).

- Prior to adjusting the flame (refer to Section D), let the heater heat up for 30 minutes.
- Switch off the heater (refer to Section E).
- As a fire precaution, the tank must be filled either when the heater has been turned off or in another place than the place where the heater is installed.
- Always ensure that the tank is closed properly after filling it at a safe distance from all sources of heat and open flames (see Section B).
- The first time you ignite your heater it will smell like ‘new’ for a short time.
- Store all fuel containers with their original caps and seals in a cool and dark place.
- Fuel ages. Use new fuel at the start of every heating season.
- Only use high quality and water-free pure paraffin in accordance with
local legislation (TOYOTOMI fuel). · Before changing brands and/or types of fuel make sure that the mobile heater first completely empties all of the remaining fuel inside the heater.
WHAT YOU NEED TO KNOW IN ADVANCE
ALWAYS MAKE SURE THAT THERE IS SUFFICIENT VENTILATION Read this user manual carefully before using the appliance and keep it for future reference. Install this device only when it complies with local/national legislation, ordinances and standards. For comfortable and safe heating ensure that there is sufficient ventilation. Regardless of the model, you must always make sure that the heater is used in a place large enough to enable the heater to be used safely without extra ventilation (refer to Section K). If the place is smaller than required, you must always open a door or window slightly (ensuring an opening of approx. 2.5 cm). It is important that every place where the heater is used has sufficient air intake and efficient air outflow (both openings must have a minimum cross section of 50 cm2). We also recommend doing this in highly insulated or draught-free places and/or at altitudes above 1500 metres. Do not use your heater in cellars or other underground areas.
OUTDOOR USE Your heater can be used in the garden or on the patio. Make sure the floor is firm and completely level. Do not expose the heater to rain, hail, snow, etc. DO NOT use the heater in a strong wind for reasons of safety and to prevent soot build-up.
Position the heater at a minimum distance of 1.5 metre from flammables objects;
take care when using the heater under awnings or canopies.
E S P E C I A L LY F O R U N I T E D K I N G D O M : Only use Class C1 paraffin fuel in accordance with BS2869; Part 2, or equivalent.
Only the use of the correct fuel will ensure safe, efficient, and comfortable use of your heater.
ESPECIALLY FOR FRANCE: This heater is prohibited to be imported or sold in France, while it is not in conformity with French legislation (Décret no. 92-1280 du 10-12-1992)
ESPECIALLY FOR SPAIN: This heater is only for outdoor use. This heater is not equipped with a device to control the room temperature, therefore it can not be used indoor.
Only the use of the correct fuel will ensure safe, efficient, and comfortable use of your heater.
The user must comply with the following instructions for proper use:
DO NOT

– use petrol *In cases of emergency, use a fire extinguisher.
– use the liquid fuel-operated mobile heater in caravans, boats, and vehicle cabins.
– modify the heater safety features. – heat the empty cooking utensils.
– use cooking utensils that are unstable and/or larger than the top plate. *If there is a spill or boil over, wipe away any spilled water from the heater.
The use of this type of heating in public spaces is subject to prior regulatory permission. Obtain proper information on this in advance.
THE RIGHT FUEL Your heater has been designed for use with high-quality water-free pure paraffin oil (TOYOTOMI fuel). Only fuels of this kind will ensure clean and proper burning. Lower quality fuel may result in:
- increased possibility of malfunctioning
- incomplete burning
- reduced heater lifetime
- smoke and/or smells
- deposits on the grid or mantle
Using the right fuel is therefore essential for safe, efficient, and comfortable use of your heater.
Damage and/or malfunctions of the heater due to the use of other than high quality water-free pure paraffin oil is not covered by the warranty. Always refer to (www.toyotomi.eu) for the right fuel for your heate
MANUAL
INSTALLING THE HEATER
- Carefully remove your heater from the box and check the contents. In addition to the heater you also need to have:
● a manual fuel pump
●the drip tray
● these directions for use
Keep the box and the packaging materials for storage and/or transportation.
- Carefully remove your heater from the box and check the contents. In addition to the heater you also need to have:
- Remove the packaging material from the grill ❼ (Fig. A, B, C).



Risk of fire. The packing materials are flammable. - Loosen the screw on the drip tray (Fig. D). Place the heater housing on the base plate, insert the fuel tank and attach it with a screw to the base plate. Tigten the screw.

Do not operate your heater without the drip tray. - Fill the fuel tank as indicated in Section B.
- Insert the batteries into their holder ❿ at the back of the heater (Fig. E). Ensure that

the positive and negative poles match the + and – marks indicated on the battery housing. It is best to use new alkaline batteries (2x D-size). Replace the battery holder. - The floor should be firm and completely level. Reposition the heater, when it is not level. Do not correct the situation by placing books or other goods under the heater.
- Your heater is now ready for use.
Do not use the heater at a height of over 1500 meters.
FILLING FUEL
Do not fill the fuel tank in the living room, but in a more suitable place (there can always be some spillage). Follow the procedure below:
- Make sure that the heater is switched off.
- Insert the straight tube of the manual fuel siphon into the paraffin container. Remove the fuel tank cap ⓬ on the heater (Fig. F), and insert the siphon’s flexible hose into the fuel tank opening (Fig. G).


- Lock the valve on top of the pump (turn clockwise).
- Squeeze the pump a few times, until fuel starts flowing into the fuel tank. As soon as this happens, there is no need to press any longer.
- Stop filling by loosening the valve on top of the pump (turn anti-clock-wise), once the gauge indicates that the tank is full (Fig. G)
- Remove the siphon carefully, allowing the excess paraffin to drain from the tube back into container. Replace the fuel tank cap and tighten it securely (Fig. H). Be
sure to wipe away any spilled paraffin from tank or other heater parts.
Be especially careful to avoid overfilling the tank with very cold paraffin; otherwise overflow might occur when the fuel warms up.
IGNITING THE HEATER
When you first use your new heater, ignite it out of the living area of your house, either in a garage or an outside area protected from strong drafts. Burn it for about 15 minutes to remove all of the protective oil present on the burner parts. If this 15 minute “burn-in” is done inside, some objectionable odour will be observed. This procedure is necessary ONLY THE FIRST TIME you ignite your heater.
If you have fuelled your heater for the first time, or if you are refuelling it after it has been out of fuel for a long time, you will need to wait about thirty (30) minutes for the wick to become fully saturated before lighting. Failure to allow enough time for the wick to become fully saturated may cause permanent damage to the wick when it is lighted.
Always ignite the heater with the igniter slide. Never use matches or cigarette lighters.
Follow the procedure below:
- Turn the wick adjuster knob clockwise until it stops (Fig. I). The automatic extinguisher is engaged automatically by turning the wick adjuster clockwise. This raises the wick to its maximum height. As the wick rises within the heater, the wick adjuster knob turns with some resistance and makes a sound like the winding of a clock. Once the wick has reached its proper height, the automatic extinguisher is fully engaged.

- Gently push down the igniter lever ❸ (Fig. J). The igniter coil should glow and touch the wick. When flame appears, release the igniter lever. The wick adjuster knob will now move freely left or right to adjust the flame.

If you have difficulty igniting the wick, push back the igniter lever very slightly to remove the igniter coil form direct contact with the wick.
After having ignited the heater, always check whether the combustion chamber ❹ is level, by sliding it slightly to the left and the right by its handle ❺ (Fig. K). This should be a smooth movement. If the combustion chamber is not level, this will cause smoke and soot to develop.
ADJUSTING THE FLAME
After you have ignited the heater, it will take 30 minutes for the flame to become visible in the combustion chamber. Only then can you check whether the flame is correct. Too high a flame may cause smoke and soot, whereas too low a flame causes smells. The page opposite the folding page shows the minimum and maximum permissible burning heights of the flame (Fig. P). The flame can be adjusted with the wick adjuster knob ❷ (Fig. I).
If the flame remains low after the adjustment, the wick height must be adjusted (refer to Section F).
Burning that is too low may be caused by:
- insufficient fuel (fill the tank)
- poor fuel quality (contact your dealer)
- insufficient ventilation (leave window or door ajar)
- wastage of the wick (contact your dealer or replace the wick, refer to Section M)

SWITCHING OFF THE HEATER
Turn the wick adjuster knob ❷ counter-clockwise to its stop. The flame will extinguish after a little while
For routine turn-off, DO NOT use the “Safety button” or activate the “Automatic Extinguisher” by jarring the heater. These methods may cause unwanted odour, soot and smoke. Only the wick adjuster knob should be used for normal shutoff
In case of an emergency, switch off the heater by pushing down the safety button
❶ (Fig. M
ADJUSTING THE WICK HEIGHT
After a period of time the combustion may no longer be high enough (Section D). In that case you can adjust the wick height to improve the flame. To do this, the heater must have been switched off. Follow the procedure below:
- Release the automatic extinguisher by pushing down the safety button (Fig. M).
- Pull the wick adjuster knob ❷ off the heater, so the wick height lock ⓭ will be visible.
- Take the plastic collar between your thumb and index finger and pull it out. Turn the collar up one step, to either position 2 or 3 (Fig. N). Carefully push the collar back, so the pin engages in the recess.

- Carefully reinstall the wick adjuster knob ❷ . This can be done in one way only. Check the rear of the cap for the correct position.
If adjustment of the wick height does not have the required effect, let the heater burn until all fuel has been used up (Section H).
If adjustment of the wick height does not have the required effect, let the heater burn until all fuel has been used up (Section H).
If the flame height is still too low and the wick is set on position 3, then contact your dealer, or replace the wick (refer to Section M). If the flame gets too high after adjusting (Fig. P), the wick height lock should be placed one position lower again. Otherwise smoke or soot may be caused.
MALFUNCTION, CAUSES AND SOLUTIONS
If any malfunctioning cannot be solved from the directions below, please contact your dealer.
THE HEATER DOES NOT IGNITE
- The batteries are not positioned correctly in the holder.
- There is not enough power left in the batteries for the ignition.
- You have run out of fuel from the tank or the wick has been replaced. After having refilled , wait for 30 minutes before igniting the heater
- You are pushing down the igniter lever » with ❸ too much force. Push it down less forcefully (Section C).
- The ignition coil ❾ is defective.
Contact your dealer.
IRREGULAR FLAME AND/OR SOOT AND/OR SMELLS
- The combustion chamber ❹ has not been positioned correctly.
Use the handle ❺ to put it level, until you can easily slide it slightly to the left and to the right and the chamber is level. - The flame height has not been adjusted properly. See Fig. P and the directions in Section D.
- You are using fuel which is past its `use by’ date. Start every heating season with fresh fuel.
- You are using the incorrect type of fuel. Refer to THE RIGHT FUEL (Section ‘What you need to know in advance’).
- Dust has gathered in the lower part of the heater. Contact your dealer.
- The wick height is not correct. Contact your dealer.
- You are using in unventilated place or where exposed to strong wind. Turn off, and place the heater in ventilated place or avoid from the wind.
THE HEATER SLOWLY EXTINGUISHES
- The fuel tank is empty.
Refer to Section B. - The fuel tank is contaminated by water.
Contact your dealer. - The wick has hardened on the upper side.
Burn the heater until all fuel is used (Section H). Use the right fuel. - You are using fuel which is past its ‘use by’ date.
Start every heating season with fresh fuel.
THE HEATER REMAINS BURNING LOW
- Wick position too low. Reinstall the wick height lock (Section F)
- Before you refilled the tank, the heater had burnt up almost all the fuel. After having refilled, wait for 30 minutes before igniting the heater.
- You are using the incorrect type of fuel
Refer to THE RIGHT FUEL (Section ’What you need to know in advance’). - The room is insufficiently ventilated. Leave a window or a door wide open for a while.
THE HEATER BURNS TOO HIGH, THE FLAMES CANNOT BE ADJUSTED.
- You are using an incorrect, too volatile type of fuel. Refer to THE RIGHT FUEL (Section ’What you need to know in advance’).
- Wick position too high. Reinstall the wick height lock (Section F).
MAINTENANCE
Your heater needs hardly any maintenance. It is, however, important that you remove dust and stains in time with a damp cloth, because otherwise these may cause stains that are hard to remove. Under normal conditions, only 3 components are subject to wear
- THE BATTERIES
You may replace the batteries yourself. Do not dispose of old batteries along with the other domestic waste. Follow the locally applicable regulations regarding the disposal of domestic chemical waste. - THE WICK
To extend the glass fibre wick life, you must occasionally let the heater burn
until the tank is completely emptied and the heater extinguishes by itself. Do this when you notice that the flame is weakening. The burn-out will cause some smells, so it is recommended that you take the heater outside of the living room. - THE IGNITION COIL
The ignition coil will last longer if you ignite in the right way. Replace the batteries on time and make sure you do not push down the ignition lever too forcefully. If the filament is broken, you should replace the coil.
Do not remove any heater components yourself. Always contact your dealer for repairs
Let the heater cool down first, before you start any maintenance or service work.
For maintenance, wear gloves for your safety
STORAGE (END OF THE HEATING SEASON)
We recommend that you burn up all the fuel in the fuel tank at the end of the heating season and store the heater properly. Follow the next procedure:
- Ignite the heater outside the living room and let it burn until all fuel is used.
- Let the heater cool down.
- Clean the heater with a damp cloth and then dry it with a cloth.
- Remove the batteries from the holder and store them in a dry place.
- Store the heater in a dust-free place, if possible in its original packaging. Unused fuel cannot be used for the next heating season. If there is still some fuel left, do not throw it away, but dispose of it in accordance with the local regulations for the disposal of domestic chemical waste. Always start the new heating season with fresh fuel. When you start re-using the heater, follow the instructions again (starting from Section A and as specified).
TRANSPORTATION
Take the following measures to avoid fuel leakage during the transportation of the heater:
- Let the heater cool down.
- Always move the heater in an upright position.
SPECIFICATIONS
| Ignit io n | electrical | Dimensions (mm) | width | 474 |
| Fuel | paraffin | (including base plate) | depth | 474 |
| Capacity (kW)* | 4.70 | height | 560 | |
| Suitable space (m 3) ** | 73-180 | Accessor i es: | m anu al fuel | pump |
| Fuel consumption (I/hr)* | 0.490 | Required batt eries | size D, 1.5V x | 2 |
| Fuel consumption (g/hr)* | 392 | |||
| Burning t ime per tank (hr)* | 15.0 | |||
| Capacity fuel tank (lit res) | 7. 5 | |||
| Weight (kg) | 12.0 | |||
| Wick type | R |
WARRANTY PROVISIONS
Your heater comes with a 24-month warranty starting on the date of purchase. Within this period all defects in material or workmanship will be repaired without any charge. The following provisions shall apply regarding this warranty:
- We expressly dismiss all other claims for damages, including consequential damages.
- Any repairs or replacements of components within the term of warranty will not result in an extension of the term of warranty.
- The warranty will no longer apply, when the heater has been modified, non-original parts have been used, or when it is repaired by third parties.
- The warranty will not apply to parts that are subject to normal wear, such as the batteries, the ignition coil, the wick and the manual fuel pump.
- The warranty will only apply, when you present the original, dated proof of purchase, provided no changes have been made to it. The warranty will not apply to damages caused by actions not in compliance with the Directions for Use, neglect, and the use of an incorrect type of fuel, or fuel past its use-by date. The use of incorrect fuel can even be dangerous*.
- Transportation costs and the risks involved during the transportation of the heater or heater components will always be the responsibility of the purchaser.
In order to avoid unnecessary costs, we recommend that you always read the ’Directions for Use’ carefully first. In case they offer no solution, please take the heater to your dealer for repair. * Highly inflammable substances may induce uncontrollable burning, causing flames to break out. Should this happen, never try to move the heater, but always switch off the heater immediately (refer to Section E). In cases of emergency you may use a fire extinguisher, but only a type B extinguisher: a carbon dioxide or powder
extinguisher.
REPLACING THE WICK
ENSURE THAT THE HEATER IS OFF AND COMPLETELY COOL BEFORE STARTING TO REPLACE THE WICK
- Release the automatic extinguisher by pushing down the safety button.

- Remove the three (3) screws holding heater cover, and lift cover up. Remove batteries from the battery holder.



- Remove the four (4) wing nuts around the wick adjuster. Lift the wick adjuster off the heater while moving it slightly back and forth.


- Slide two fingers between the orange band on the wick and the wick adjuster. After lifting all three (3) pins off the slots, fold the wick and remove it.

- Place the wick adjuster on its side. Next, line up the three (3) openings in the wick adjuster:

1) the holes in the sleeve
2) the diagonal slots in the fixed part of the wick adjuster
3) the slots in the moving part of the wick adjuster controlled by the wick adjuster knob. - Fold the new wick in quarters and insert it into the wick adjuster from wick adjuster bottom. Place one of the pins in one of the line-up openings. If you experience difficulty, gently turn the wick adjuster knob clockwise.
Then insert the two other pins, turning the wick adjuster knob if necessary. Ensure that the wick holder does not bend!
- Finally, gently press the wick, all along its circumference, against the adjuster to insure that it is firmly in place.

- Lower the wick adjuster into the fuel tank, guiding the tail of the wick so it fits over the primary air tube and evenly into place.


Point the wick adjuster knob to the front of the heater. Insure that the wick adjuster is centered over the studs on the fuel tan
NOTE: Be careful with the Rubber packing.
NOTE: The space between the wick adjuster and the primary air tube should be even all around.
NOTE: Make certain the top of the wick adjuster and the top of primary air tube are the same height. If they uneven, the flames tend to be uneven, too. - Tighten the four (4) wing nuts around the wick adjuster.

- Turn the wick adjuster knob to be sure the wick moves smoothly up and down.
After replacing the wick, check the operation of the automatic extinguisher by pushing down the safety button.


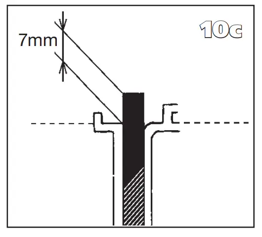
Wick height on position (1) of the wick height lock should be 7 mm when wick adjuster knob is turned fully clockwise. Be sure to check
NOTE: Remember always to start a new wick on position (1) of the wick height lock.
NOTE: If the wick does not move smoothly and easily, or wick height on position (1) of the wick height lock is not in the range of 7-8 mm, do not use the heater. Disassemble and repeat items 5 through 10.
NOTE: If any ragged edges appear on the top of the wick, trim them with a scissors carefully. DO NOT cut the body of the wick. - Replace the heater cover on the fuel tank and secure it into position with three (3) screws. Replace batteries in the battery holder. Be sure that the combustion chamber is properly seated by moving the combustion chamber handle left and right.
Once again, check the proper operation of the automatic extinguisher.

NOTE: Before lighting a new wick for the first time, turn the wick to its lowest position and allow the wick to saturate with paraffin for about thirty (30) minutes.
PRODUCT FICHE
| Supplier’s name/Trademark | TOYOTOMI Europe Sales B.V |
| (b) Model | KR-47 |
| (c) EEC | A |
| (d) Direct heat output | 4.7kW |
| (e) Indirect heat output | N/A |
| (f) EEI | 91.0% |
| (g) Useful energy efficiency | 100% |
(h) Specific precaution For assembly, installation or maintenance instructions, please refer to the operating manual
MAIN COMPONENTS

- Safety button (for emergency stop)
- Wick adjuster knob
- Igniter lever
- Combustion chamber Combustion chamber handle
- Fuel indicator
- Grill
- Fuel tank
- Ignition coil Battery holder
- Carrying handle
- Fuel tank cap
- Wick height lock
Distributed in Europe by TOYOTOMI EUROPE SALES B.V.
Should you require further information or should particular problems occur that are not dealt with in this operating manual, please visit our website www.toyotomi.eu or contact our Sales Support (you find its phone number on www.toyotomi.eu)
Kerosun, Toyostove, Toyoset, Toyotomi and Zibro for the use of paraffin heaters are all registered trademarks of TOYOTOMI Co., Ltd. – Japan.
TOYOTOMI brand paraffin heaters are made in JAPAN and imported by Toyotomi Europe Sales B.V




















































