nVent HOFFMAN AXD20SS Sequestr External Disconnect Enclosure

Product Information
- Product Name: Sequestr External Disconnect Enclosure
- Model: Rev. F
- Part Numbers: 87924206, 87924207
- Manufacturer: Hoffman Customer Service
- Contact Information: Customer Service Dept. Hoffman Customer Service 2100 Hoffman Way Anoka, MN 55303
- Phone: 763 422 2211
- Website: http://hoffman.nvent.com/contact-us
Product Usage Instructions
- To ensure proper operation and safety, check the functions, fits, and clearances of all equipment before and after installation. Make sure they meet applicable codes, standards, and regulations.
- If the completed installation does not function properly or fails to meet codes, standards, or regulations, do not attempt to make alterations or operate the equipment. Report the issue to Hoffman Customer Service immediately.
- The installation of the Sequestr enclosure to the control enclosure requires two people. Do not attempt the installation alone to avoid personal injury and/or product damage.
- To obtain additional copies of the Large Enclosure Handling Manual, call 1-800-355-3560.
- To maintain the environmental rating of the enclosure, only install listed or recognized disconnect devices, hole seals, and/or conduit hubs with the same environmental rating as the enclosure. Install in compliance with the installation instructions of the device.
- Apply extra warning labels (Items 9, 10) included with the enclosure after painting or if the original label is destroyed. Contact nVent for additional warning labels if needed.
- Refer to the grounding section of the instructions for grounding hardware.
- For retrofit installation, follow the Sequestr Retrofit Installation Instructions provided.
- For Sequestr Enclosure mounting, follow the Sequestr Enclosure Mounting Instructions provided.
- When installing the circuit breaker or disconnect switch and associated hardware, drill mounting holes in the panel as required by the specific device being installed. Additional holes may be necessary for fused switches. Refer to the manufacturer’s instructions for guidance.
Note: These instructions are for assembling the following:
- Sequestr Package: A disconnect enclosure with a Sequestr external disconnect enclosure.
- Sequestr Retrofit: A Sequestr external disconnect enclosure accessory for retrofitting an existing disconnect enclosure.
| WARNING | |
| The functions, ts, and clearances of the installation described hereon are calculated from information supplied by the manufactures of the equipment to be installed. Be certain to check the function, ts, and clearances ofall equipment both before and after installation to assure that it operates properly and safely and meets all applicable codes, standards, and regulations. In the event, the completed installation does not function properly or fails to meet any such codes, standards, or regulations, do not attempt to make alterations or operate the equipment. Report such facts immediately to: Customer Service Dept. Hoffman Customer Service 2100 Hoffman Way Anoka, MN 55303 763 422 2211 | |
| To avoid personal injury and/or product damage, DO NOT attempt the installation alone. The installation of the Sequestr enclosure to the control enclosure requires two people. | |
![]()
| Control Enclosure is TOP−HEAVY • Stabilize the control enclosure before mounting the Sequestr external disconnect enclosure to it. • Follow the guidelines in the “Large Enclosure Handling Manual” supplied with the control enclosure. To get additional copies of the “Large Enclosure Handling Manual”, call 1-800-355-3560. |
NOTICE:
To maintain the environmental rating of this enclosure, install in any opening, only listed or recognized disconnect devices, hole seals, and/or conduit hubs that have the same environmental rating as the enclosure. Install in compliance with the installation instructions of the device.
Sequestr Hardware
NOTES:
Extra warning labels (Items 9, 10) are included, and should be applied after the enclosure is painted or the original label is destroyed. Customers should contact nVent for any additional warning labels in the event they cannot find the extra labels or need more. Allen−Bradley’s 1494F−M1 and Square D’s 9422A1 operating handles are shown in these instructions. Grounding hardware is listed in the grounding section of these instructions.
NOTE: The instructions on this page are for preparing to mount a Sequestr enclosure to an existing disconnect control enclosure. If you do not have a retrofit situation, proceed to the instructions on page 5.
Powering Down the System
- Turn off the local disconnect installed in the control enclosure using the appropriate right or left hand rule.
- Turn off the feeder disconnect. It could possibly be the disconnect on the bus bar.
- Put on the correct level of Personal Protective Equipment (PPE).
- Open the control enclosure.
- Test for power on the incoming side of the disconnect using a volt meter.
Removing Old Hardware and Preparing the Control Enclosure
- Remove the existing disconnect from the control enclosure.
- Remove the incoming power feed and seal the existing hole using a Hoffman hole seal (order separately).
- Cover and protect all components installed in the control enclosure.
- Position the template (Item 1) by aligning it with the disconnect cutout on the control enclosure and wrapping it around the side.
- Drill, cut and deburr the holes in the side of the control enclosure.
- Install a Hoffman blank adapter plate (order separately) over the disconnect cutout.
Sequester Enclosure Mounting Instructions
- Remove the subpanel from the Sequestr enclosure for installation of the disconnect switch or circuit breaker. Save the hex nuts for reinstallation.
- Locate, drill and deburr a hole for the power line entrance into the Sequestr enclosure.
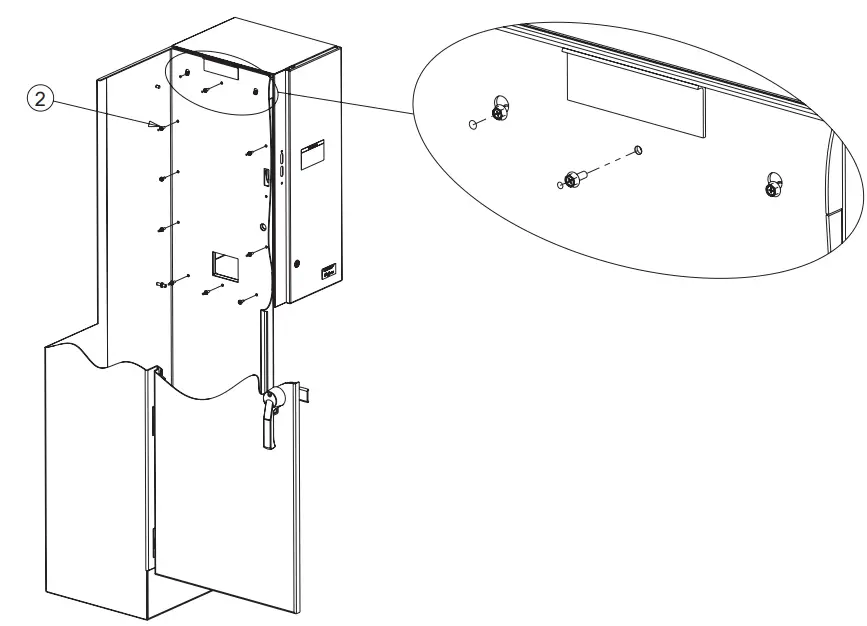
- Referring to Figure 1A, thread two M6x16mm bolts (Item 2) from the outside of the Sequestr enclosure halfway into the two outer holes of the upper row. If necessary, remove the silicone plugs from the mounting holes.

- Referring to Figure 1B, hang the Sequestr enclosure on the side of the control enclosure by inserting the two bolts into the slotted holes in the side of the control enclosure.
- Install nine M6x16mm washer head cap screws (Item 2) from inside the control enclosure at the locations shown and tighten.

Installing the Circuit Breaker/Disconnect Switch and Associated Hardware
- Drill mounting holes in the panel for the specific disconnect switch/circuit breaker being installed. Additional holes may be required when using fused switches. See the manufacturer’s instructions.
- Install the left-hand configuration circuit breaker mechanism or disconnect switch, trailer fuse block, and fuses onto the panel per the device manufacturer’s instructions.
- Install the populated panel into the Sequestr enclosure. Secure with the six previously saved hex nuts.
Retrofit: Add wiring from the trailer fuse block/circuit breaker to the existing wiring in the control enclosure. Punch a hole in the blank terminal block plate (Item 3) to allow wires to pass through using approved gland(s). Install the plate over the four studs in the side of the Sequestr enclosure and secure with four M6 nuts (Item 5). Seal around the wires to maintain a Type 1 rating. Terminal blocks (ordered separately) are also available to aid in the effort.
Package (new installation): Add wiring from the trailer fuse block/circuit breaker to the incoming power side of components in the control enclosure. Punch a hole in the blank terminal block plate (Item 3) to allow wire to pass through. Install the plate over the four studs in the side of the Sequestr enclosure and secure with four M6 nuts (Item 5). Seal around the wires to maintain a Type 1 rating. Terminal blocks (ordered separately) are also available to aid in the effort. - Install conduit and wires to the incoming side of the circuit breaker/disconnect switch in the Sequestr enclosure.
Operating Handle Installation - Install the Sequestr operating handle on the Sequestr enclosure flange following the device manufacturer’s instructions.
Sequestr Defeater Arm and Cover Plate Installation - Install the defeater bracket (Item 13) through the sliding cover plate (Item 12) as shown in Figures 2A and 3A.
(Note the curved end is on the top and pointing toward the front of the enclosure)
Allen Bradley handle (see Figures 2A and 2B): Insert the Sequestr defeater bracket through the curved slot in the enclosure side and secure it to the switch defeater arm with two screws supplied by Allen Bradley.
Square D handle (see Figures 3A and 3B): Insert the Sequestr defeater bracket through the curved slot in the enclosure side and secure it to the switch defeater lever on the side of the defeater lever nearest the Sequestr enclosure wall with two screws supplied be Square D. The screws will pass through the defeater arm and thread into the Sequestr defeater bracket. In order to provide clearance between the defeater bracket and the spring, attach the longer end of the spring to the connecting rod at the beginning of the threads instead of the eye hook; reference Figure 3B.
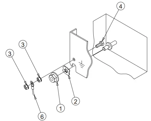
- Referring to Figure 4, with the interlock arm removed, install the control enclosure interlock (Item 4) with the shaft passing through the hole in the Sequestr enclosure and into the control enclosure. Secure the door stop with two M6 lock nuts (Item 5).
Install the interlock arm (shipped loose with interlock) onto the shaft it protrudes out of the control enclosure door opening horizontally with the radiused corner up. Secure the arm with the screw provided.
- Referring to Figures 5A and 5B, check the adjustment of the factory-installed control enclosure lock release mechanism, verify
that the top of the door latch contacts the latch stop when the door is closed and the handle is fully latched. - Install Defeater Slide Arm:
Install the remaining M6 washer head cap screw (Item 2) just below the Sequestr defeater bracket. Install the screw through the shoulder spacer (Item 17) and the slide arm (Item 16) so the smaller diameter of the spacer fits through the slot of the arm.
Attach the bottom of the slide arm over the two studs on the lock release mechanism with two flat washers (Item 14), and two KEPS lock nuts (Item 15). Do not tighten until all parts are adjusted.
Make an initial adjustment of the slide arm (Item 16) so it is approx. ¼ inch above the Sequestr defeater bracket (Item 13) installed in step 11 when the switch handle is in the OFF position. Adjust the length of the slide arm so the switch handle defeater releases just before the master door is completely latched. Lengthen the arm if the defeater releases too soon. Shorten the arm if the defeater releases too late.
Install Control Enclosure Door Hook
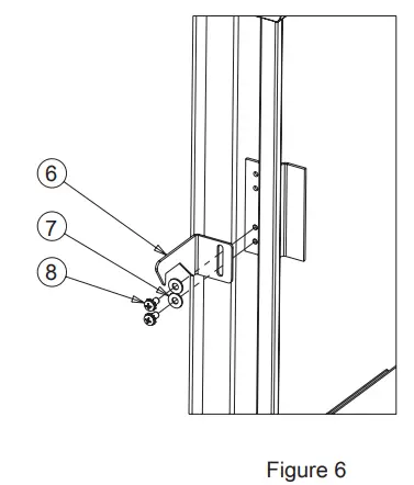
Note: To ensure adjustability, leave the Sequestr door open for this section to manually override the interlock if needed. - Referring to Figure 6, install the control enclosure adjustable door hook (Item 6) onto the door of the control enclosure using two 10−32 screws (Item 8) and #10 flat washers (Item 7) . Initially position the hook approximately two inches from the top of the door bracket.
- Close the door and check that the hook engages the Sequestr defeater bracket (Item 13) with the switch handle in the
“ON” position - Move the handle to the “OFF” position and verify the hook is released and the door can be opened.
- Adjust the hook up or down to for proper engagement with the Sequestr defeater bracket. Tighten all screws and nuts when the adjustments are complete.

Powering Up the System
- Remove any component protective covering that may have been installed per item 2 of “Removing Old Hardware and Preparing the Control Enclosure“ on page 4.
- Verify the operator handle is in the “OFF” position.
- Close the Sequestr™ enclosure door and latch securely. The door stop arm should rotate downward.
- Close the control enclosure door and latch securely.
- Turn on the feeder disconnect switch (possibly the disconnect on the bus bar).
- Flip the operator handle on the Sequestr enclosure to the “ON” position using the appropriate right or left hand rule.
- Verify that the machine / system operates with the new electrical connection.
Accessing the Enclosures
Opening the Control Enclosure Door with Power “ON”
- Defeat the operator handle per the device manufacturer’s instructions.
- Open the control enclosure door
- Sequestr door can be opened after control enclosure door is opened.
Opening the Sequestr Enclosure Door with Power “OFF”
- Open the master door on the control enclosure. Door stop arm will rotate up and release the Sequestr door latch.
- Open the Sequestr enclosure door.
Labeling
(Retrofit Only) Add the derived power label (Item 12) to the control enclosure below the tipping warning label as shown on the cover page of this instruction. The arrow on the label should be pointing toward the Sequestr enclosure.
NOTE: Extra warning labels (Items 12, 13, 14) are included for the purpose of and should be applied after the enclosure is painted or the original label is destroyed. Customers should contact nVent for any additional warning labels in the event they cannot find the extra labels or need more
Sequestr Panel Installation / Grounding
HARDWARE KITS
Shown are the proper installation procedures for grounding the doors, covers, and optional panels and mounting the optional side and back panels. Ground wires (Item 6) are available from nVent Equipment Protection at hoffmanonline.com.
REPAINTING INSTRUCTIONS
SUGGESTED PAINTS:
The following paints typically provide superior adhesion qualities:
- Two Component Epoxies
- Two Component Polyurethanes
- Lacquers
- Acrylics
- Alkyd Baking Enamels
- Industrial Enamel
SURFACE PREPARATION: Wet wipe all surfaces to be painted with xylene solvent. Allow surfaces to flash dry three to five minutes. If a delay of greater than two hours occurs before painting, wet wipe again.
PAINTING: Apply top coat per paint manufacturer’s instructions. Allow adequate cure time between coats. Allow top coat to cure completely prior to testing paint adhesion. Consult with the paint manufacturer for proper cure time.






















