Professional Series Hoods
User Guide
Models:
PH30HWS/PH36HWS/PH48HWS/PH36GWS/PH42GWS/PH48GWS/PH54GWS/PH60GWS
VCIN36WS/VCIN42WS/VCIN48WS/VCIN54WS/VCIN60WS/HPCN36WS/HPCN48WS/HPIN42WS/HPIN54WS
⚠ IMPORTANT SAFETY INSTRUCTIONS
READ AND SAVE THESE INSTRUCTIONS
This Use and Care Guide explains the basics of operating your appliance and those safety measures that must be followed. For complete and safe installation information, refer to the Installation Instructions included with the appliance.
All product manuals may be downloaded online at www.thermador.com/us/support/owner-manuals or www.thermador.ca/en/support/owner-manuals.
INSTALLER: Please leave these instructions with this unit for the owner.
OWNER: Please retain these instructions for future reference. Read all safety instructions before operating the appliance. Have the installer show you where the electric circuit breaker and the gas supply shut-off valve are located so you know how and where to turn off the gas and electricity to the appliance.
Safety definitions
⚠ WARNING: This indicates that death or serious injuries may occur as a result of non-observance of this warning.
⚠ CAUTION: This indicates that minor or moderate injuries may occur as a result of non-observance of this warning.
NOTICE: This indicates that damage to the appliance or property may occur as a result of non-compliance with this advisory.
Note: This alerts you to important information and/or tips.
WARNING
To reduce the risk of fire, electric shock, or injury to persons, observe the following:
- Use this unit only in the manner intended by the manufacturer. If you have questions, contact the manufacturer (800-735-4328).
- Before servicing or cleaning the unit, switch power off at service panel and lock service panel. This will prevent power from being switched on accidentally. When the service panel cannot be locked, securely fasten a prominent warning device, such as a tag to the service panel.
WARNING: If the information in this manual is not followed exactly, a fire or explosion may result causing property damage, personal injury or death.
— DO NOT store or use gasoline or other flammable vapors and liquids in the vicinity of this or any other appliance.
— WHAT TO DO IF YOU SMELL GAS
- DO NOT try to light any appliance.
- DO NOT touch any electrical switch.
- DO NOT use any phone in your building.
- Immediately call your gas supplier from a neighbor’s phone. Follow the gas supplier’s instructions.
- If you cannot reach your gas supplier, call the fire department.
— Installation and service must beperformed by a qualified installer, service agency or the gas supplier.
WARNING
For general ventilating use only. To avoid a fire or explosion hazard, DO NOT use to exhaust hazardous or explosive materials or vapor.
WARNING
TO REDUCE THE RISK OF A GREASE FIRE
a) Never leave surface units unattended at high settings. Boilovers cause smoking and greasy spillovers that may ignite. Heat oils slowly on low or medium settings.
b) Always turn hood ON when cooking at high heat or when flambéing food (i.e. Crepes Suzette, cherries jubilee, peppercorn beef flambé).
c) Clean the appliance frequently. Grease should not be allowed to accumulate on the appliance.
d) Use proper pan size. Always use cookware appropriate for the size of the surface element or gas burner.
WARNING
Repairs should only be done by a trained servicer.
Improper repair of your appliance may result in risk of severe physical injury or death.
CAUTION
Items of interest to children should not be stored in an appliance or in cabinets above an appliance. Children climbing on an appliance to reach items could be seriously injured.
CAUTION
Grease left on filters can re-melt and move into the vent. Clean ventilating fans frequently. Grease should not be allowed to accumulate on fan, filters, or exhaust ducts.
- This appliance must be properly installed and grounded by a qualified technician. Connect only to properly grounded supply. Refer to installation instructions for details.
- Have the installer show you the location of the circuit breaker or fuse. Mark it for easy reference.
- This appliance is intended for normal family household use only. It is not approved for outdoor use. Use of this product in a commercial setting or if installed outdoors is not covered by the warranty. If you have any questions, contact the manufacturer.
- DO NOT store or use corrosive chemicals, vapors, flammables, or nonfood products in or near this appliance. It is specifically designed for use when heating or cooking food. The use of corrosive chemicals in heating or cleaning will damage the appliance and could result in injury.
- DO NOT operate this appliance if it is not working properly or if it has been damaged. Contact an authorized servicer.
- DO NOT repair or replace any part of the appliance unless specifically recommended in this manual.
- For safety reasons and to avoid potential equipment damage, do not hang cookware, fabrics, or other articles from any part of the appliance.
- Have an appropriate fire extinguisher available, nearby, highly visible and easily accessible near the cooking appliance.
- Always have a working smoke detector near the kitchen.
- Smother flames from food fires, other than grease fires, with baking soda. Never use water on cooking fires.
- Whenever possible, do not operate the ventilation system during a cooktop fire. However, do not reach through fire to turn it off.
- If your garments or hair catch fire, fall to the ground immediately and roll to extinguish the flames.
- Examine the appliance after unpacking it. In the event of transport damage, do not plug it in.
- When children become old enough to use the appliance, it is the responsibility of the parents or guardian to ensure that they are instructed in safe practices by qualified persons.
- DO NOT allow anyone to climb, stand, lean, sit, or hang on any part of an appliance. This can damage the appliance and the unit may tip over, potentially causing severe injury.
- DO NOT allow children to use this appliance unless closely supervised by an adult. Children and pets should not be left alone or unattended in the area where the appliance is in use. They should never beallowed to play in its vicinity, whether or not the appliance is in use.
PROPOSITION 65 WARNING
This product may contain a chemical known to the State of California, which can cause cancer or reproductive harm. Therefore, the packaging of your product may bear the following label as required by California:
State of California Proposition 65 Warning:
⚠ WARNING
Cancer and Reproductive Harm – www.P65Warnings.ca.gov
Introduction
Before you begin
⚠ WARNING
To avoid risk of burn, turn the hood ON when cooking at high heat or when flambéing food.
DO NOT use all heating elements or gas burners simultaneously at high settings for a prolonged period (max.15 minutes).
If the hood is located over a gas cooktop, operate the hood at maximum setting whenever three or more gas burners are being used.
DO NOT operate the ventilation system during a cooktop fire.
Before using your appliance, be sure to read this manual.
Pay special attention to the Important Safety Instructions located at the beginning of the manual.
All hoods require the choice of a remote, in-line, or integral blower. Use only Thermador® blowers with Thermador ventilation hoods. All blower models are sold separately. See the Ventilation Planning Guide for recommended blowers. Contact Customer Service for additional options.
All hood models are rated for 120 VAC, using a 15 or 20 amp circuit breaker; see the Installation Instructions for more details.
When connected to a GFCI-protected supply, the Pro Hoods are suitable for use in damp locations that are protected from outside weather conditions and not subject to saturation with water and other liquids, but can be subject to moderate degrees of moisture. Refer to local codes, NEC/CEC, and or the Authority Having Jurisdiction (AHJ) for additional information.
Operating the appliance
Overview
NOTE: The Use and Care Guide applies to several versions of this appliance. Accordingly, you may find descriptions of individual features that do not apply toyour specific appliance.
IMPORTANT: DO NOT use cooktop, rangetop, or range while hood is disassembled.
Chimney wall hood
HPCNxxWx
24” (610 mm) in depth, with widths of 36” (914 mm) and 48” (1,219 mm). This model series features brushed stainless-steel canopy with LED lights.

- Hood canopy
- Touch control panel
- LED lights
- Baffle filters
- Grease trays
- Grease tray trough
Wall hood
PHxxGWx
27” (686 mm) in depth, with widths of 36” (914 mm), 42” (1,067 mm), 48” (1,219 mm), 54” (1,372 mm) and 60″ (1,524 mm). This model series features brushed stainlesssteel canopy with LED lights and heat lamps.
- Hood canopy
- LED lights
- Touch control panel
- Heat lamps (PHxxGWS)
- Baffle filters
- Grease trays
- Grease tray trough
- Filter spacers
PHxxHWx
24” (610 mm) in depth, with widths of 30” (762 mm), 36” (914 mm), and 48” (1,219 mm). This model series featuresbrushed stainless-steel canopy with LED lights.

- Hood canopy
- LED lights
- Touch control panel (4) Baffle filters
- Grease trays
- Grease tray trough
- Filter spacers
Island hood
HPINxxWx
27” (686 mm) in depth, with widths of 42” (1,067 mm) and 54” (1,372 mm). This model series features brushed stainless-steel canopy with LED lights.
- Hood canopy
- Touch control panel
- LED lights
- Baffle filters
- Grease trays
- Grease tray trough
- Filter spacers
- Telescopic flue
Custom insert hood
VCINxxGWx
22” (559 mm) in depth, and with widths of 32¼” (820 mm), 39¾” (1,010 mm), 44¼” (1,125 mm), 50-3/8 ” (1,281 mm), or 56¼” (1,429 mm). This model series features brushed stainless-steel filters and LED lights.
- LED lights
- Touch control panel
- Baffle filters
- Grease trays
- Grease tray trough
- Filter spacers
Touch control panel
NOTE: Not all features referred to in this manual applies to all models.
(a) LH LAMP Left heat lamp (PHxxGWS only)
Independently controls the left infrared heating lamp, turning the lamp on or off.
(b) FILTER Clean filter reminder
After 40 hours of operation, the FILTER button will illuminate indicating that the filters need to be cleaned. When this indicator illuminates clean the filters as instructed on page 10 .
To receive a reminder notification to clean the filters through the Home Connect™ app, activate the feature in the Settings section of the app. You may also review the status of the filter saturation within the Home Connect app.
To turn OFF the clean filter reminder:
After cleaning, press and hold the FILTER button for 3 seconds until it beeps to reset the 40-hour period and to turn the reminder off.
(c) DELAY Delay shut off
If the blower is off when the DELAY button is pressed, the blower will turn on to the high speed setting for 10 minutes. At the end of the 10 minutes the blower will automatically turn off. If the blower is on when the DELAY button is pressed, the blower runs for 10 minutes from the time the DELAY button was pressed at the current speed then turns off. During the 10 minute timed period, the DELAY button is illuminated. To interrupt a timed period, press one of the fan speed buttons or 0 button to turn off.
An ability to choose a different time period other than the default setting is also possible through the Home Connect™ app in the settings menu.
(d) 0 OFF
Touch ‘0’ once to turn the blower off and reset the control.
(e) 1 – 4 Fan speed
Increases or decreases the blower speeds. The chosen blower speed LED will remain illuminated while in operation.
1 – Low
2 – Medium
3 – Medium/High
4 – High
You may also remotely control and monitor hood fan speeds through the Home Connect app. An ability to choose a different speed other than the default setting is also possible through the Home Connect app in the settings menu.
(f) AUTO Automatic mode
When in AUTO mode, the hood automatically turns the blower on, depending on the amount of heat the control senses. It automatically adjusts every 5 minutes. If the control does not sense a high level of heat, it will turn the blower off.
(g) LIGHTS LED Light Control
This button controls the LED lighting. The first press turns the lights on. A second press dims the lights. A third press turns the lights off. An 0 –100% light slider in the Home Connect app allows additional control to obtain the perfect level of light.
(h) CONNECT Home Connect™
This function allows the user to connect the hood with a mobile device.
(i) RH LAMP Right heat lamp (PHxxGWS only)
Independently controls the right infrared heating lamp, turning the light on or off.
Control tone
To turn the control tone off or on, hold the FILTER and LIGHTS button for 3 seconds. The control tone may also be turned off or on through the settings section of the Home Connect app.
Operating the hood
For better results
- The blower should be turned on for about 5 minutes before cooking in order to establish air currents upward through the hood. Thus when heat, smoke, moisture, grease and cooking odors are produced, they will be carried outside instead of drifting into other rooms.
- Use the lower speeds for normal use and the higher speeds for strong odors or fumes.
- Drafts across the range or cooktop will reduce the effectiveness of the hood. Such drafts should be prevented when possible.
- The best job of ventilation in the kitchen is done where the only air currents are those created by the blower itself.
- Regular use of the fan system while cooking helps keep the kitchen comfortable and less humid.
- Use a rear burner when browning or pan frying meat.
- For optimal performance, the width of the hood should equal that of the cooktop or rangetop or exceed it by 3 inches on either side. Install these hoods only with Thermador blowers.
Home Connect™
With Home Connect™, the appliance is Wi-Fi capable and can be remotely controlled using a mobile device (e.g. tablet or smartphone). The Home Connect app offers additional functions which are a perfect complement to the networked appliance.
Home Connect does not work over Wi-Fi networks that require browser registration, i.e. a user name and password entered via a web browser.
You should have a stable wireless network with good reception and access to the internet.
If the appliance is not connected to the WLAN network (home network), it functions in the same way as a typical appliance with no network connection and can be operated as usual.
NOTE: Please ensure that you follow the safety instructions given at the beginning of this instruction manual and that these are also observed when operating the appliance via the Home Connect app and when away from home. Please also follow the instructions in the Home Connect app.
NOTE: Operation on the appliance itself always takes priority, and during this time it is not possible to operate the appliance using the Home Connect app.
Setup
To implement settings via Home Connect™, you must have installed the Home Connect app on a mobile device (e.g. tablet or smartphone). Please observe the supplied Home Connect documents that came with your appliance with regard to this feature.
Follow the steps specified by the app to implement the settings.
What do you need to connect your appliance to Home Connect™?
- Your appliance must be installed properly.
- A smartphone or tablet equipped with the latest version of iOS or Android operating system.
- Your home appliance within the Wi-Fi signal of your home network.
- The name of your Wi-Fi network (SSID) and its password (key).
IMPORTANT INFORMATION ABOUT DATA SECURITY:
The transfer of data is always encrypted. Home Connect meets the highest security standards, which are continuously reviewed. For further information visit www.home-connect.com.
Information:
We are constantly working to improve the Home Connect app, which may lead to differences in the setup steps. Please rely on the instructions in the latest version of the Home Connect app to guide you through the setup process.
STEP 1: Download the Home Connect app and create a user account
- Open the App Store (Apple® devices) or Google Play™ store (Android™ devices) on your smartphone or tablet.
- Search for the HOME CONNECT app in the store’s search and install it.
- Open the app and register to create a Home Connect account.
- Write down your Home Connect account credentials (user account and password). You will need them later.
Save your Home Connect login details here:
Network name
(SSID):………………………………………………………………….
Password
(Key):……………………………………………………………………
The app will guide you through the steps of adding your appliance to Home Connect.
STEP 2: Connect your appliance to your home network
- Your appliance must be installed properly.
- Open your Home Connect app to add an appliance.
- Please follow the directions in the app and refer to the Home Connect Guide only when prompted by the app.
STEP 2.1: Connect your appliance to your home network with WPS
Please enter STEP 2.1 only when prompted by the app.
The following steps describe operations at the appliance itself.
NOTE: To connect the hood to your home network, the hood and the lights must be OFF.
You can cancel the process at any time by pressing 0.
- Press and hold the CONNECT button until 0 and CONNECT flash.
- Press 1.
— 1 and CONNECT will flash. - Press the WPS button on your router.
— Please consult your router’s manual to locate the WPS button.
— When CONNECT and 3 flashes your appliance is connected to the home network.
— The app will get notified once your appliance has been successfully connected to your Wi-Fi network. - Follow the directions in the app.
NOTICE:
ERROR: If the CONNECT and 2 light flashes then the appliance could not establish a connection with your home Wi-Fi within 2 minutes.
FIX: Check whether your appliance is in range of your Wi-Fi and repeat the process. If unsuccessful, refer to STEP 2.2 to connect the appliance manually.
STEP 2.2: Connect your appliance to your home network step-by-step
Please enter STEP 2.2 only when prompted by the app.
The following steps describe operations at the appliance itself.
NOTE: To connect the hood to your home network, the hood and the light must be OFF.
You can cancel the process at any time by pressing 0.
- Press and hold the CONNECT button until 0 and CONNECT flash.
- Press 2.
— 2 and CONNECT will flash.
— The appliance will open a temporary Wi-Fi network called “HomeConnect” with the password “HomeConnect” for 2 minutes.
— The app provides your home Wi-Fi network name (SSID) and its password via this temporary Wi-Fi network to the appliance enabling the appliance to connect to your home Wi-Fi network.
— When CONNECT and 3 flashes your appliance is connected to the home network. - Follow the directions in the app.
STEP 3: Connect your appliance to the Home Connect™ app
Please enter STEP 3 only when prompted by the app. The following steps describe operations at the appliance itself.
- Press and hold the CONNECT button until 0 and CONNECT flash.
- Follow the directions in the app.
— The registration process is complete once
CONNECT stops flashing on the hood.
You have successfully connected your appliance. You can now benefit from all the advantages of the Home Connect™ app!
NOTICE:
ERROR: The appliance fails to connect to the app (the CONNECT light will turn OFF).
FIX: Ensure your smartphone or tablet is connected to the same home network (Wi-Fi). Check that your wireless connection is stable and has a strong signal.
Then repeat the process from STEP 2.2.
Connecting your appliance to another Home Connect account
If you want to change the wireless home network that is connected to the hood, reset the connection to your hood by:
- Press and hold the CONNECT and 0 buttons on your hood for at least 3 seconds.
— The CONNECT button will turn off. - Repeat the connection to your home network.
Software update
Using the software update function, your appliance’s software can be updated (e.g. for the purpose of optimization, troubleshooting or security updates). To do this, you need to be a registered Home Connect™ user, have installed the app on your mobile device and be connected to the Home Connect™ server.
As soon as a software update is available, you will be informed through the Home Connect™ app and will be able to start the software update via the app.
Once the update has been successfully downloaded, you can start installing it via the Home Connect™ app if you are on your local area network.
The Home Connect™ app will inform you once installation is complete.
Notes:
- You can continue to use your appliance as normal while updates are downloading.
- Depending on your personal settings in the app, software updates can also be set to download automatically.
- We recommend that you install security updates as soon as possible.
About data protection
When your appliance is connected for the first time to a WLAN network, which is connected to the Internet, your appliance transmits the following categories of data to the Home Connect server (initial registration):
- Unique appliance identification (consisting of appliance codes as well as the MAC address of the installed Wi-Fi communication module).
- Security certificate of the Wi-Fi communication module (to ensure a secure IT connection).
- The current software and hardware version of your domestic appliance.
- Status of any previous resetting to factory settings.
This initial registration prepares the Home Connect functions for use and is only required when you want to use these Home Connect functions for the first time.
NOTE: Ensure that the Home Connect functions can be used only in conjunction with the Home Connect app.
Information on data protection can be accessed in the Home Connect app.
Declaration of conformity
BSH Home Appliances hereby declares that the appliance which features Home Connect is in accordance with the basic requirements and the other relevant provisions of the directive 1999/5/EC.![]()
Care and cleaning
Filter and grease tray cleaning
⚠ WARNING
Be sure the entire appliance (including the filters and lights) has cooled and grease has solidified before attempting to clean any part of the appliance. Watch for sharp edges.
⚠ CAUTION
DO NOT use the cooktop, rangetop, or range while hood is disassembled.
NOTICE: Filters are not dishwasher safe. DO NOT place filter in a dishwasher to avoid discoloration. Hand Wash Only.
Your hood has removable filters and grease trays. They must be cleaned when the FILTER light illuminates on the control panel or whenever they collect grease. When used over a grill, wok or other high grease applications, more frequent cleaning may be required.
The filters and grease trays can be washed by hand. Soak the ventilation filters in hot water using a mild detergent. Rinse well and shake to dry.
NOTE: Reverse the directions below to remove the filters and grease trays. Ensure filters are cool and grease has congealed before removal.
To install filters and grease trays
- Turn the appliance OFF.
- Grease trays must be in place before installing the filters. Push the grease tray in and down inside the grease tray trough.

- Start with an outside filter. Slide the filter up, toward the front of the hood, then push down on top of the grease tray.

Hood surface cleaning
- For general care, wipe the outside of the stainless steel with mild, lukewarm, soapy water. Always wipe and dry in the direction of the stainless steel grain. Avoid using too much pressure, which may mar the surface.
- DO NOT use abrasive products such as steel wool.
- DO NOT use cellulose sponges. Some sponges are processed with salt and can cause corrosion by leaving salt deposits on the metal.
- DO NOT allow any cleaning compounds to remain in contact with stainless steel for extended periods.
- DO NOT USE CHLORINE-BASED CLEANERS.
- To remove fingerprints and produce added shine, use a stainless steel cleaner or conditioner. The Thermador Stainless Steel Conditioner can be purchased online (US only) at: www.store.thermador.com (order part number 00576697).
Heat lamps (PHxxGWS only)
⚠ WARNING
Heat lamps might be hot. Disconnect from power and allow to cool before servicing.
DO NOT operate the appliance without the heat lamps installed.
Turn off the heat lamps and blower. Allow the heat lamps to cool before handling.
If new heat lamps do not operate, be sure lamps are inserted correctly before calling for service.
Heat lamp installation
- Turn heat lamp clockwise to install.

Heat lamp replacement
- Turn heat lamp counterclockwise to remove.
- Replace lamp with either a PAR-38 175W heat lamp or a PAR-40 250W heat lamp.
The PAR-38 175W heat lamp provides a tighter seal within the enclosure and produces the same amount of effective heat with lower energy consumption. These lamps may not be readily available at local retail outlets. The PAR-40 250W heat lamp is more widely available. It can be used instead.
PAR-38 175W heat lamps can be purchased through the following retailers:
- OpTech Inc: 800-848-6624 or www.optechlightbulbs.com
- bulbs.com: 888-455-2800 or www.bulbs.com
Service
Troubleshooting
Use the suggestions in the table below before calling for service to avoid service charges.
| Problem | Suggested cause and solution |
| Noise during operation | Some noise is normal due to vibration and air movement. • Excessive noise could indicate one of the following: — ductwork is too small / undersized — ductwork is too large / oversized — ductwork is loose — transition is too small or is loose — wood screws are not fully tightened — loose screws in trim parts, etc. Check installation manual to verify that ductwork is the proper size. Tighten screws. |
| Noise when unit is off | • Backflow flap on outside of duct wall cap moves with the wind. This is normal. |
| Lights and fan blower do not work | • Hood circuit breaker may be tripped. Reset breaker. |
| Fan blower does not work | • Power supply is insufficient . • Electrical wiring is incorrectly connected . See the installation manual for more information. |
| Hood trips breaker | • Electrical wiring is incorrectly connected. • Circuit is not sufficient. See the installation manual for more information. |
| The hood is not venting properly | • The hood may be too high from the cook top. • The hood may not be centered above the cook top. • Make up air not sufficient. • The wind from opened windows or opened doors in the surrounding area is affecting the ventilation of the hood. Close all the windows and doors to eliminate the outside air flow. • Blockage in the duct opening or ductwork. Remove all blockage from the ductwork or duct opening. • Duct length too long, too many elbows, “back to back” elbows, or too small roof or wall cap, will all cause issues with air draw. See the installation manual for more information. |
| Fault tone | • Two short beeps will sound whenever the pressing of a button by the user results in a possible function that is not possible by the system. The beep tone can be disabled by pressing the FILTER and LIGHTS buttons simultaneously for at least 3 seconds. Pressing the FILTER and LIGHTS buttons simultaneously when the beep sound is turned off will turn on the beep sound. |
How to obtain service or parts
Before calling service
We want you to remain a satisfied customer. If a problem comes up that cannot be resolved to your satisfaction please let us know.
To reach a service representative, see the contact information at the back page of the manual. Whether youwrite or call, please provide us with the model number, serial number and date of original purchase or installation.
Product data rating plate
The data rating plate shows the model (E-nr) and serial number. Refer to the data plate on the appliance when requesting service.
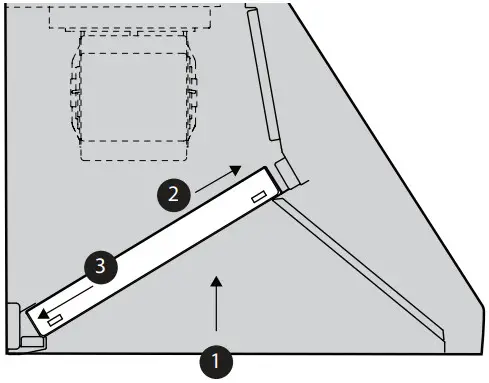
The data rating plate is located on the frame behind the filter. Remove the filter to view it (see figure below for an example).
Service information
For handy reference, copy the information below from the product data rating label located on the frame. Keep your invoice for warranty validation.
Model (E-nr) number:________________________________
Serial number:______________________________________
Date of purchase:___________________________________
Product registration
Register your BSH product to ensure timely service and access to your product related information.
You may register your product through one of the following ways:
- Register with your phone (USA only).
1. Take a photo of the camera icon on the registration card, including the points (
).
2.
Tex Text the photo to 21432. (USA only, text and data rates may apply.) - Mail in the completed product registration card to the address printed on the card.
- Register your product online at www.thermador.com or www.thermador.ca.
- Call Thermador customer service at 1-800-735-4328.
Statement of limited product warranty
What this warranty covers and who it applies to
The limited warranty provided by BSH Home Appliances
(“Thermador“) in this Statement of Limited Product
Warranty applies only to the Thermador appliance sold tyou (“Product“), provided that the Product was purchased:
- For your normal, household (non-commercial) useand has in fact at all times only been used for normhousehold purposes.
- New at retail (not a display, “as is”, or previously returned model), and not for resale, or commercial use.
- Within the United States or Canada, and has at all times remained within the country of original purchase.
The warranties stated herein apply to the original
purchaser of the product warranted herein and to eacsucceeding owner of the product purchased for ordinahome use during the term of the warranty.
Please make sure to return your registration card; while not necessary to effectuate warranty coverage, it is thbest way for Thermador to notify you in the unlikely eventof a safety notice or product recall.
How long the warranty lasts
Thermador warrants that the Product is free from defects in materials and workmanship for a period of seven hundred and thirty (730) days from the date of the original purchase. The foregoing timeline begins to run upon the date of the original purchase, and shall not be stalled, tolled, extended, or suspended, for any reason whatsoever.
This Product is also warranted to be free from cosmetic defects in material and workmanship (such as scratches of stainless steel, paint/porcelain blemishes, chip, dents, or other damage to the finish) of the Product, for a period of sixty (60) days from the date of purchase or closing date for new construction. This cosmetic warranty excludes slight color variations due to inherent differences in painted and porcelain parts, as well as differences caused by kitchen lighting, product location, or other similar factors. This cosmetic warranty specifically excludes any display, floor, “As Is”, or “B” stock appliances.
Repair/replace as your exclusive remedy
During this warranty period, Thermador or one of its authorized service providers will repair your Product without charge to you (subject to certain limitations stated herein) if your Product proves to have been manufactured with a defect in materials or workmanship. If reasonable attempts to repair the Product have been made without success, then Thermador will replace your Product (upgraded models may be available to you, in Thermador’s sole discretion, for an additional charge).
Nothing in this warranty requires damaged or defective parts to be replaced with parts of a different type or design than the original part. All removed parts and components shall become the property of Thermador at its sole option. All replaced and/or repaired parts shall assume the identity of the original part for purposes of this warranty and this warranty shall not be extended with respect to such parts. Thermador’s sole liability and responsibility hereunder is to repair manufacturer defective Product only, using a Thermador-authorized service provider during normal business hours. For safety and property damage concerns, Thermador highly recommends that you do not attempt to repair the Product yourself, or use a non-authorized service provider; Thermador will have no responsibility or liability for repairs or work performed by a non-authorized service provider.
Authorized service providers are those persons or companies that have been specially trained on Thermador products, and who possess, in Thermador’s opinion, a superior reputation for customer service and technical ability (note that they are independent entities and are not agents, partners, affiliates or representatives of Thermador).
Notwithstanding the foregoing, Thermador will not incur any liability, or have responsibility, for the Product if it is located in a remote area (more than 100 miles from an authorized service provider) or is reasonably inaccessible, hazardous, threatening, or treacherous locale, surroundings, or environment; in any such event, if you request, Thermador would still pay for labor and parts and ship the parts to the nearest authorized service provider, but you would still be fully liable and responsible for any travel time or other special charges by the service company, assuming they agree to make the service call.
Out of warranty product
Thermador is under no obligation, at law or otherwise, to provide you with any concessions, including repairs, prorates, or Product replacement, once this warranty has expired.
Warranty exclusions
The warranty coverage described herein excludes all defects or damage that are not the direct fault of
Thermador, including without limitation, one or more of the following:
- Use of the Product in anything other than its normal, customary and intended manner (including without limitation, any form of commercial use, use or storage of an indoor product outdoors, use of the Product in conjunction with air or water-going vessels).
- Any party’s willful misconduct, negligence, misuse, abuse, accidents, neglect, improper operation, failure to maintain, improper or negligent installation, tampering, failure to follow operating instructions, mishandling, unauthorized service (including self performed “fixing” or exploration of the appliance’s internal workings).
- Adjustment, alteration or modification of any kind.
- A failure to comply with any applicable state, local, city, or county electrical, plumbing and/or building codes, regulations, or laws, including failure to install the product in strict conformity with local fire and building codes and regulations.
- Ordinary wear and tear, spills of food, liquid, grease accumulations, or other substances that accumulate on, in, or around the Product.
- Any external, elemental and/or environmental forces and factors, including without limitation, rain, wind, sand, floods, fires, mud slides, freezing temperatures, excessive moisture or extended exposure to humidity, lightning, power surges, structural failures surrounding the appliance, and acts of God.
In no event shall Thermador have any liability or responsibility whatsoever for damage to surrounding property, including cabinetry, floors, ceilings, and other structures or objects around the Product. Also excluded from this warranty are Products, on which the serial numbers have been altered, defaced, or removed; service visits to teach you how to use the Product, or visits where there is nothing wrong with the Product; correction of installation problems (you are solely responsible for any structure and setting for the Product, including all electrical, plumbing or other connecting facilities, for proper foundation/flooring, and for any alterations including without limitation cabinetry, walls, floors, shelving, etc.); and resetting of breakers or fuses.
TO THE EXTENT ALLOWED BY LAW, THIS WARRANTY SETS OUT YOUR EXCLUSIVE REMEDIES WITH RESPECT TO PRODUCT, WHETHER THE CLAIM ARISES IN CONTRACTOR OR TORT (INCLUDING STRICT LIABILITY, OR NEGLIGENCE) OR OTHERWISE. THIS WARRANTY IS IN LIEU OF ALL OTHER WARRANTIES, WHETHER EXPRESS OR IMPLIED. ANY WARRANTY IMPLIED BY LAW, WHETHER FOR MERCHANTABILITY OR FITNESS FOR A PARTICULAR PURPOSE, OR OTHERWISE, SHALL BE EFFECTIVE ONLY FOR THE PERIOD THAT THIS EXPRESS LIMITED WARRANTY IS EFFECTIVE. IN NO EVENT WILL THE MANUFACTURER BE LIABLE FOR CONSEQUENTIAL, SPECIAL, INCIDENTAL, INDIRECT, “BUSINESS LOSS”, AND/OR PUNITIVE DAMAGES, LOSSES, OR EXPENSES, INCLUDING WITHOUT LIMITATION TIME AWAY FROM WORK, HOTELS AND/ OR RESTAURANT MEALS, REMODELLING EXPENSES IN EXCESS OF DIRECT DAMAGES WHICH ARE DEFINITIVELY CAUSED EXCLUSIVELY BY THERMADOR, OR OTHERWISE. SOME STATES DO NOT ALLOW THE EXCLUSION OR LIMITATION OF INCIDENTAL OR CONSEQUENTIAL DAMAGES, AND SOME STATES DO NOT ALLOW LIMITATIONS ON HOW LONG AN IMPLIED WARRANTY LASTS, SO THE ABOVE EXCLUSIONS OR LIMITATIONS MAY NOT APPLY TO YOU. THIS WARRANTY GIVES YOU SPECIFIC LEGAL RIGHTS, AND YOU MAY ALSO HAVE OTHER RIGHTS WHICH VARY FROM STATE TO STATE.
No attempt to alter, modify or amend this warranty shall be effective unless authorized in writing by an officer of BSH.
Obtaining warranty service
To obtain warranty service for your Product, you should contact Thermador Customer Service at 1-800-735-4328 to schedule a repair.
This Thermador® appliance is made by
BSH Home Appliances Corporation
1901 Main Street, Suite 600
Irvine, CA 92614
This Thermador
Questions?
1-800-735-4328
www.thermador.com or www.thermador.ca
We look forward to hearing from you!
References
Beyond Luxury Kitchen Appliances | Thermador
Connect your household | Home Connect
Help & support from Home Connect
P65Warnings.ca.gov
Beyond Luxury Kitchen Appliances | Thermador
Customer Support, Service, Repair & Parts | Thermador
Search for Owner Manuals & Specifications
Service d'assistance à la clientèle, Entretien, Réparations et Pièces | Thermador
Beyond Luxury Kitchen Appliances | Thermador
Accessories Landing Page
Customer Support, Service, Repair & Parts | Thermador
Customer Support, Service, Repair & Parts | Thermador
Search for Owner Manuals



2. 

















