Monsher AMIENS 50 Kitchen Hoods

TECHNICAL SPECIFICATIONS
| Model: | ASTRA 50, ASTRA 60, AMIENS 50, ROUEN 50, ROUEN 60, REIMS 50, METZ 60, LAVAL 60, LIMOGES 60 | LEA 60, NOVA 60, STELLA 60, TROYES 60, DIJON 60, DRANCY 60 |
| Control: | 3 Speed | |
| Motor: | 100W | 115W |
| Extraction Power, m3/h: | 700 | 900 |
| Light bulbs: | 2 x 1Вт | |
| Total Power: | 102W | 117W |
| Diameter of the air discharge pipe: | 120-150 mm | |
| Voltage: | 220-240 V / 50 Hz | |
| Modes of operation: | Air discharge / Recirculation | |
| Filter: | 3 Layer Al.Filter/ Optional Carbon Filter (optional Monsher KFM 101) | 3 Layer Al.Filter/ Optional Carbon Filter (optional Monsher KFM 102) |
| Noise level, dB: | 53 | 56 |
DEAR CUSTOMER,
Thank you for purchasing our equipment! We are sure that appliances of the Monsher brand, which are modern, functional and made of high quality materials and components, will be a reliable assistant in your kitchen.Please read this manual carefully before starting any installation work. It will help you avoid premature failure, as well as extend the life of your appliance to the maximum possible. Please note that the installation of this appliance must be carried out by a qualified technician and in accordance with these instructions. The manufacturer is not liable for any consequences of failure to observe this condition.
Caution!
The manufacturer is not responsible for any possible errors or misprints in this manual. The manufacturer reserves the right to make any changes, without prior notice, to design, outside appearance and scope of supply of appliance, which will be considered as necessary and useful according to the manufacturer’s point of view. Possible modifications will not affect the basic properties, including those that relate to safe operation of the appliance.Section 1.
Safety precautions
- Assembling and electrical connection of the appliance must be carried out by skilled technicians of authorized service center.
- The appliance is designed to operate on 220-240 V AC. Make sure that the technical parameters of your home power supply system correspond to the data for the power supply. If parameter values are above or below the specified range, the use of the appliance is prohibited.
- Do not connect the kitchen air cleaner to the ventilation channels that are used to remove smoke and fumes from the equipment operating on any other energy sources except electric one.
- The appliance is to be connected only to an earthed power supply system.
- Do not cook flammable foods below the kitchen air cleaner.
- Use aluminum filter that comes with the appliance. The use of other materials is prohibited!
- Do not connect the appliance to the power supply system, until the assembly and installation of the appliance is completed.
- Do not use the appliance without the aluminum filter in place.
- Do not touch the lamps.
- Do not remove the aluminum filter while the appliance is in operation.
- Do not disconnect the appliance from the power supply system directly. If necessary, turn the appliance off using the control panel and, only after that, unplug it from the power supply system. When switching on: first connect the appliance to the power supply system, then switch it on using the control panel, but not vice versa!
- The appliance requires regular cleaning and maintenance work.
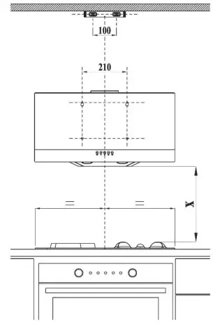
- When installing the appliance, observe the required distance between it and the cooking surface of your stove:
- for an electric stove: at least 60 cm
- for a gas or gas-electric stove: at least 65 cm
- Do not allow children to play with packaging materials, it can be dangerous!
- The appliance is allowed to be turned on only once the pots and/or pans are placed on the stove.
- For best air cleaning in your kitchen, do not turn off the appliance immediately after the cooking process is completed: let the appliance run for a further 15 minutes. For this purpose you can also use the timer function (the button «Auto Switch Off Timer» on the control panel).
- Ensure adequate ventilation in the kitchen, if a gas stove is operated simultaneously with the appliance.
- In case of any malfunctions, contact your nearest authorized service center.
- If the kitchen hood is supposed to operate in air discharge mode, then during installation it is important to provide a duct of the corresponding diameter. To prevent loss of performance caused by aerodynamic resistance of the duct, the air duct must not be too long, or curved. Never restrict the duct size, or make sharp bends. In addition, it is preferable to use smooth PVC duct (round or flat), rather than the flexible corrugated one because bends of a corrugated duct increase the noise level of the hood.
- The manufacturer does not bear any responsibility for any possible damage, in case of non-compliance with above precautions.
- А – «Lighting» button
- В – «0» button
- С – «1» button
- D – «2» button
- E – «3» button
- «Lighting» button – Lighting On/Off
- «0» button – hood motor On/Off
- «1» button – motor rotation speed 1 (initial level)
- «2» button – motor rotation speed 2
- «3» button – motor rotation speed 3
ELECTRONIC CONTROL
To turn on the hood, press the on-off symbol shown in the figure. Click on one of the symbols (1, 2 or 3) to run the hood at the desired speed. To turn off the hood, press the on/off symbol again. To light on/off the lamp, press the lamp symbol.
Mounting and dimensions
Please unpack and inspect the appliance! Before starting installation, make sure that the hood has no obvious transport damages. If such defects are detected, do not install or connect the appliance to the mains.
WARNING
- Make sure the plug is easily accessible so that it can be disconnected in case of risk.
- During installation, the power cable must not be compressed or crushed. If the power cable is damaged, it must be replaced by an authorized service center or a qualified electrician. This applies to any possible damage to the power cable in the future.
- This product is not suitable for children over 8 years of age and persons with limited physical, sensory or psychological skills only if they are supervised or instructed in the safe use of the product and are aware of the risks associated with the product. Children must not play with the product. Children under the age of 8 and without supervision should not clean or maintain the product. Keep the product and cable out of the reach of children under 8 years of age.
- When connecting the hood to the duct, use a pipe with a diameter of 120 mm. For maximum extraction performance, the pipe connection should be as short as possible, smooth and with minimal bends.
- The exhaust pipe is not supplied with the product, needs to be purchased. The diameter of the exhaust pipe must be equal to the diameter of the connecting ring.
INSTALLING THE HOOD
- Drill a Ø8mm hole in the wall using the installation template provided in the box with the mounting hardware, (A,B,C,D) and insert plastic plugs into these Ø8mm holes.
- Considering the height of the place of installation, drill Ø6mm holes in the wall using a hammer drill (E,F) for the inner chimney slat and insert plastic plugs Ø6mm into these holes.

- Tighten the 2 bolts 4.8×50 YSB into the plugs in the wall at points A and B. Make sure there is a distance of 5mm between the bolt head and the wall.
- Attach the chimney inner spigot strip to the Ø6mm wall plugs at points E and F using 3.9×22 RYSB bolts.

- Hang the hood by screwing it at points A and B, keeping a clearance of 5 mm between the bolt head and the wall.
- Open the protective glass of the hood by pulling it towards you and remove the aluminum cartridge filter. Fasten the product by tightening the 4.8×50 YSB bolts in the plastic plugs on the wall in holes C and D visible from the inside of the product.

- Connect the hood to an aluminum exhaust pipe (not included). slide the flexible aluminum tube onto the plastic duct adapter and secure it using a plastic or metal tie without overtightening. Insert the other end of the pipes into the duct hole on the wall.

- Before connecting the hood to the pipe, check the plastic shutters at the outlet of the hood. Before connecting to the pipe, turn on the hood and make sure that the flaps move up and allow air to escape.

- Pull the inner duct up through the outer duct and fasten it with a 3.5×6.5 RYSB screw to the inner chimney stub that you screwed to the wall earlier.

- Attach the external air duct to the air duct mounting bracket that is on the top surface of the hood (2 pcs, right-left) using 3.5×6.5 RYSB bolts.
Cleaning and maintenance
Caution! Before you start cleaning the appliance, disconnect it from the power supply.
Aluminum filter
Aluminum filter is designed to trap grease particles out of the flow of air running through it. For this reason, the filter needs regular cleaning. The cleaning interval depends on the frequency of use of the air cleaner. Generally, it is recommended to clean it once a month.
To do this, remove the filters, wash them in water with a neutral liquid detergent, dry them, then set them back in the air cleaner. Over time, filters may change color due to a regular washing. This is a natural process, which does not indicate a defect, so filter replacement is not required. The aluminum filters can be washed in the dishwasher.
How to remove aluminum filters:
- Press on the latch of the filter lock.
- Pulling down a bit, remove the filter.
In order to put the filters in place after cleaning, follow the above instructions in reverse order.
Carbon filter (used in recirculated air mode)
Carbon filter is designed to trap odors and fumes while cooking. It is used in cases where there is no possibility to connect the air cleaner to a special ventilation duct for discharging air outward. When operating the appliance with a carbon filter, contaminated air is sucked into the appliance and passes through a carbon filter, and then clean air is supplied to the kitchen.
The carbon filter should be replaced at regular intervals. The interval of filter replacement depends on the frequency of use of the air cleaner, style of cooking and frequency of the aluminum filter cleaning. Generally, it is recommended to replace the carbon filter once every 4 months.
How to remove carbon filter:
- Remove aluminum filters.
- Turn the carbon filter to the left and pull it.
- Replace the old carbon filter with the new one.
- Put the filter back into place.
If necessary, clean the outside of the air cleaner with a soft, damp cloth. Do not use any abrasive cleaning agents. For painted stainless steel surfaces: to avoid scratching it is recommended to wipe them with a soft, damp cloth in the painting direction. Do not remove the lamp cover during the surface cleaning process.
Caution! Do not use the steam generators for cleaning.
Caution! Not following the above rules for cleaning the appliance and replacing filters may cause fire.
Caution! If you need to transport the air cleaner, first of all, disconnect it from the power supply and proceed with disassembly. It is recommended that you transport it in the original packaging. If this packaging is not available, package the appliance using materials that prevent possible damage resulting from transportation.
Replacing lamps
Before replacing lamps, remove the hood’s power cable. Lift the front glass up and remove the aluminum cartridge filter.
Then:
- Disconnect the socket and lamp connector by pulling back on the plastic tab as shown in the figure on the left to open the locking device.
- Hold the lamp by the body and turn the 2 fixing tabs on the lamp clockwise or counterclockwise to fit into the gaps on the lighting panel. After the fixing tabs line up with the gaps, hold the lamp by the body and remove it.
Troubleshooting
Very often a malfunction of the appliance occur for minor reasons. So, before you call for service center, please check whether you can troubleshoot yourself. For this purpose please check the following possible causes of malfunctions.
| Malfunction | Possible cause | Troubleshooting action |
| The appliance does not operate | Faulty fuse Plug is not properly inserted into the outlet There is no voltage in the power supply system | 1. Check the fuse of the appliance 2. Make sure that plug is properly inserted into the outlet |
| Suction power is not sufficient | Incorrect speed selected Filters are clogged | 1. Increase suction speed of hood 2. Clean or replace filters |
|
The lamp is not lighting | Faulty fuse
The lamp is burned out or incorrectly installed | 1. Check the fuse of the appliance 2. Make sure that the lamp is installed correctly or replace it |
Please note!
The following shall not be considered as defects of the Product
|
Cooker hoods | Minor technical smells coming from a new product during the initial operation period |
| Violation of the operating conditions of the components of the product, made of natural wood | |
| Sound of the air flow passing through the ventilation ducts and channels of the product | |
| Discoloration of housing elements of the product when using the product | |
| Black discoloration and deformation of fat filter elements when using the product |
Helpful information
- Physical characteristics of the sound volume (the sound pressure level) is measured in decibels (dB). «Noise» is a chaotic mix of sound.
- The human ear can detect sounds with sound volume of 10-15 dB and above.
- When choosing a kitchen hood, it is necessary to pay special attention to technical indicators such as the noise level. This indicator is very important, because, and that’s beyond a shadow of a doubt, each of us spends a lot of time on the kitchen. It is especially common for women who love to please their loved ones with delicious cooked dishes.
- According to the surveys, 40% of women do not use kitchen hoods for their intended purpose (it refers to the process of air suction), precisely because they are annoyed with the noise level.
- Consequently, such a necessary and needed in the kitchen appliance, kitchen air cleaner, designed to remove airborne odors, grease, soot and smoke, becomes almost meaningless.
For more complete understanding of the scale of decibels, you can compare parameters of the following guidelines:
| Intensity of typical noise sources | ||
| Approximate sound pressure level dB | Characteristics | Sound source and distance |
| 160 | Shock, trauma | Shot of a gun of 0.303 caliber close to your ear |
| 150 | Contusion, trauma | Rise of the lunar rocket, 100 m |
| 140 | Contusion | Rise of the jet plane, 25 m |
| 120 | Almost unbearable | Engine room of submarine Jackhammer, 1 m |
| 100 | Extremely noisy | Very noisy factory Subway car (intermittently) |
| 90 | Very noisy | Heavy diesel truck, 7 m Road drill (without muffler), 7 m Railway freight wagon, 7 m |
| 80 | Very noisy | Ringing alarm clock, 1 m Motorcycle with a silencer, 1 m |
| 75 | Noisy | Inside railway carriage Shout, 1 m Loud laughter, 1 m |
| 70 | Noisy | Inside a small car, moving at a speed of 50 km/h Home vacuum cleaner, 3 m Loud conversation, 1 m |
| 65 | Clearly audible | Typewriter Normal conversation, 1 m |
| 40 | Quite audible | Institution, where there are no special sources of noise |
| 35 | Hardly audible | Room of a quiet apartment Very muffled conversation |
| 25 | Quiet | Rural areas located far from roads Whisper of a person, 1 m |
Recommendations of the manufacturer:
- Check the correctness of the warranty card when purchasing the appliance.
- Follow the instructions of the manual when operating the appliance.
- Use only authorized service centers.
- After carrying out any repairs by an authorized service center, the specialists of the centre should provide you with a description of the work conducted. This information may be useful for you in the future.
- The lifetime of the product: 10 years.
DETERMINATION OF THE PRODUCTION DATE BY SERIAL NUMBER
Manufacturers:
M&G HAUSGERATE GMBH
Potsdamer Str. 92 10785 Berlin
Tel: (030) 544 37 834 Fax: (030) 544 37 856
Factories-branches of the manufacturer:
38-500 Sanok, ul.Okulickiego 10, Polska
FEMAS METAL SANAYI VE TICARET ANONIM SIRKETI
TURKEY, ORGANIZE SANAYI BOLGESI 9. CADDE NO:17 MELIKGAZI, KAYSER
Importers:
LLC «MG Rusland»,
141400, Moscow region, Khimki, Butakovo, 4
The manufacturer reserves the right to make any changes to design, outside appearance and scope of supply of appliance.




























