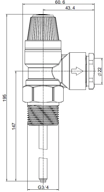
BIW 7 Bar TP Relief Valve

Introduction
The TP relief valve controls and limits the temperature and pressure of the hot water contained in a solar domestic water storage heater and prevents it from being able to reach temperatures of over 95°C, with the formation of steam. On reaching the settings, the valve discharges a sufficient amount of water into the atmosphere so that the temperature and pressure return within the system’s operating limits.
- Nominal pressure: PN10
- pressure: 7bar
- Temperature relief: 90℃ – 95℃
- Pressure relief tolerance: +/-5%
- KW rating: 25kW
- Maximum ambient temperature: 100℃
- Probe length: 100mm






















