Broma BHHD60F Electric Heater
IMPORTANT SAFETY INSTRUCTIONS
SAVE THESE INSTRUCTIONS FOR FUTURE USE
WHEN USING ELECTRICAL APPLIANCES, BASIC PRECAUTIONS SHOULD ALWAYS BE FOLLOWED TO REDUCE THE RISK OF FIRE, ELECTRIC SHOCK, AND INJURY TO PERSONS, INCLUDING THE FOLLOWING:
Read all instructions before using this heater. Failure to follow these important safety instructions may cause fire, electric shock, or damage. Following proper safety and operating instructions is the responsibility of the owner.
- Grounding (If necessary) – this heater is for use at 120 volts. DO NOT attempt to modify the plugin in any way or use adaptors to defeat the purpose of the grounding feature.
- This heater is hot when in use. To avoid burns, do not let the skin come in direct contact with hot surfaces. The grill directly in front of the heater outlet becomes hot during heater operation.
- The front of the fireplace should remain not blocked while in use.
- CAUTION: Extreme caution is necessary when any heater is used by or near children or those with disabilities. Never leave the heater operating unattended.
- Do not operate any heater with a damaged cord or plug or after the heater malfunctions, has been dropped, or damaged in any manner. Take heater to authorized service facility for examination, electrical or mechanical adjustment, or repair.
- Under no circumstance should this electric heater be modified. Parts having to be removed for servicing must be replaced by a certified repair center prior to operating this electric heater again.
- Do not use it outdoors or anywhere it can get wet. This heater is not intended for use in bathrooms, laundry areas, and similar indoor locations. Never locate heater in bathrooms, laundry areas and similar indoor locations. Never locate this appliance where it may fall into a bathtub or other water container.
- Do not run cord under carpeting. Do not cover the cord with throw rugs, runners, or similar coverings. Arrange cord away from traffic area and where it will not be tripped over.
- To disconnect the heater, turn off all controls, then remove the plug from the outlet.
- Connect to properly grounded outlets only.
- Do not insert or allow foreign objects to enter any ventilation or exhaust opening as this may cause an electric shock or fire, or damage the heater.
- To prevent a possible fire, do not block air intakes or exhaust in any manner. Do not use it on soft surfaces, like a bed, where openings may become blocked.
- CAUTION: A heater has hot and arcing or sparking parts inside. Do not use it in areas where gasoline, propane, paint, or flammable liquids are used or stored or where the unit will be exposed to flammable vapors. The heater should not be used as a drying rack for clothing. Do not hand any decorations on the heater.
- Do not modify this heater. Use this heater only as described in this manual. Any other use not recommended by the manufacturer may cause fire, electric shock, or injury to persons.
- Avoid the use of an extension cord because the extension cord may overheat and cause a risk of fire. However, if you have to use an extension cord, the cord shall be No.16AWG minimum size and rated not less than 1875 watts and a 3-wire cord with a grounding-type plug and cord connector.
- Do not plug this product into a receptacle controlled by a wall switch or dimmer.
- Always use a certified electrician should new circuits or outlets be required.
- Always disconnect power before performing any cleaning, maintenance, or relocation of the heater.
- For off-season storage, keep it in a dry place.
- NOTE: Procedures and techniques that are considered important enough to emphasize.
- CAUTION: Procedures and techniques, which, if not carefully followed, will result in damage to the equipment or personal property or may cause personal injury.
- WARNING: Procedures and techniques, which, if not carefully followed, will expose the user to the risk of serious injury, illness or death.
- WARNING: This heater and parts become hot when in use. The area directly around and under the heater must be clear and free of any obstructions.
DO NOT ALLOW CHILDREN TO OPERATE THIS HEATER. KEEP CHILDREN AND PETS AWAY FROM HEATER AND CONTROLS.
Electrical Parameter
- Power supply: 120VAC
- Frequency: 60Hz
- Power: 1500W
NOTE: If the supply cord is damaged, it must be replaced by the manufacturer, its service agent, or similarly qualified persons in order to avoid a hazard.
Product Dimension
| Model | A | B | C | D | E | F | G | H |
| BHFP40 | 40” | 17.7” | 6.2” | 35.92” | 16.27” | 5.94” | 33.7” | 9.05” |
| BHFP48 | 48” | 17.7” | 6.2” | 43.91” | 16.27” | 5.94” | 41.69” | 9.05” |
| BHFP60 | 60” | 17.7” | 6.2” | 55.88” | 16.27” | 5.94” | 53.7” | 9.05” |
Installation
- Caution: This heater can be installed in two ways, which can be selected according to your preference.
- Type 1. Built-in Wall
Clearance: Please allow a minimum of 0.5” spacing from the rear of the unit to a wall. Wall Opening Dimensions: - Note: Before installing the heater, please confirm the opening size of the wall.

| Model | Unit Overall Dimensions | Cutout Dimensions(W*D*H) |
| BHFP40 | 40” x 6.2” x17.7” | 36.75”x 6.313”x 17.125” |
| BHFP48 | 48” x 6.2” x17.7” | 44.75”x 6.313”x 17.125” |
| BHFP60 | 60” x 6.2” x17.7” | 56.75”x 6.313”x 17.125” |
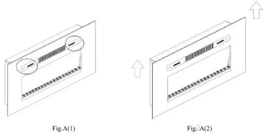
- Step 1:
- Find the two mounting screws and remove them.
- Remove the front cover by pulling it upward
- Step 2:
- Secure the unit to the back wall using the 4 screws

- Secure the unit to the back wall using the 4 screws
- Step 3:
- Replace the front cover and secure it with two mounting screws

- Replace the front cover and secure it with two mounting screws
Type 2. Wall Hanging
- Step 1: Select the wall location where you want to hang your electric heater. Draw a horizontal line using a level and mark 4 drill holes for the 4 anchor screws.
- Note: The holes are for mounting of the heater and it shall be level so that the heater can be mounted properly and leveled.

- Note: The holes are for mounting of the heater and it shall be level so that the heater can be mounted properly and leveled.
- Step 2:
- Drill 4 holes 8 mm (5/16in) in diameter and 43 mm (1.7in) deep on the marked locations. For holes that do not hit studs, use the supplied wall anchor. Install the wall anchors into the holes and gently tap them into place with a hammer until the flange of the wall anchor is flush with the wall surface.

- Drill 4 holes 8 mm (5/16in) in diameter and 43 mm (1.7in) deep on the marked locations. For holes that do not hit studs, use the supplied wall anchor. Install the wall anchors into the holes and gently tap them into place with a hammer until the flange of the wall anchor is flush with the wall surface.
- Step 3:
- Secure the mounting bracket to the wall anchors using the 4 anchor screws and 4 washers

- Secure the mounting bracket to the wall anchors using the 4 anchor screws and 4 washers
- Step 4:
- Find the two mounting screws and remove them.
- Remove the front cover by pulling it upward

- Step 5:
- Mount the heater on the wall using the keyhole slots of the metal bracket at the back of the heater.
- Make sure that the mounting bracket is completely engaged into the metal bracket at the back of the heater.

- Step 6:
- Secure the mounting bracket to the heater using 2 mounting screws.

- Secure the mounting bracket to the heater using 2 mounting screws.
- Step 7:
- Replace the front cover and secure it with two mounting screws
Replace Decorative Rock
- Step 1:
- Find the two mounting screws and remove them.
- Remove the front cover by pulling it upward

- Step 2:
- Put the rock or branch into the heater

- Put the rock or branch into the heater
- Step 3:
- Replace the front cover and secure it with two mounting screws

- Replace the front cover and secure it with two mounting screws
OPERATION
After reading all the instructions, make sure that all the fireplace controls are in the OFF position. Plug the fireplace into a 15A/120V outlet.
Operation with The Control Panel
The controls are located at the right of the heater outlet.
: Press this button to turn ON the fireplace. The unit will beep. Press again to turn off the fireplace and the fan will continue to work for 60 seconds without heat.
: Press this button to change the flame color. The unit will beep. Press once is orange color. Press twice is orange and blue color. Press third is blue color.
: Press this button to change the flame effect. The unit will beep. Press again to decrease the flame
intensity. There are 6 light intensities for your selection. The flame optics will go lower under the sequence of 6,5,4,3,2 and 1. Pressing the button again will stop the flame effect:
Press this button to set the temperature. The unit will beep. Press this button to the desired temperature. When the desired ambient temperature is reached, the heater will automatically stop heating. When the ambient temperature drops below the desired temperature of 2°C, the heater will resume heating.
Operation by The Remote Control
- : Press this button to turn ON the fireplace. The unit will beep. Press again to turn off the fireplace and the fan will continue to work for 60 seconds without heat.
- : Press this button to toggle between the two temperature scales. The corresponding Celsius (C) or Fahrenheit (F) LED indicates the current
- : Press this button for the timer function. The letters ‘0H’ to ‘8H’ will appear on the LED screen. ‘0H’ means there is no set running time and the heater will run continuously. The letters ‘1H’ to ‘8H’ means the number of hours that the heater will operate before shutting off.
- : Press this button to change the flame effect. The unit will beep. Press again to decrease the flame intensity. There are 6 light intensities for your selection. The flame optics will go lower under the sequence of 6,5,4,3,2 and 1. Pressing the button again will stop the flame effect. By default, the flame color is orange. Hold it for about 3 seconds to change the flame color. The flame color will change under the sequence of orange, orange, and blue, blue.
- : Press the up or down button to the desired temperature. When the desired ambient temperature is reached, the heater will automatically stop heating. When the ambient temperature drops below the desired temperature of 2°C, the heater will resume heating.
Remote Control Battery Replacement
Replace with a CR2025 battery and follow the diagram at the back of the remote handset to install the new battery.
Maintenance
WARNING: Completely disconnect power before attempting any maintenance or cleaning, to reduce the risk of fire or electric shock. Maintenance should only be performed by a certified technician.
Cleaning
Before cleaning any parts of the fireplace make sure to first turn off the controls and then unplug the unit from power source.
CAUTION: Wait until the unit has completely cooled before attempting any cleaning. Cleaning Glass Panel: Remove dust with clean dry cloth. Remove fingerprints and other marks from glass door by using a clean damp cloth. Do not use abrasive cleaners or spray liquids on glass door surfaces. Metal and metal painted parts should be cleaned with clean damp cloth only. Do not use abrasive cleaners or spray liquids on these surfaces.

















: Press this button to turn ON the fireplace. The unit will beep. Press again to turn off the fireplace and the fan will continue to work for 60 seconds without heat.
: Press this button to change the flame color. The unit will beep. Press once is orange color. Press twice is orange and blue color. Press third is blue color.
: Press this button to change the flame effect. The unit will beep. Press again to decrease the flame
















