

Digital Tower Heater, 28″
IMPORTANT INSTRUCTIONS
Read these instructions carefully and retain them for future use. If this appliance is passed to a third party, then these instructions must be included.
When using electrical appliances, basic precautions should always be followed to reduce the risk of fire, electric shock, and injury to persons, including the following:
WARNING Risk of fire
In order to avoid overheating, do not cover the heater.
WARNING Risk of burns!
Do not use this heater in small rooms when they are occupied by persons not capable of leaving the room on their own, unless constant supervision is provided.
WARNING High temperature!
Keep electrical cords, drapery and other furnishings at least 3 feet (0.9 m) from the front of the heater and away from the sides and rear.
- Read all instructions before using this heater.
- This appliance is not intended for use by persons (including children) with reduced physical, sensory or mental capabilities, or lack of experience and knowledge, unless they have been given supervision or instruction concerning use of the appliance by a person responsible for their safety.
- Children should be supervised to ensure that they do not play with the appliance.
- If the supply cord is damaged, it must be replaced by the manufacturer, its service agent or similarly qualified persons in order to avoid a hazard.
- This heater is hot when in use. To avoid burns, do not let bare skin touch hot surfaces. If provided, use handles when moving this heater. Keep combustible materials, such as furniture, pillows, bedding, papers, clothes, and curtains at least 3 feet (0.9 m) from the front of the heater and keep them away from the sides and rear.
- Extreme caution is necessary when any heater is used by or near children or invalids and whenever the heater is left operating and unattended.
- Always unplug heater when not in use.
- Do not operate any heater with a damaged cord or plug or after the heater malfunctions, has been dropped or damaged in any manner. Discard heater, or return to authorized service facility for examination and/or repair.
- Do not use outdoors.
- This heater is not intended for use in bathrooms, laundry areas and similar indoor locations. Never locate heater where it may fall into a bathtub or other water container.
- Donot run cord under carpeting. Do not cover cord with throw rugs, runners, or similar coverings. Do not route cord under furniture or appliances. Arrange cord away from traffic area and where it will not be tripped over.
- To disconnect heater, turn controls to off, then remove plug from outlet.
- Do not insert or allow foreign objects to enter any ventilation or exhaust opening as this may cause an electric shock or fire, or damage the heater.
- To prevent a possible fire, do not block air intakes or exhaust in any manner. Do not use on soft surfaces, like a bed, where openings may become blocked.
- A heater has hot and arcing or sparking parts inside. Do not use it in areas where gasoline, paint, or flammable liquids are used or stored.
- Use this heater only as described in this manual. Any other use not recommended by the manufacturer may cause fire, electric shock, or injury to persons.
- Always plug heaters directly into a wall outlet/ receptacle. Never use with an extension cord or relocatable power tap (outlet/power strip).
- The heater must not be located immediately below a socket outlet.
- The appliance has a polarized plug (one blade is wider than the other). To reduce the risk of electric shock, this plug will fit outlet only one way. If the plug does not fit fully in the outlet, reverse the plug. If it still does not fit, contact a qualified electrician. Do not modify the plug in any way.
- Use this heater on a horizontal and stable surface.
- The appliance is equipped with tip-over protection. Do not use this heater on an elevated surface such as a shelf or desktop. Use only while placed on the floor. Operate only in upright position.
- Do not hang the cord over edges of counters or be placed where it can be crimped or closed in doors.
SAVE THESE INSTRUCTIONS
Battery Warnings
NOTICE The batteries are not included.
- Always insert batteries correctly with regards to polarity (+ and -) marked on the battery and the appliance.
- Exhausted batteries should be immediately removed from appliance and properly disposed.
Intended Use
- This appliance is intended for heating indoor living spaces only.
- This appliance is intended for household use only.
- This appliance is intended to be used in dry indoor areas only.
Before First Use
DANGER Risk of suffocation!
Keep any packaging materials away from children and pets – these materials are a potential source of danger, e.g.
suffocation.
- Remove all the packing materials.
- Remove and review all components before use.
- Check the appliance for transport damages.
- Before connecting the appliance to the power supply, check that the power supply voltage and current rating corresponds with the power supply details shown on the appliance rating label.
- The appliance may emit a slight smell or smoke, or emit small cracking sounds when it is first used. This is entirely safe and harmless. Ensure there is adequate ventilation in the room.
Specifications
| Model number | DQ3317 |
| Rated voltage | 120 V AC, 60 Hz |
| Power input | 1500 W |
| Cord length | 72″ (1.83 m) |
| Voltage/battery type (remote control) | 3V |
| Net weight | approx. 8.76 1bs (3.96 kg) |
| Dimensions (W x H x D) | approx. 9.45 x 28.54 x 9.45″ (24 x 72.5 x 24 cm) |
Appliance Description

| A Control panel B Handle C Display D E F G H | I J K Air outlet grille L Air vent cover M Power switch (O/ 1) N Supply cord with power plug O Base P Remote control |
Operation
7.1 Inserting batteries
NOTICH Always insert batteries correctly with regard to polarity (+ and -) marked on the battery and the remote control (P).
- Slide the cover of the battery compartment on the underside of the remote control (P) open (Fig. 1).
- Insert 2 batteries (Type AAA, 1.5 V).
Make sure the polarity (+ and -) is correct
- Refit the battery compartment cover.
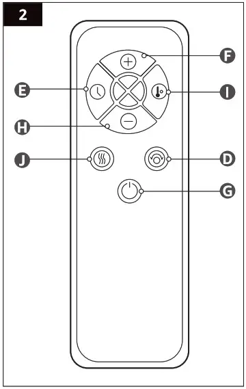
7.2 Remote control
NOTICE The buttons on the remote control (P) can be used to perform the same functions as the button on the control panel (A) (Fig. 2).

| Control | Function |
| On/off Mode selection Temperature setting Adjust temperature/timer Timer function Swing function |
7.3 Switching on/off
WARNING Risk of electric shock!
Always set the power switch (M) to 0 position before connecting the power plug (N) to a socket outlet.
WARNING High temperature!
Keep electrical cords, drapery, and other furnishings at least 3 feet (0.9 m) away from the front of the appliance and away from the side and rear.
NOTICH
- Place the appliance on a flat, stable surface. Make sure the base (O) of the appliance is stabilized.
- When positioning the appliance, use the handle (B) to lift and carry the appliance.
- The appliance can be controlled by using the buttons on the control panel (A) or by using the remote control (P).
- The appliance emits a beep to confirm reception each time a button on either the control panel (A) or the remote control (P) is pressed.
- The indicators on the control panel (A) show the current setting.
- Connect the power plug (N) to a suitable socket outlet.
- Set the power switch (K) to position.
The appliance emits a beep. - Press ) button (G) to switch the appliance on. The display (C) shows the room temperature and the appliance starts operating.
NOTICH When switching on after previous use, the appliance reverts to the settings from the previous use. The corresponding indicators on the control panel (A) light up. - After use, press (
button (G) to switch the appliance off. The appliance emits a beep.
NOTICH When the appliance is switching off, it automatically enters a cool down routine. The fan keeps running for about 30 seconds to exhaust remaining heat. - Set the power switch (M) to O position.
Unplug the appliance from the socket outlet.
7.4 Selecting mode
Press (
) button (J) to cycle through mode options.
| Fan mode | |
| Low power mode | |
| High power mode |
NOTICH
- When room temperature reaches the set temperature, the appliance stops heating up and the fan switches off after 30 seconds.
- When room temperature is lower than the set temperature, the appliance resumes heating.
7.5 Adjusting temperature
Use the
button (F) and
button (H) to set the thermostat to the desired temperature between 45 and 95 °F.
After setting the temperature, the display (C) shows a blinking set temperature and then reverts back to the room temperature.
7.6 Timer function
Press
button (E) to set a timer. The appliance switches off automatically once the set timer has passed.
Use the
button (F) and
button (H) to set the timer from 1 hour to 24 hours. The display (C) shows a blinking set time (D{H to 24H) and then reverts back to the room temperature.
NOTICE |When timer function is activated, H indicator shows on the display (C). To cancel the timer, press
button (E) and press
button (H) to set to OH. H indicator disappears from the display (C).
7.7 Swing function
Press
button (D) to activate or deactivate the swing function.
- To distribute the airflow over a larger area, press
button (D) and the appliance oscillates right and left. - To stop the oscillation in the desired position, press
button (D) again.
7.8 Overheat protection
When parts of the appliance get excessively hot, the appliance switches off automatically to prevent overheating.
- To completely switch the appliance off:
- Set the power switch (M) to O position.
- disconnect the power plug (N) from the socket outlet.
- To resume operation:
- Allow the appliance to cool down.
- Wipe any accumulated dust off the air outlet grille (K) or air vent cover (L) on the rear of the appliance.
- Connect the power plug (N) to a socket outlet.
- set the power switch (M) to I position.
- Press
button (G) to switch the appliance on.
NOTICE Settings from the previous use cannot be reverted after the appliance switches off automatically.
7.9 Tip-over protection
If the appliance tips over, it switches off automatically. To resume operation, position the appliance in upright position and press
button (G). The appliance operates in the last stored setting.
Cleaning and Maintenance
WARNING Risk of electric shock!
- To prevent electric shock, unplug the appliance before cleaning.
- During cleaning do not immerse the appliance in water or other liquids. Never hold the appliance under running water.
CAUTION Risk of burns !
Allow the appliance to cool down before cleaning or storage.
8.1 Cleaning
- To clean the appliance, wipe with a soft, slightly damp cloth.
- Wipe any accumulated dust off the air outlet grille (K) or air vent cover (L) on the rear of the appliance. Use a soft brush or brush attachment on household vacuum cleaner if needed.
- Remove the air vent cover (L) (Fig. 3). Clean it in warm soapy water. Scrub with a sponge or soft brush if needed. Refit the air vent cover (L) after itis completely dry.

- Wipe the appliance dry after cleaning.
- Never use corrosive detergents, wire brushes, abrasive scourers, metal or sharp utensils to clean the appliance.
8.2 Storage
- Clean the appliance before storage.
- Remove batteries from the remote control (P) before storage.
- Wind the supply cord (N) neatly. Do not wrap the supply cord (N) around the appliance.
- Store the appliance in its original packaging in adry area. Keep away from children and pets.
8.3 Maintenance
Any other servicing than mentioned in this manual should be performed by a professional repair center.
Frequently Asked Questions
‘The appliance does not switch on. Checkif the plug is connected to the socket outlet. Use voltage tester to verify if the socket outlet is powered. The appliance has overheated. Allow the appliance to cool down and wipe any accumulated dust off the air outlet grille (K) or air vent cover (L) on the rear of the appliance. The appliance is not producing a sufficient amount of heat. Set to high power mode and set the thermostat to a higher temperature setting. Close all doors and windows to trap heat in the room. Use the swing function to allow the appliance to fully circulate heat throughout the room. The appliance is powered on but there is no heat. Room temperature has reached the set thermostat temperature. To further increase the room temperature, set the thermostat to a higher temperature setting. The time set on the timer has elapsed. Press () button (G) to start operating again. If the appliance recently had a bad fall, switch off and unplug the appliance. Have it checked by a professional repair center. The appliance emits burning smell. Keep electrical cords, drapery, and other furnishings at least 3 feet (0.9 m) away from the front of the appliance and away from the side and rear.
Battery Disposal
Do not dispose of used batteries with your household waste. Take them to an appropriate disposal/collection site.
To learn more about recycling batteries, visit: call2recycle.org/what-can-i-recycle
Feedback and Help
We would love to hear your feedback. To ensure we are providing the best customer experience possible, please consider writing a customer review.
Scan QR Code below with your phone camera or QR reader:
https://www.amazon.com/review/review-your-purchases/listing/?ref=HPB_UM_CR
If you need help with your Amazon Basics product, please use the website or number below.
amazon.com/gp/help/customer/contact-us
+1877-a85-0385




















