SWISHER L118-236001 Commercial Pro 44-Inch Country Cut Trail Cutter

LIMITED WARRANTY
The manufacturer’s warranty to the original consumer purchaser is: This product is free from defects in materials and workmanship for the period’s shown below beginning from the date of purchase by the original consumer purchaser. We will repair or replace, at our discretion, parts found to be defective due to materials or workmanship. This warranty is subject to the following limitations and exclusions:
As required by CFR § 1060.120, the fuel system related components, which have been certified to this equipment by SAI are to be free of defects in material and workmanship for a period of two (2) years from the date of purchase by the original consumer purchaser.
- Engine Warranty
All engines utilized on our products have a separate warranty extended to them by the individual engine manufacturer. Any engine service warranty is the responsibility of the engine manufacturer and in no way is Swisher or its agents responsible for the engine warranty. The Kawasaki Engine Service Hotline is 1-877-364-6404 or email
[email protected] - Commercial Use
This product has a 1yr Limited Commercial – 2 Year Limited Consumer on All Non-Engine Parts from the date of purchase. - Limitations
This warranty applies only to products, which have been properly assembled, adjusted, and operated in accordance with the instructions contained within this manual. This warranty does not apply to any product of Swisher that has been subject to alteration, misuse, abuse, improper assembly or installation, shipping damage, or to normal wear of the product. - Exclusions
Excluded from this warranty are normal wear, normal adjustments, and normal maintenance.
In the event you have a claim under this warranty, you must return the product to an authorized service dealer. All transportation charges, damage, or loss incurred during transportation of parts submitted for replacement or repair under this warranty shall be borne by the purchaser. Should you have any questions concerning this warranty, please contact us toll-free at 1-800-222-8183. The model number, serial number, date of purchase, and the name of the authorized Swisher dealer from whom you purchased the mower will be needed before any warranty claim can be processed.
THIS WARRANTY DOES NOT APPLY TO ANY INCIDENTAL OR CONSEQUENTIAL DAMAGES AND ANY IMPLIED WARRANTIES ARE LIMITED TO THE SAME TIME PERIODS STATED HEREIN FOR ALL EXPRESSED WARRANTIES. Some states do not allow the limitation of consequential damages or limitations on how long an implied warranty may last, so the above limitations or exclusions may not apply to you. This warranty gives you specific legal rights and you may have other rights, which vary from state-to-state. This is a limited warranty as defined by the Magnuson-Moss Act of 1975.
Thank you for choosing Swisher’s 44” Trail Cutter. Before operating your cutter, please read, understand and follow all of the safety precautions and other instructions explained in this manual. As with all power equipment, lawn mowers and cutters can be potentially dangerous if improperly used.
SAFETY PRECAUTIONS
This Safety Alert Symbol indicates important messages in this manual. When you see this symbol, carefully read the message that follows and be alert to the possibility of personal injury.
Read this manual completely. This machine can amputate hands and feet, and throw objects. Failure to observe the following safety instructions could result in serious injury or death.
- Read the manual. Learn to operate this ma誐cӬhine safely.
- Always disconnect the spark plug wire and place the wire where it cannot contact the spark plug, to prevent accidental starting the engine when setting up, transporting, adjusting or making repairs.
- Keep all shields and guards in place.
- Understand the speed, steering and stability of this machine. Know the positions and operations of all controls before you operate this machine. Check all of the controls in a safe area before starting to work with this machine.
- Allow only responsible adults who are familiar with these instructions to operate this machine. Never allow children to operate this machine.
- Clear the area of objects such as rocks, toys, wire, etc. that can be picked up and thrown by the blade.
- Be sure the area is clear of other people before mowing. Be aware of the cutters discharge direction and do not point at anyone. Stop the machine if anyone enters the cutting area. Children are often attracted to the machine and the mowing activity. Never assume that children will remain where you last saw them. Keep children under the watchful care of another responsible adult.
- No riders!
- Do not put hands or feet near or under rotating parts.
- Do not mow in reverse. Always look down and behind before and during backing.
- Turn off the blades when not cutting. Before leaving the machine, turn off the blades and stop the engine.
- Watch for traffic when operating near or crossing roadways.
- Do not operate the cutter if it has been dropped or damaged in any manner or if the mower vibrates excessively. Excessive vibration is an indication of damage.
- Repair cutter as necessary.
- Dress properly. Do not operate the cutter when barefoot or wearing open sandals. Wear only solid shoes with good traction when cutting.
- Never allow operation by untrained persons.
- Do not operate the machine while under the influence of alcohol or drugs.
- Do not operate on slopes greater than 15 degrees.
- Never tamper with safety devices. Check their proper operation regularly.
- Stop and inspect the equipment if you strike an object. Repair, if necessary, before restarting. Never make adjustments or repairs with the engine running.
- Cutter blades are sharp and can cut. Wrap the blades or wear gloves, and use extra caution when servicing them. Do not operate at too fast a rate.
ASSEMBLY
Tools Required:
Wrench/Socket: Qty. Size
- 1-1/8”
- 1-1/16”
- 15/16”
- 9/16”
Disengage spark plug wire and place where it cannot make a connection.
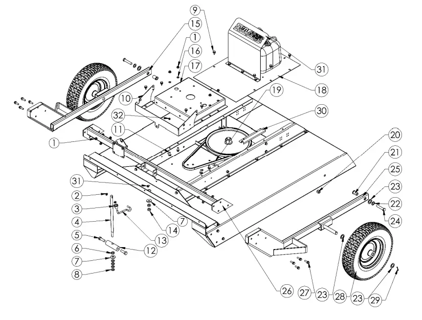
- Refer to Fig. 1 Attach hitch assembly parts to front of mower using 3/8-16 X 1¼ bolts and secure with 3/8-16 locknuts. Insert 3/4-10 x 4 ½” bolt through the bottom hole of the pivot assembly, (2) 3/4 washers, and hitch tube and secure with 3/4-10 nut. Tighten nut tight until tube is clamped tight, then back off 1/4 turn to allow tube to pivot.
- Insert 5/8-11 X 2 ½ bolt through the top of pivot assembly and top link and secure with 5/8-11 nut. Insert 5/8-11 x 2½ bolt through the tabs on the top of the Hitch bar and Top Link. Secure with a 5/8-11 lock nut.
- Place 2” Hitch Coupler on the end of the Hitch Bar. Align Holes with Hitch Bar and Coupler. Fasten using (2) 3/8-11 x 3 Bolts, (4) 3/8 Washers, and (2) 3/8-11 Locknuts. Tighten nuts securely.
- The hitch can be adjusted up or down to level the deck from front to back. (See figure 2 )

- Check engine oil. All engines are filled with oil at the factory. Verify oil level and add if necessary before starting engine. (See Engine Owner’s Manual)
- Verify fuel level and add if necessary before starting engine.
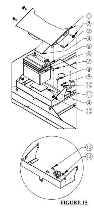
Electric Start Models (U1 battery not included):
- Check the battery. If the battery is put into service after the “month and year” of the date on the battery, it may need to be charged with a 12 volt battery charger for a minimum of 1 hour, but no more than 2 hours at a rate of 6 to 10 am
- Battery is located inside of the battery box. Secure battery with rubber strap provided. Connect strap hooks into holes in motor base. (See figure 14 )

- Attach battery cables to the battery, making sure to attach the red wire to the positive terminal first and the black wire to the negative terminal second.
- Reconnect spark plug wire.
- Refer to Owner’s Manual pg 5 for proper operating procedures.
OPERATING YOUR TRAIL CUTTER
- The operation of any mower can produce foreign objects to be thrown into the eyes, resulting in severe eye damage. Always wear certified safety glasses or wide-vision safety goggles over spectacles before starting any cutting machine and while operating such a machine.
- The operation of any mower produces sound waves that are damaging to the human ear. Ear protection is recommended.
- CAUTION! Tragic accidents can occur if the operator is not alert to the presence of children. Children are often attracted to the machine and the mowing activity. Never assume that children will remain where you last saw them.
INTENDED USE
The 44” Trail Cutter is designed to clear dense areas of grass and cut saplings up to 3” thick on meadows and small estates. It is not intended to create a finish cut on lawns. Your Trail Cutter should be towed behind an ATV, golf cart, lawn tractor or other approved vehicle. It is not recommended for speeds exceeding 5 MPH.
ATTACHING TRAIL CUTTER TO TOW VEHICLE
- Back vehicle up to desired towing position.
- Offset the Trail Cutter to the side opposite the tow vehicle discharge (if any). This prevents the tow vehicle from throwing grass into Trail Cutter engine.
- Using the 7365 2” ball coupler, connect the hitch to the vehicle your machine will be towed with. Once attached adjust the level of the mower by rotating the adjustment rod (See fig 2).

TRANSPORTING CUTTER
- Stop Trail Cutter.
- Place Trail Cutter deck in its highest position.
- When transporting without the use of a tow vehicle, remove spark plug wire and place it where it cannot contact the spark plug.
STOPPING THE ENGINE
- Make sure the tow vehicle parking brake is set.
- Disengage cutting blades.
- Reduce engine to idle speed and allow engine to run momentarily for cooling.
- Turn the key to the off position.
ENGAGING BLADES
Note: Do not attempt to start the unit with the PTO switch in the “ENGAGED” position.
- Engage blades by pulling out on the PTO switch.
- Push PTO switch in to disengage blades. See detail on figure – 10

- The braking system is applied when the blades become disengaged. It is designed to bring the blades to a quick stop (approximately 10 seconds). The electric clutch comes with an internal brake.
BREAKING IN YOUR CUTTER
- Set the vehicle parking brake and chock the wheels to prevent accidental rolling.
- While engine is running, engage the blade control.
- In a safe environment, (i.e. no children or pets) allow the blades to rotate and the engine to run at full throttle for 5 minutes, breaking in the belt for longer life.
- Disengage the blades and shut off the engine.
STARTING THE ENGINE
See engine manufacturer’s recommendations for the type and amount of oil and fuel used. Trail Cutters equipped with an electric start engine will need a battery (sold separately). Swisher recommends using a standard “U1” battery.
- Make sure the tow vehicle parking brake is set, mower is level, and blades are disengaged. Engine must be level to accurately check and fill oil. Do not overfill.
- Check spark plug wire, oil, and fuel.
- Check all electrical connections for buildup of debris.
- Set engine idle to “CHOKE” position.
- Turn key to the “RUN” position, then to the “START” position.
- Set engine idle at maximum RPM for best performance.
- Allow engine to run a few moments before engaging blades.
CAUTION: SHUT OFF THE CUTTER ENGINE AND REMOVE SPARK PLUG WIRE FROM SPARK PLUG BEFORE MAKING ANY ADJUSTMENTS TO THE CUTTER.
IMPORTANT: This engine is not equipped with a spark arrester muffler. It is a violation of California Public Resource Code Section 4442 to use or operate the engine on any forest-covered, brush-covered, or grass-covered land. Other states or federal areas may have similar laws.
CUTTER HEIGHT ADJUSTMENT
- There is approximately 4” of height adjustment.
- Rotate height adjust crank handle in a clockwise direction to lower the mower deck. Rotate counterclockwise to lift the mower deck.
- Dense areas should be cut twice.
- Push handle down to lock height position.
- Adjust the top link located on the front of the hitch to level the mower after adjusting the cutting height
TOW HITCH OFFSET
- If towing with a lawn tractor, offset the rough cut mower to the opposite side of the lawn tractor grass discharge.
- Swisher recommends if the tow vehicle is equipped with a mid-mount mower to overlap the cut approximately 6”. This may vary depending on mowing terrain, obstacles, and/or tow vehicle. Always keep safety the first priority.
STOPPING THE CUTTING SESSION
- Bring tow vehicle to a complete stop, set the parking brake and disengage blades.
- Turn key switch to the “OFF” position.
- Always remember to remove keys to avoid irresponsible usage.
SUGGESTED CUTTING PRACTICES
- Operate cutter engine at full throttle to assure the best cutting performance and maximum material discharge.
- Allow wet grass to dry. Wet grass will clump and collect under the mowing deck.
- Cutter should be started with tow vehicle in low gear and increased only as safe mowing conditions permit. Cutting speed should not exceed 5 MPH.
- Cutting conditions and the types of grass will vary from place to place. You may find when cutting dense areas that the pressure of the wheel tracks may cause the grass to be pushed down and not effectively mowed. If this happens you may want to mow the area twice. Once with the cutter raised and the second cutting at the desired height. The second cutting should be at a right angle from the previous for best results
- Reducing the travel speed will help cut dense growth. This allows the blades the time necessary to make its initial cut, and regain momentum to continue cutting. The engine may stall if you are mowing too fast!
- Do not attempt to cut areas that the tow vehicle cannot maneuver through and/or slopes that you do not feel comfortable riding.
CUTTER MAINTENANCE
GENERAL RECOMMENDATIONS
The warranty on this cutter does not cover items that have been subjected to operator abuse or negligence. To receive full value from the warranty, operator must maintain unit as instructed in this manual.
Some adjustments will need to be made periodically to maintain your unit properly. Refer to your engine manual for recommended fuel, oil, and service parts.
BEFORE EACH SEASON
A new spark plug and clean air filter assure proper air fuel mixture and help your engine run better and last longer.
- Replace the spark plug.
- Clean or replace the air filter.
- Check blades and belts for wear.
BEFORE EACH USE
- Check engine oil level. Do this twice to ensure an accurate reading.
- Check condition of air filter and clean or replace if necessary.
- Check blade operation.
- Check for loose fasteners.
- Lubricate threads of adjustment rod P/N 4006. See Fig 5 .

DAILY MAINTENANCE
Make sure all nuts and bolts are tight and cotter pins and retainer springs are secure. Keep blades sharp. Observe all safety precautions.
BLADE CARE AND SERVICE
For best results cutter blades must be kept sharp. The blades can be sharpened with a few strokes of a file or grinding wheel. Do Not attempt to sharpen while on the cutter.
Important: Replace blades that have been damaged or deeply nicked.
Important: Check blade and spindle hardware on a regular basis to make sure nuts are tight.
CAUTION: DO NOT HANDLE CUTTER BLADES WITH BARE HANDS. CARELESS OR IMPROPER HANDLING MAY RESULT IN SERIOUS INJURY.
GENERAL TROUBLESHOOTING
The unit is not cutting level.
- Level deck. Check air pressure of all tires; make sure they are equal. See tires for maximum inflation.
- Without the engine running, make certain blades are installed identically.
The engine will not start.
- Disengage blades, turn key switch to the “OFF” position, check battery and all other electrical connections and inspect spark plug and wire.
- Contact engine manufacturer or qualified mechanic.
Engine runs poorly.
- See engine manual.
- Check the throttle adjuster.
- Replace fuel, check fuel filter and fuel line.
- Check spark plug and gap.
Cutter bounces excessively while towing.
- Decrease tire pressure.
- Tow at a lower speed.
Caution: IF PROBLEMS PERSIST H㎠AӦVE A QUALIFIED MECHANIC SERVICE
THE CUTTER. NEVER ATTEMPT TO MAKE AN ADJUSTMENT THAT YOU ARE NOT SURE IS CORRECT. DOING SO CAN CAUSE OTHER PROBLEMS.
SAFETY AND OPERATIONAL DECALS
Replace decal immediately if damaged.

UNCRATING & SET-UP DIAGRAM

FRONT TO BACK ADJUSTMENT
For best cutting results, the cutter deck should be parallel to the ground. To check parallel adjustment, measure the distance from the bottom edge of the deck in both the front and rear of the deck. This adjustment is best done while the tow vehicle and Trail Cutter are connected.
FRONT SKIRT ASSEMBLY
HITCH ASSEMBLY
MOTOR BASE, WHEEL & HEIGHT ADJUSTMENT ASSEMBLIES
FIGURE 5
| Item # | Description | Part # |
| 1 | Nut – 5/16-18 Serrated Flange | NB170 |
| 2 | Nut, Push – 5/16 | NB117 |
| 3 | Knob Height Adjustment | H7K |
| 4 | Height Adjust Rod | 4006 |
| 5 | Bolt – 1/2-13 X 1 1/2 | 10046 |
| 6 | 1/2-13 Jam Nut | NB118 |
| 7 | Washer – Bellville, .512×1.26x .138 | 10291 |
| 8 | 1/2 NR Mach Bushing 14 GA | NB177 |
| 9 | Screw – .312-18 x .75 | 26X249 |
| 10 | Front Battery Cover | 21210* |
| 11 | Bolt – 5/16″ X 18 UNC X .75″ Flange Head | NB596 |
| 12 | Single Point Pivot Block | 4007* |
| 13 | Crank Rod | ES214 |
| 14 | 1/2-13 2-Way Jam Lock Nut | NB121 |
| 15 | Weldment – Axle Bar, Right | 10356* |
| 16 | Washer – Nylon 1/4 | NB194 |
| 17 | Motor Base | 20908* |

DECK ASSEMBLY
FIGURE 6
| Item # | Description | Part # |
| 1 | Deck – Weldment | 15727* |
| 2 | Screw – .312-18 x .75 | 26X249 |
| 3 | Side Gusset – Left | 15056* |
| 4 | Nut – 5/16-18 Serrated Flange | NB170 |
| 5 | Side Gusset – Right | 15057* |
| 6 | Z Bracket, Jack Support | 15055* |
| 7 | Front Rail/Deck Support | 15054* |
| 8 | Rail – RT44, Right | 17358* |
| 9 | Weldment – Blade Mount | 15058* |
| 10 | Rear Z Rail Brace – RT44 | 16371* |
| 11 | Rail – RT44, Left | 17357* |

BLADE DRIVER ASSEMBLY
FIGURE 7
ENGINE PULLEY/BELT ASSEMBLY

IDLER CONFIGURATION

CONSOLE ASSEMBLY
† Items 1, 2, 3 & 7 can be purchased as Key Switch Kit 21329.
Note: When mounting the console assembly it may be necessary to mount it directly to the hitch tube depending on the vehicle you are towing it with. Some vehicle configurations will allow the console to be mounted to the vehicle (i.e. ATV rack). Make sure the wiring harness is secure and will not drag the ground. Periodically check to make sure all hardware is tight and the wiring harness is secure. NEVER operate this machine without the wiring harness being secure.
REPAIR PARTS
Your 44’’ Trailcutter has been produced with components designed specific to this machine. Although standard V-belts, springs, bearings, blades, pulleys, hardware, etc. look similar to parts used on other machinery, they may in some cases be made of a different construction and/or materials. 
| Item # | Description | Part # |
| 1 | Bolt – Serr Flange 1/4-20 X 1 3/4 | 18236 |
| 2 | Cap – Fuel | 18221 |
| 3 | Bracket – Fuel Tank | 18225 |
| 4 | Fuel Tank – 2.5 Gallon | 18214 |
| 5 | Washer – SAE Flat 1/4 | NB274 |
| 6 | Nut – Nyloc 1/4-20 | NB180 |
| 7 | Cable Tie – Carbon Canister | 18219 |
| 8 | Carbon Canister – 2.50 Gallon | 18224 |
| 9 | Bolt – 10-24 X 3/4 | 024203 |
| 10 | Bracket – Carbon Canister | 17127 |
| 11 | Nut – 10-24 Nylon Lock | 024900 |
BATTERY HOLDER CONFIGURATION
Mower require a U1 battery (not included).

| Item # | Description | Part # |
| 1 | Guard – Battery Box Lid | 21211* |
| 2 | Bolt – Flange 5/16-18 | NB743 |
| 3 | Thumb Screw – 5/16-18 | 18802 |
| 4 | Rubber Pad | BATPAD |
| 5 | U1 Battery (not included) | N/A |
| 6 | Rubber Strap | AS013 |
| 7 | Strap Hook | AS049 |
| 8 | Screw – 5/16-18 | 26X249 |
| 9 | Nut – 5/16-18 Lock | NB181 |
| 10 | Washer – 5/16 Flat | NB275 |
| 11 | Guard – Battery Box Base | 21210* |
| 12 | Cage Nut – 5/16-18 | 21087 |
| 13 | Bolt – Thread Cutting 1/4-20 | NB114 |
| 14 | Solenoid Assembly 12 Volt | 1002004 |
| Not Shown | Battery Cable (10″ Red) | BCSR |
| Not Shown | Battery Cable Small Rubber Boot | BCBT |
BATTERY CABLE ASSEMBLY
Mower require a U1 battery (not included).
| Item # | Description | Part # |
| 1 | Cable – Black 10″ | BCS |
| 2 | Nut – M8 x 1.35 Zinc | NB718 |
| 3 | Bolt – HH M8 x 1.25 | NB719 |

RECOMMENDED HITCH CONFIGURATIONS AND POSITIONS

Suggested Guide For Sighting Slopes For Safe Operation

IMPORTANT: Read and follow all Safety Precautions and Instructions before operating this equipment.
44” COUNTRY CUT TRAIL CUTTER
Each mower has its own model number. Each engine has its own model number. The model number for the mower will be found on the right hand side of the motor mount. The model number for the engine will be found on the top of the valve cover.
All mower parts listed herein may be ordered directly from Swisher or your nearest Swisher dealer.
All engine parts may be ordered from the nearest dealer of the engine supplied with your mower.
WHEN ORDERING PARTS, PLEASE HAVE THE FOLLOWING INFORMATION AVAILABLE:
- PRODUCT – RC44’’ COUNTRY CUT TRAIL CUTTER
- SERIAL NUMBER – _______________
- MODEL NUMBER – _______________
- ENGINE MODEL NUMBER – _______________ TYPE – _______________
- PART NUMBER
- PART DESCRIPTION
TELEPHONE – 1-800-222-8183 FAX – 1-660-747-8650
SWISHER ACQUISITION INC. 1602 CORPORATE DRIVE WARRENSBURG, MO 64093
www.swisherinc.com





















