Instructions for Installation and Use

M 80 Wood Stove
Preface
Dear Customer,
Congratulations on your purchase of our solid fuel stove. You have made a good choice.
Because this product guarantees you:
- High Quality thanks to use of top quality, proven materials
- Safe Running thanks to mature technology which has been tested for strict adherence to German and European standards
- Long Life thanks to durable construction methods. This solid fuel stove provides you with a contemporary compact unit to provide your
- Cooking
- Baking and Roasting
- Heating
These stoves save energy, are environmentally friendly and really simple to use. You will find everything you need to know as well as some useful hints in this manual.
Please note that the stove must only be installed by a qualified professional, who will also be available to help you should you have any problems at a later date.
PLEASE NOTE:
When ordering replacement parts, the Article No. and Serial No. shown on the identification plate must be quoted.
Please see the heading “Fuel / Settings” for instructions on the maximum quantity of fuel and details of the maximum chimney draught (15 Pa).
If you put in too much fuel and/or the draught from the chimney is too strong, there is a risk of overheating, which can damage the stove and/or the oven thermometer. The oven thermometer goes up to a temperature of 350°C max.
The stove can only be used when the fuel door (fire door) is shut.
This door must only be opened when lighting, topping up fuel or cleaning the fire box.
The device at the rail, handle, control elements must not be increased. For The resulting deffects, and for deformity the producer do not offer garantie.
Any damage to the stove or the thermometer which has obviously been caused by overheating is not covered by the guarantee.
Installation
1.1 Safety measures
- The stoves are tested to DIN EN 12815 (see identification plate).
- For installation and for flue gas connections, the requirements of the Fire Regulations (FeuVO in Germany) apply, as well as local building regulations such as the following technical standards DIN 4705, DIN EN 13384, DIN 18160, DIN EN 1856-2 and DIN EN 15287. In order for the stove to function correctly the chimney to which you want to connect the stove must be in good condition.
- Before first use and before connecting to the chimney, you must read the Instructions for Use carefully and inform the local authority responsible for approving heating systems.
- While installing the stove you are recommended to wear clean cotton gloves, in order to avoid leaving fingerprints which can be difficult to remove afterwards.
- In the interests both of clean air, and of the safe functioning of the stove, the fuel quantities listed in the Instructions for Use should never be exceeded, and the doors of the stove must be shut during use to avoid the risk of overheating, which can lead to damage to the stove. Damage due to this cause is not covered by the guarantee.
- The stove doors must remain shut at all times while the stove is in use.
- Permitted fuels are: – Natural chopped firewood (up to 25-33 cm max. in length)
- Never use liquid fire starters. Use either special firelighters or wood shavings.
- Burning rubbish, fine chips, bark, coal slack, chips from planing, damp wood or wood treated with preservative, paper, cardboard or similar is not permitted.
- The first time the stove is heated there may be some smoke and an unpleasant smell. Make sure that the room is well ventilated (open windows and doors) and heat for at least an hour at the maximum nominal heat load. If the maximum temperature is not reached the first time the stove is heated, then there may be further unpleasant smells at a later date.
- All controls and settings must be used as indicated in the Instructions for Use. When the stove is hot, please handle only using the implements or protective gloves provided.
- If the stove is not working correctly, or if the chimney is not drawing properly, smoke may appear when the fire door is opened. It is very important to only open the fire door slowly, initially just a crack, then wait a few seconds before opening fully. In addition, before opening the fire door to top up the fuel, make sure that only glowing material is present: there must not be any visible flames.
- Do not place any flammable items in the warming drawer or on the surface of the stove.
- When in use, all surfaces and particularly the glass doors and handles and other controls can become very hot. Make children, young people, older people and animals aware of this danger, and keep them away from this source of heat when the stove is being used. Use the protective gloves or the implements provided.
- Children and young people under 16 must not use the stove unless supervised by an adult who is responsible for them.
- Make sure that the ash pan is always fully pushed in, until it touches the back. Never remove ashes while still hot (fire risk).
- In spring and autumn the chimney may no longer draw correctly, so that gases pro- duced by combustion are not completely removed. The fire chamber should then be filled with a small quantity of fuel, ideally with wood shavings, and lit under supervision, in order to stabilise the chimney draught. The grate must be clean.
- After each prolonged period of use for heating, have the stove checked by a professional. The flues and pipes for the evacuation of fumes must also be thoroughly cleaned.
- If repairs or replacements are necessary, please contact your supplier with the necessary article numbers and serial numbers in good time. Only original WAMSLER replacement parts may be used.
- Work such as installation, setup, commissioning and services, as well as repairs, must only be carried out by qualified personnel (heating system or space heating technicians). Intervention by non-qualified persons invalidates the warranty and guarantee.
- As the solid fuel oven/stove draws the air required for combustion from the surrounding room, you must ensure that sufficient air can be drawn in through nonsealed windows and outside doors. It can be assumed that is this is provided by a room volume of at least 4 m³ per kW nominal heat capacity. If the volume is less than this, then air vents can be used to provide access to further air in other rooms (min. 150 cm²).
- You must ensure that the correct safety distance is maintained from all flammable components and materials – to the side, rear and front. These distances can be found in the Instructions for Use or the identification plate.
- The fire chamber must not be modified.
- Connection to a chimney whose functional height is less than 4 m, or if multiple stoves are installed, 5 m, is not permitted. A maximum of two other fires can be connected to the chimney which is to be connected the stove.
- If the chimney catches fire immediately close all doors and openings and call the fire brigade. Do not attempt to extinguish the fire yourself. Afterwards have the chimney thoroughly checked out by a professional.
- Solid fuels naturally create soot, so it is always possible that the window glass will become dirty: this does not mean there is a malfunction.
1.2 Parts

Legende:
| 1. Primary air control 2. Cast iron plate 3. Flue gas connections 4. Start damper 5. Refractory clay layer in fire chamber 6. Ash pan | 7. Fuel trolley 8. Fire door 9. Oven door 10. Oven thermometer 11. Cleaning door cover 12. Switch of light (inside) |
Serienzubehör:
– Baking tray
– Fire iron
– Protective gloves
The nameplate is located on the fuel trolley No. 7
1.3 Instructions
For installation and for connection of flue, the requirements of the Fire Regulations (FeuVO in Germany) apply, as well as local building regulations such as the following technical standards DIN 4705, DIN EN 13384, DIN 18160, DIN EN 1856-2 and DIN EN 15287. In order for the stove to function correctly the chimney to which you want to connect the stove must be in good condition.
1.4 Surrounding space
The stove draws the air required for burning from the surrounding room. You must ensure that sufficient air can be drawn in through non-sealed windows and outside doors. In addition you must ensure that a room volume/heat capacity ratio of at least 4 m³ per kW nominal heat capacity is available. If the volume is less than this, then air vents can be used to provide access to further air supply in other rooms (connecting vents min. 150 cm²).
1.5 Air supply
A constant supply of oxygen or air is required for the combustion process. Normally the air available in the room where the stove is installed will be sufficient.
If the windows and doors are well insulated, if mechanical air extraction mechanisms are present (e.g. in a kitchen or bathroom) or if there are other sources of fire (including gas boilers) in the home, then the supply of available air can be significantly impacted. If this is the case, the option exists to draw in air for burning directly from outdoors or from another, well-ventilated room (e.g. a cellar).
The stoves provide a built-in air supply opening in the base, Ø 80 mm.
For the air supply you must use only smooth pipes with a minimum diameter of 80 mm. A shutoff valve must be placed in the air supply close to the stove, which must be installed professionally, at the bends there must be inspection openings for the local authority responsible for approving heating systems and it must be professionally sealed against condensation. The pipe must not be longer than 4 m and must not have more than 3 bends. If the pipe exits out-of-doors, then it must have appropriate wind protection and be covered by a mesh.
NOTE: In the room where the stove is installed or in the neighbouring rooms there must not be any air extractors or similar equipment. These could cause considerable operating problems and even represent a risk. Consult the local authority responsible for approving heating systems.
NOTE: The room where the stove is to be installed must not have equipment such as extractor hoods, ventilation systems etc. which could mean that that room or neighbouring rooms have reduced air pressure.
Important NOTES relevant to operation dependent on air supply from room or independent of air supply from room (valid for Germany):
- The stoves have been tested under DIN EN 12815 as cookers relying on air supply from room. The stoves take in all the air required for combustion via the central air intake from the surrounding room. This intake can have an external enclosed air supply attached to it. Even with this sealed air supply the stoves do not meet the requirements for operation independent of the air supply from the room.
- If used in combination with air management systems (e.g. controlled air supply and evacuation systems, steam extractors or similar) then in Germany Part 4 of FireRegulations (FeuVO) apply. These determine among other things, that the stove and the air management systems must be jointly managed (e.g. using a differential pressure monitor) or an air supply system must be installed, which is approved for use with solid fuel stoves and which supplies the room where it is installed with sufficient additional air (approx. 25 m³/h) for the combustion in the fire box.
- You must always comply – in consultation with the local authority responsible for approving heating systems – with the local rules and regulations. We cannot accept any responsibility for changes subsequent to the publication of this instruction manual. We reserve the right to make changes.
1.6 Electrical connections
The stoves have an electrical connection for the oven light. The connecting cable is at the back of the oven. This connection must be attached by a trained electrician according to current standards! It requires a 230V AC current.
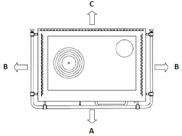
1.7 Safe distances
The following distances must be respected as safety margins from flammable objects and bearing walls made of reinforced concrete and partition walls made from flammable materials or covered in flammable materials:
Beneath the hob plate (from the top of the stove to the floor)
A ≥ 600 mm B ≥ 25 mm C ≥ 80 mm*
Above the hob plate (radiation area of the hob plate)
A ≥ 600 mm B ≥ 600 mm C ≥ 80 mm*
* When using an 80 mm thick, refractory calcium silicate board, the distance can be reduced to 0 mm
Any flammable items attached above the stove must kept at a suitable distance. The minimum distance is 800 mm.

Floor in front of the stove
Floors made of flammable substances, such as e.g. carpets, parquet, laminate, plastics or cork, must be replaced or covered by a non-flammable substance e.g. ceramic, stone, glass or a steel floor-plate for a distance of 500 mm forwards and 300 mm sideways.
1.8 Chimney attachment
The connection for attaching to the chimney must be able to withstand at least 400°C.
PLEASE NOTE:
Before connecting the stove the local authority responsible for approving heating systems must be consulted!
Connection pieces must be firmly connected to the stove and to each other and must not leak. They must not project into the open diameter of the chimney. The connection piece between the stove and the chimney must have the same diameter as the pipe socket on the stove. Horizontal connection pieces of over 0.5 m must rise towards the chimney at an angle of 10 degrees. Any pipes which are not heat insulated or vertical must not be longer than 1 metre.
The requirements of the Fire Regulations (FeuVO) apply, as well as local building regulations such as for the chimney standards DIN 4705, DIN EN 13384, DIN 18160 and DIN EN 15287.
Connection pieces must be tested to DIN EN 1856-2. Measurement
X (distance from flammable construction and other materials) must be as defined by the manufacturer of the connection piece. 
PLEASE NOTE:
Fitting to a chimney with a functional height of less than 4 m, or if several stoves are being fitted, less than 5 m, is not permitted. (See: Data for chimney calculations / Chapter 4.) A maximum of two other fires can be connected to the chimney to be connected to the stove.
For safety reasons it is not permitted to use a steam extractor hood to remove air when the stove is producing heat.
1.9 Choice of flue gas connection placement
The flue outlet is attached to the top of the stove as standard. If a connection to the backside, then the unused connection must be closed off.
Action in case of chimney fire!
If a chimney is not cleaned often enough, or if the wrong type of fuel is used (e.g. damp wood) or the air flow is maladjusted the chimney may catch fire. In this case close the air supply to the fire chamber and call the fire brigade.
Never try to extinguish it yourself using water!
Fuels / Settings
2.1 Fuels
Low smoke, trouble-free operation of the stove and a supply of heat at the nominal level with a chimney draught of 12 Pa are only guaranteed when you use the following fuels and no others.
Only use natural, dry chopped firewood with a remaining humidity of max. 20%.
| Type of fuel | Heating value appr. kWh/kg |
| Lignite briquettes Hardwood | 5,3 – 5,5 4,0 – 4,2 |
Non-permitted fuels include:
Rubbish, fine chips, pellets, bark, chips from planing, coal slack, damp wood or wood treated with preservative, paper, cardboard or similar. For lighting use wood shavings or
barbecue lighters. Never use liquid fire starters!
PLEASE NOTE:
The first time the stove is heated there may be some smoke and an unpleasant smell. Make sure that the room is well ventilated (open windows and doors) and heat for at least an hour at the maximum nominal heat load. If the maximum temperature is not reached the first time the stove is heated, then there may be further unpleasant smells at a later date.
Maximum fuel quantities per load
M80 / M90 | |
| Firewood | 1.7 kg (1 – 2 small logs) |
Table 1

NWL wood logs max. 1.7 kg, approx. 1-2 small billets per filling, Cross wood during the lighting process, log length max. 25-33cm possible Ø 5 – 12 cm, always split round pieces, max.1.7 kg/h Wood briquette according to DIN 51731 max. 1.2 kg, if necessary shred
2.2 Combustion airflow settings
The settings must always be as shown.
| Fuel | Primary airflow set- ting | Start damper setting | Combus- tion dura- tion in hrs | |
| Lighting | OPEN | OPEN | – | |
| Firewood | Nominal heat load | MIDDLE/ CLOSE | CLOSE | approx. 1 |
| Not in use: do not add any more fuel | CLOSE | CLOSE | – | |
Table 2
Use
3.1 Controls for use and settings
3.1.1 Primary air control
The rate of combustion and therefore the heat delivered by the stove are determined by the amount of air for combustion air flowing under the grid. This primary air supply is set using the performance regulator control.
Fast combustion: primary air lever open (all the way to the right) Slow combustion: primary air lever closed (all the way to the left)
3.1.2 Start damper
For lighting the stove the start damper must be open and when cooking or heating it must be closed.
Pull out the heating flap: Open, starting
Heating flap pushed in: closed (cooking, baking, roasting, heating)
PLEASE NOTE
Leaving the start damper open when heating will cause the stove to overheat which will damage the stove and its parts. In addition leaving the start damper open will increase fuel consumption.
3.1.3 Ash pan
- The ash pan is underneath the fire chamber. It must be checked and emptied regularly.
- Emptying the ash pan must be done when the stove is cold. Please ensure that no glowing or burning pieces of wood remain. Please make sure that no glowing, unburned remains end up in the dustbin.
- Always remember to put the ash pan back in its place. Forgetting to do this makes use of the stove dangerous.
- You must ensure that the ash pan is pushed in until it touches the rear wall.
3.1.4 Implement drawer / Fuel trolly
This storage drawer is at the base of the stove and is large enough to hold the various implements needed during use of the stove. The maximum load it can hold is 10 kg. Heavier items can cause damage to the storage drawer.
PLEASE NOTE:
Make sure that the lower trolley is always locked when adding fuel or when opening the boiler and ash door. Fire hazard!
It is absolutely forbidden to store easily flammable materials in this drawer, such as alcohol, petrol, liquid fuels, paints or varnishes, lighters, paper etc.
3.1.5 Oven lighting
The ovens are equipped with an oven light.
The switch is on the side behind the implement drawer.
In order to use it you need to open the implement drawer.
3.2 Lighting
The performance control is set depending on the type of fuel as a function of the chimney draught and the desired heating level. With firewood and particularly with oftwood, only a limited heating period is possible. Lignite briquettes are much better suited to burning overnight, if they are placed on top of a layer of glowing embers.
Heating / using for the first time
- Before using make sure any fixings for transport are removed from the deflection plate over the fire chamber and remove any stickers on the glass window, making sure no traces remain.
Open the fire door by lifting the catch. When the stove is hot use a protective glove to do this. Set the primary air settings as shown in Table 2 “Combustion air flow ettings”. Open the start damper. Place a starter briquette or some wood shavings on the grid. Then add some smaller, then larger pieces of wood light it and shut the fire chamber door. Once the fire is burning strongly and there is a sufficient base of embers, add more fuel and shut the start damper off.
The first time the stove is lit it should be done “gently”, with a small amount of fuel, to allow the stove parts to get used to the heat. The first time the stove is heated there may be some smoke and an unpleasant smell. Make sure that the room is well ventilated (open windows and doors) and heat for at least an hour at the maximum nominal heat load. If the maximum temperature is not reached the first time the stove is heated, then there may be further unpleasant smells at a later date. Never throw pieces of fuel into the fire chamber, but place them, as otherwise the lining may be damaged.
The loading door (fire door) must always be kept shut when the stove is in use. It may only be opened when lighting, filling up or cleaning the fire chamber.
PLEASE NOTE: If not working correctly, or if the chimney is not drawing properly, smoke may appear when the fire door is opened. It is very important to only open the fire door slowly, initially just a crack, then wait a few seconds before opening fully. In addi- tion, before opening the fire door to top up the fuel, make sure that only glowing material is present: there must not be any visible flames.
3.3 Cooking and heating
Whenever the stove is being used for cooking or heating the start damper must be kept shut. For optimum cooking on the hob plate you are recommended to use pans with a flat base. The hottest area is in the centre of the plate, so this is the best area to use to heat up a pan quickly. The edges of the plate can be used to keep food warm. To get a faster heating up time (to boiling point) we recommend using thinly chopped softwood.
The hob plate must not be overheated as this will damage the stove but not help in any way with cooking.
3.4 Roasting and baking in the oven
The stove is equipped with an oven made of stainless steel with telescopic pull-out shelves. The oven has a glass door in which there is a thermometer. The temperature displayed should only be used as an indication when baking and roasting. In addition the oven is supplied as standard with a roasting grid and a baking tray. Please observe the following NOTES:
Check that the start damper has been shut for at least 60 minutes. This ensures an even temperature throughout the oven. Only put in enough fuel to reach the desired temperature. This temperature can then be maintained by adding small amounts of fuel during the roasting period. After half the roasting time take the baking tray out of the oven and turn over the roast, and replace in oven. This will ensure you get evenly roasted or baked goods.
3.5 Closing down
Close the primary air regulator (Table 2). Let the embers burn out and leave the stove to cool down. Once the stove is cold, empty and clean out the fire chamber and ash pan!
3.6 Notes on heating
A properly adjusted secondary air flow ensures that any combustible elements in the flue gases are burned off. This means they are burned in a way which reduces the smoke and soot released into the environment. it is always possible that the window glass will become dirty and this does not mean there is a malfunction.
If you use your stove in the spring or autumn, you must check the draw of your chimney first, as if the outside temperatures are high this can drop off substantially. To do this hold a burning match in the fire door when it is partially opened. If the flame is not clearly drawn inwards, then you first need to light a starter fire. Do this by briefly burning some wood shavings in the stove or the cleaning opening of the chimney itself.
The grid must be cleaned before placing any fuel on it, in order to ensure a good supply of air to the burning material. The ash pan must be emptied regularly, when it is cold. If the stove is still hot, use the gloves provided. Please make sure that no glowing embers are put into your dustbin.
Take care that the ash pan is pushed in until it touches the rear wall.
PLEASE NOTE:
In the interests of clean air and safe functioning of the stove do not exceed the maximum quantities of fuel. Otherwise there is a risk of overheating, which can damage the stove. Damage of this kind is not covered by the guarantee. Reduced heating should only be achieved by reducing the quantity of fuel, never by reducing the primary airflow.
3.7 Care and cleaning
3.7.1 Cooker
After opening the fire door the grid must be cleaned using the soot scraper and the fire iron before adding fuel.
The ash pan should be emptied daily. The grid should be scraped clean of cinders at least every third day.
By using/managing and caring for/cleaning your stove properly you enhance its value and prolong its useful life. You save valuable resources and spare both the environment and your wallet. The heating plates should be removed for cleaning and cleaned free from soot.
By removing the heating plates the flue gas channel and the flue pipe inside the stove can also be cleaned. By loosening the screw of the cleaning cover under the oven the lower part of the flue gas channel around the oven can also be cleaned.
After finishing cleaning, the heating plates must be replaced correctly. The cleaning cover under the oven needs to be closed tightly again.
PLEASE NOTE:
After every period of heating you should check the stove thoroughly. If repairs or replacements are necessary, please contact your supplier with the necessary article numbers and serial number in good time.
3.7.2 Varnished and enamel surfaces
Only wipe down the external surfaces when the stove is cold. Varnished surfaces should only be washed with plain water (do not scrub). Enamel surfaces in special cases can be cleaned with soapsuds or a bit of washing-up liquid and then wiped dry.
NOTE: Never use sponges, scouring products or any other chemical or abrasive cleaning products!
3.7.3 Ceramic glass surfaces
Clean the window and/or Ceran plate before first use with a clean damp cloth. Then rub a few drops of a ceramic glass protection product onto the glass / Ceran plate with a paper towel.
After wiping this and polishing it dry, the high quality surface is now covered with an invisible film. The helps to keep the glass pane /Ceran plate clean and if repeated regularly, makes it easy to clean.
3.7.4 Sheet steel
The steel sheet parts must be rubbed over with an acid-free sheet steel care product when at blood temperature. Cleaning is then done when the stove is cold.
The special steel plates which radiate heat need to be taken care of regularly after each time you cook. After any use which causes dampness or dirt to collect on the plate, you must clean it. The hob plate should be cleaned when it is still lukewarm, which allows any remaining water to evaporate and so prevents rust forming. Take care that you do not use water to clean the stove when it is cold.
Expansion joints in the steel hob plate must always be cleaned free of adhesions, to avoid deforming the steel hob plate and the side panels. If necessary the edge of the cover should also be cleaned of any adhesions.
3.7.5 Changing the light bulb
The light bulb in the oven is exposed to high temperatures. Although it is a special kind of bulb, it can still burn out in time. You just need to replace it with the same type of bulb (15 W – 240 V – 300°C).
Before changing it make sure that the stove is not in use, that it is cold and that the bulb has not been switched on. Unplug the electrical cable and check that there is no current present. To change the bulb, remove the protective cover, change the bulb and replace the bulb protector.
PLEASE NOTE:
Before opening the bulb protector, disconnect the stove from the mains!
Work such as installation, setup, commissioning and servicing, as well as repairs, must only be carried out by qualified personnel (heating system or space heating technicians). Intervention by non-qualified persons invalidates the warranty and guarantee.
3.8 Troubleshooting
Your stove has been built using modern technology.
Even so, problems can arise, which may derive from the chimney, the fuel or the flue pipe system. There may briefly be smoke and an unpleasant smell the first time you use the stove: this is normal. Make sure the room is sufficiently well ventilated.
| PROBLEM | CAUSE | SOLUTION |
| Pane of glass in the fire chamber is cov- ered in soot and/or the fire chamber is dirty and black from smoke | Not enough chimney draught < 10 Pa Too high chimney draught (temporarily max. 18 Pa al- lowed) | Check whether piece is blocked the connection |
| Change the connection: more draught with a suitable throttle damper or improve the insulation | ||
| Wrong settings | See the sections “Fuel”on “Use” and | |
| Too much fuel | Reduce the fuel quantity | |
| Fuel with too high relative hu- midity | Let damp wood dry out before burn- ing | |
| Unsuitable fuel | Look up section on “Fuels” | |
| No regular draught | Chimney draught not suitable or chimney dirty | Chimney sweep |
| Dirt inside stove or pipes | Cleaning | |
| Emission of too much black smoke | Lighting/Running the stove with wood which is too green | Use better quality wood which has been stored to dry |
| Flue channel partly blocked | Call a qualified technician | |
| Smoke coming out of stove | Fire chamber door is open | Shut the door |
| Not enough draught | Get the chimney inspected by local heating authority | |
| Incorrect settings | Look up sections “Use” and “Fuel”. | |
| Dirt in stove | Clean stove and the pieces con- necting to the chimney |
Table 3
Technical data
4.1 Data
| Model number | M80 / M90 |
| Nominal heat load | 6 kW |
| Space heating ability in m³ in favourable / less favourable / unfavourable conditions according to DIN 18893/TABLE. 2 Short-term heating | 144 84 58 |
| Exhaust gas for fuel: Exhaust gas mass Exhaust gas connector temperature Flow pressure at nominal heat load Particles / dust (based on 13% O2) CO (based on 13% O2) OGC (based on 13% O2) NOx (based on 13% O2) Efficiency | Firewood / Lignite 7.0 g/s 195˚C 12 Pa ≤ 40 mg/m³ ≤ 0.10 % ≤ 1250 mg/Nm3 ≤ 120 mg/Nm3 ≤ 150 mg/Nm3 ≥ 81 % |
| Mains current Bulb | 230 V AC 15 W |
All information provided by the exhaust gas values are based on the EN 12815 under stationary laboratory conditions. We reserve the right to make changes which relate to technical advances and / or to an improvement in quality. We accept no liability for printing errors and changes which occur after printing.
4.2 Dimensions
The dimension information shown is only for information! We reserve the right to make changes to the construction if these improve the technical level or the quality!
Wamsler Haus- und Küchentechnik GmbH • Adalperostraße 86 •
• D-85737 Ismaning •
Tel. +49 (0)89 / 320 84-0 • Fax +49 (0)89 / 320 84-238
[email protected] • www.wamsler.eu
© Wamsler Haus- und Küchentechnik GmbH, 85737 Ismaning.
Alle Rechte und Änderungen
vorbehalten.
Ausgabe 12.2021

















