User’s manual
Portable Air Conditioner With Wifi![]()
Model 293065 08,000 BTU, Cool Only, Wifi Enabled, 115V![]()
Model 292850 10,000 BTU, Cool Only, Wifi Enabled, 115V![]()
Model 292851 12,000 BTU, Cool Only, Wifi Enabled, 115V![]()
Model 293066 14,000 BTU, Cool Only, Wifi Enabled,115V![]()
Model 292852 14,000 BTU, Cool with Heat, Wifi Enabled,115V![]()

WARNING
Read all instructions before use. To reduce the risk of fire, electric shock, or injury to persons when using this appliance, follow the following precautions:
- Two people are recommended to lift and install the unit.
- Remove all packing materials from the air conditioner before use.
- Make sure the air conditioner is the correct size for the area you wish to cool.
- Install the air conditioner on a sturdy, level floor capable of supporting up to 110 lbs. Installation on a weak or unleveled floor can result in the risk of property damage and/or personal injury.
- DO NOT operate air conditioner without the filter securely in place. Operation without the filter could damage the unit.
- DO NOT position the air conditioner so that pets or house plants are exposed to the direct airflow.
- DO NOT attempt to repair or replace any part of your air conditioner unless it is specifically recommended in this manual. All other services should be referred to a qualified technician.
- DO NOT use if the power cord is worn or damaged.
Power cords should only be replaced by qualified service technicians using genuine replacement parts. - ALWAYS Plug the air conditioner firmly and completely into its own grounded circuit.
- DO NOT plug other appliances into the same outlet.
- DO NOT disassemble or modify the air conditioner or the power cord.
- DO NOT place the unit or its power cord near a heater, radiator, or another heat source.
- DO NOT use unit near flammable gases/liquids or other combustible substances; such as gasoline, benzene, thinner, etc.
- ALWAYS grasp the plug when plugging in or unplugging the air conditioner. Never unplug by pulling on the cord.
- DO NOT start or stop operation by plugging in or unplugging the power cord.
- DO NOT use the air conditioner if it is emitting smoke or an unusual order, unplug it immediately.
- DO NOT operate with wet hands or in a damp environment.
- DO NOT clean with water. Water can enter the unit and damage the insulation, creating a shock hazard. If water enters the unit, unplug immediately and contact Global Industrial Customer Service.
- Use caution when removing or reinstalling the filter.
- DO NOT block the air inlet or outlet of the air conditioner.
Reduced airflow will result in poor performance and could damage the unit. - ALWAYS turn off and unplug the air conditioner when it will not be used for an extended period of time. This conserves energy and reduces the chance or accidents.
- Secure the wheels with wheel locks to prevent the air conditioner from rolling on smooth floors.
- Close all doors and windows to the room for the most efficient operation.
- To prevent damage to the surface finish, use only a soft cloth to clean the air conditioner. Do not use solvents, or any strong detergent to clean.
- Dispose of the water from the drain pan properly outdoors or down a drain.
- Clean the filter every two weeks, or more often if needed.
DANGER
ELECTRICAL SHOCK HAZARD
To reduce the risk of fire, electric shock, injury, or possible death, please follow the following precautions:
- DO NOT use an extension cord.
- This unit must be properly grounded.
- DO NOT cut or remove the ground prong on the plug.
- If there is any doubt that the outlet is not properly grounded, a qualified electrician should check the outlet and circuit, and install a properly grounded outlet if necessary.
- The air conditioner must be plugged into a grounded 60 Hz, 115V AC outlet protected by a 15 amp time-delay fuse or circuit breaker.
- This air conditioner must be installed in accordance with local and national wiring codes.
IMPORTANT – GROUNDING METHOD
Electrical Safety
For additional safety, the power cord features an integrated circuit breaker. Test and reset buttons are provided on the plug case.
The circuit breaker should be tested periodically by pressing the TEST button. If it does not cause the circuit breaker to trip, or if the RESET button will not stay engaged, unplug the air conditioner immediately and contact your service technician.
Due to potential safety hazards, the use of an adapter plug is strongly discouraged.
To prevent damage to the adapter’s ground terminal, hold the adapter in place while plugging in or unplugging the air conditioner.
Attaching the adapter ground terminal to the wall receptacle cover the screw does not ground the appliance unless the cover screw is metal and not insulated, and the wall receptacle is grounded through the house wiring.
Frequent connection and disconnection can damage the ground terminal on the adapter. Never use a broken or damaged adapter.
ELECTRICAL CONNECTIONS
Before plugging the appliance into the main outlet, check that:
- The main power supply corresponds to the recommended electrical requirements indicated on the rating plate on the back of the appliance.
- The power outlet and electrical circuit are adequate for the appliance.
- The main outlet matches the plug. If this is not the case, have the plug replaced.
- The main outlet is adequately grounded. Failure to follow these important safety instructions absolves the manufacturer of all liability.
Important information for correct disposal of the product in accordance with EC Directive 2012/19/EU:
At the end of its working life, the product must not be disposed of as urban waste. It must be taken to a local authority waste collection center or to a dealer providing this service. Appropriate disposal of a household appliance prevents possible environmental and health concerns and enables the constituent materials to be recovered to obtain significant savings in energy and resources. As a reminder of the need to dispose of household appliances separately, the product is marked with a crossed-out wheeled dustbin.
DESCRIPTION OF PARTS

| 1. Deflector 2. Control Panel 3. Handle (Both sides) 4. Casters 5. Power Cable | 6. Intake Grille 7. Air Outlet Grille 8. Intake Grille 9. Condenser Drain 10. Continuous Drain 11. Continuous Drain Outlet |
ACCESSORIES
| Parts | Part Name | Quantity |
![]() | Exhaust Hose Hose Outlet Hose Inlet | 1 Set (A) Model 292851 Model 292852 |
![]() | Exhaust Hose Hose Outlet Hose Inlet | 1 Set (B) Model 292850 |
![]() | Window Slider Kit | 1 Set |
![]() | Remote Control/Battery | 1 Set |
Note: all the illustrations in this manual are for explanatory purposes only. Your appliance may be slightly different.
INSTALLATION INSTRUCTIONS
Exhausting Hot Air
In the Cool Mode, the appliance must be placed close to a window or opening so that the warm exhaust air can be ducted outside. First, position unit on a flat floor and make sure there’s a minimum of 18″ (45cm) clearance around the unit, and is within the vicinity of a single circuit outlet power source.
- Extend either side of the hose (Fig.1) and screw onto the hose (Fig.2).
- Extend the other side of the hose and screw it to the hose outlet (Fig.3).
- Install the hose inlet into the unit (Fig.4).
- Affix the hose outlet into the window slider kit and seal. (Fig.5 & 6).


Your window slider kit has been designed to fit most standard vertical and horizontal window applications. However, it may be necessary for you to modify some aspects of the installation procedures for certain types of windows. The window slider kit can be fastened with screws.
NOTE: If the window opening is less than the minimum length of the window slider kit, cut the end without the hole in it short enough to fit in the window opening. Never cut the window kit attachment piece with the vent hose hole in it.

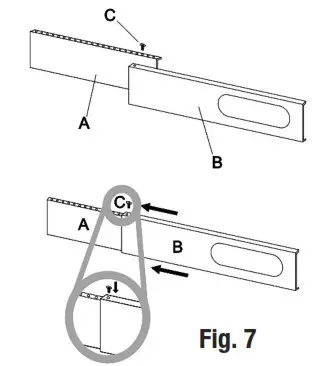
Window Slider Kit Installation
- Parts:
A. Panel
B. Panel with one hole
C. Screw to lock window kit in place - Assembly: Slide Panel B into Panel A and size to window width. Window sizes vary. When sizing the window width be sure that the window kit assembly is free from gaps and/or air pockets when taking measurements.
- Lock the screw into the holes that correspond with the width that your window requires to ensure that there are no gaps or air pockets in the window kit assembly after installation.
- Use the provided foam window kit sealer to close any gaps or air pockets.


- Cut the foam seal (adhesive type) to the proper length and attach it to the window sash.
- Attach the window slider kit to the window sash. Adjust the length of the window slider kit according to the width of the window. If necessary, mark the kit and cut one end down to properly fit the window.
- Cut the foam seal (adhesive type) to the proper length and attach it on the top of the window.
- Close the window securely against the window slider kit.
- Secure the window slider kit to the window sash.
- Cut the foam seal to an appropriate length and seal the open gap between the top window frame and the outer window frame.
LOCATION
- The unit should be placed on a firm foundation to minimize noise and vibration.
For safe and secure positioning, place the unit on a smooth, level floor strong enough to support the unit. - The unit has casters to aid placement, but it should only be rolled on smooth, flat surfaces. Use caution when rolling on carpeted surfaces. Use caution and protect floors when rolling over wood floors. Do not attempt to roll the unit over objects.
- The unit must be placed within reach of a properly rated grounded socket.
- Never place any obstacles around the air inlet or outlet of the unit.
- Allow at least 17.5″ (45cm) of space away from the wall for efficient air conditioning.
- The hose can be extended, but it is best to keep the length to a minimum of 15.7″ (40cm). Also, make sure that the hose does not have any sharp bends or sags.

THE DISPLAY SCREEN

Turning the appliance on
Plug the air conditioner into an electrical outlet.

Press the
button to turn on the appliance. The last function active when it was turned off will appear.
Never turn the appliance off by unplugging the power cord. Always press the
button, then wait a few minutes before unplugging. This allows the appliance to perform a cycle of checks to verify operation.
Cool Mode

Ideal for hot, muggy weather when you need to cool and dehumidify the room. To set this mode correctly:
- Press the
button several times until the Cool symbol appears. - Select the desired temperature 64°F-90°F (18°C-32°C) by pressing the
or
button until the corresponding value is displayed. - Select the required fan speed by pressing the
button. four-speed settings are available: High/Medium/Low/Auto.
The most suitable temperature for the room during the summer varies from 70°F to 76°F (21°C to 24°C). The fan speed difference is more noticeable when the appliance is under Fan mode but may not be noticeable under Cool mode.
Heat Mode
Model 292852 Only
Only the heat pump model has this function.
To set this mode correctly:
- Press the
button until the Heat symbol illuminates. - Select the target temperature 55°F-81°F (13°C-27°C) by pressing the
or
button until the corresponding value is displayed. - Select the required fan speed by pressing the
button. four-speed settings are available: High/Medium/Low/Auto. - The unit features a self-evaporating system, and under normal operating conditions, should not require having the tank emptied.
- Under prolonged/high humidity conditions, you may be required to empty the tank.
- When the tank is full, the appliance shuts down and
(full tank) appears on the display. The tank cap must be removed and emptied. Let all of the water in the basin drain out. When all of the water has been drained, the air conditioner will start again.
Note: When operating in very cold rooms, the appliance will defrost automatically, interrupting normal operation.
appears on the display. During this operation, it is normal for the air conditioner to make noise as it’s defrosting. In this mode, you may have to wait a minute before the appliance starts releasing hot air. In this mode, the fan may operate for short periods even though the set temperature has been reached.
Fan Mode

When using the appliance in this mode, the air hose does not need to be attached.
- Press the
button until the Fan symbol illuminates. - Select the required fan speed by pressing the button. Three-speed settings are available: High
/Medium
/
Low.
The screen will display for high speed, medium speed, for low speed.
Dry Mode (dehumidifier only mode)

Ideal to reduce room humidity (spring and autumn, damp rooms, rainy periods, etc). In dry mode, the appliance should be installed in the same way as the cool mode, with the air exhaust hose attached to enable moist/humid air to be vented outside. To set this mode correctly:
- Press the
button until the Dry symbol illuminates. The screen will display dh. - In this mode, fan speed is selected automatically by the appliance and cannot be set manually.
During the DRY mode, you will need a garden hose (sold separately) or drainage hose to drain the condensate from the unit. (Dry Mode continues on the next page).
Follow these steps:
- Unscrew the drain cap of the continuous drain outlet (Fig.17).
- Connect one end of the garden hose (sold separately) or drainage hose (not supplied) to the drain outlet then lead the other end into a drain that is lower than the unit (Fig.18).
- During Cool mode, it is recommended to disable continuous drainage by replacing the drain cap to the drain outlet, to reach maximum performance.
Note:
- Condensate may flow out after removing the drain cap if the unit is running in Cool mode. When you want to remove the garden hose, prepare a drip tray (not supplied) to collect the condensate from the drain outlet.
- Please be sure that the height of the drain and section of the drain hose is not higher than that of the drain outlet, or the continuous drainage may not work properly. (Fig. 19 & Fig. 20).

Auto Mode

The appliance chooses automatically whether to operate in cool, fan or heat mode (certain models have heat mode). To set this mode correctly:
- Press the
button several times until the unit screen displays the image above. It is in AUTO mode when the illuminated light on the display is circulating. - Select the required fan speed by pressing the
button. Four-speed settings are available: High / Medium / Low / Auto.
If the appliance is a cooling-only model, the unit operates in Fan mode when the room temperature is below 73°F (23°C) and in Cool mode when the room temperature is above 73°F (23°C). If the unit is a heat-cool model, the unit operates in Heat mode when the room temperature is 68°F (20°C). Fan mode will operate when the room temperature is from 68°F to 73°F (20°C to 23°C), and Cool mode will operate when the room temperature is above 73°F (23°C).
Setting the Timer
This timer can be used to delay the appliance startup or shutdown. This avoids wasting electricity by optimizing the unit’s operation.
Programming startup
Turn on the appliance and choose the model you want. For example Cool; 75°F; High fan speed. Turn off the appliance.
- Press the
button and the screen will display 1-24 hours. - Press the
button several times until the desired time is displayed. Wait for 5 seconds, the timer will be active and the Timer symbol will be displayed on the screen. - Press the
button again or the
button and the timer will be canceled. (See fig. 13, page 5).
Programming shut down
Turn on the appliance and choose the model you want. For example Cool; 75°F; High fan speed. Turn off the appliance.
- When the appliance is running press the
button, the screen will display hours. - Press the
button several times until the desired time is displayed. After 5 seconds, the timer will be active and the Timer symbol will be displayed on the screen. - Press the
button again or the
button and the timer will be canceled. (See fig. 13, page 5).
Self-Diagnosis
The appliance has a self-diagnosis system to identify unit malfunctions. Error messages are displayed on the appliance display.
| If Displayed | Action Required |
![]() Low Temperature (Frost Prevention) | The appliance is fitted with a frost protection device to avoid the excessive formation of ice. The appliance starts up again automatically when the defrosting process is completed. |
Probe Failure(Sensor Damaged) | If this is displayed, contact customer service. |
Full Tank(Safety Tank Full) | Empty the internal safety tank, following the instructions in the “End of season operations” paragraph. (page 10) |
REMOTE CONTROL

| On/Off Button | Fan Speed Button | ||
| Increase Button | Mode Button | ||
| Decrease Button | Swing Button | ||
| Timer Button | Sleep Button | ||
| °C/F° | Unit Switch Button |
- Point the remote control at the sensor on the appliance.
- The remote control must be no more than 23 ft. (7 meters) away from the appliance (without obstacles between the remote
control and the receiver). - The remote control must be handled with care. Do not drop it or expose it to direct sunlight or sources of heat. If the remote control does not work, check the batteries and replace them with new batteries. Do not mix new and old batteries.

Inserting or Replacing the Batteries
- Remove the cover on the rear of the remote control.
- Insert two AAA 1.5V batteries in the correct position (see instructions inside the battery compartment).

Note:
- If the remote control unit is replaced or disposed of, the batteries must be removed and discarded in accordance with current legislation as they are harmful to the environment.
- Do not mix old and new batteries. Do not mix alkaline, standard (carbon-zinc) or rechargeable (nickel-cadmium) batteries.
- Batteries may explode or leak if exposed to open flames. Dispose of batteries accordingly.
- If the remote control is not being used for extended periods of time (winter storage), remove the batteries and store in a cool, dry location.
SWING FUNCTION
This function is useful to select the up/downswing of air delivery.
To set this function correctly:
- Select the operating mode (Cool, Dry, Fan).
- Press the
button and the deflector will stop in different positions or it will swing continuously.
SLEEP FUNCTION
This function is useful at night as it gradually reduces the operation of the appliance.
To set this function correctly:
- Select the cool or heat mode as described above.
- Press
the button.
When you choose the sleep function, the screen’s brightness will be reduced and the fan speed will run on low.
The SLEEP function maintains the room at optimum temperature without excessive fluctuations in either temperature or humidity with silent operation. Fan speed is always at Low, while room temperature and humidity vary gradually to ensure the room remains comfortable.
When in COOL mode, the selected temperature will increase by 1°F (1°C) per hour in a 2 hour period. This new temperature will be maintained for the next 6 hours. Then the appliance will turn off.
When in HEAT mode, the selected temperature will decrease by 1°F (1°C) per hour in a 3 hour period. This new temperature will be maintained for the next 5 hours.
Then the appliance will turn off. (Model: 292852)
The SLEEP function can be canceled at any time during operation by pressing the Sleep, Mode or Fan speed button. In FAN or DRY mode, the SLEEP function cannot be set.
Switch From Celsius to Fahrenheit
When the appliance is in standby, press the button and you can change the unit of temperature. For example: Before changing, in Cool mode, the screen will display like the figure on the left. After changing, in Cool mode, the screen will display like the figure on the right.![]()
TIPS FOR CORRECT USE
To get the optimal performance from your appliance, follow these recommendations:
- Close the windows and doors in the room to be air-conditioned (Fig. 24). When installing the appliance semipermanently, you should leave a door slightly open (as little as 1 cm) to guarantee correct ventilation.
- Protect the room from direct exposure to the sun by partially closing curtains and/or blinds to make the appliance more economical (Fig. 25).
- Never rest objects of any kind on the appliance.
- Do not obstruct the air intake and outlet (Fig. 26). Leave the grilles free.
- Make sure there are no heat sources in the room.
- Never use the appliance in very damp rooms (laundry room, for example).
- Never use the appliance outdoors.
- Make sure the appliance is standing on a level surface.

WATER DRAINAGE METHOD
When there is excess water condensation inside the unit, the appliance stops running and shows
(FULL TANK as mentioned in SELF-DIAGNOSIS). This indicates that the water condensation needs to be drained using the following procedures:
Manual Draining (Fig.27)
Water may need to be drained if running in dehumidify mode or if the unit is operating in Cool mode and running under very hot/humid conditions for a prolonged period of time.
- Unplug the unit from the power source.
- Place a drain pan under the lower drain plug. See diagram.
- Remove the lower drain cap.
- Water will drain out and collect in the drain pan (not supplied).
- After the water is drained, replace the lower drain plug firmly.
- Turn on the unit.
Continuous Draining (Fig.28)
While using the unit in dehumidifier mode, continuous drainage is recommended.
- Unplug the unit from the power source.
- Remove the drain plug. Water may drip/spill after the plug is removed. Have a pan ready to collect any residual water.
- Unscrew the drain cap of the continuous drain outlet.
- Connect one end of the garden hose (sold separately) or drainage hose (not supplied) to the drain outlet then lead the other end into a drain or bucket that is lower than the unit.
- Turn on the unit.
Middle Drainage
When running the unit in Dry mode, you can choose the way to drain:
- Unplug the unit from the power source.
- Remove the drain cap (Fig.27). While doing this operation some residual water may spill so please have a pan to collect the water.
- Connect the drain hose (1/2″ or 12.7mm, not supplied) (Fig.28).
- The water can be continuously drained through the hose into a floor drain or bucket.
- Turn on the unit.

Note:
- Condensate may flow out after removing the drain cap, if the unit is running in Cool and Dry mode. When you want to remove the garden hose, prepare a drip tray (not supplied) to collect the condensate from the drain outlet.
- Please be sure that the height of the drain and section of the drain hose should not be higher than that of the drain outlet, or the continuous drainage may not work properly (See Fig. 19 & Fig. 20 on page 7).
- During Cool mode, it is recommended to disable continuous drainage by replacing the drain cap to the drain outlet, to reach maximum performance.
CLEANING
Before cleaning or maintenance, turn the appliance off by pressing the button on the control panel or remote control, wait for a few minutes, then unplug the unit.
Cleaning the Cabinet
You should clean the appliance with a slightly damp cloth then a dry cloth.
- Never wash the appliance with water. It could be dangerous.
- Never use solvents to clean the appliance.
- Never spray with insecticide liquids or similar solutions.
Cleaning the Air Filters
To keep your appliance working efficiently, you should clean the filter every week of operation. The air filter can be taken out as shown in figure 29. Use a vacuum cleaner to remove dust accumulations from the filter. If it is very dirty, immerse the filter in warm water and rinse several times. The water temperature should never be higher than 104°F (40°C). After washing, leave the filter to dry then attach the intake grille to the appliance. Do not put a wet air filter back into the air conditioner as damage may occur.
START AND END OF SEASON OPERATIONS
Start of Season Checks
Make sure the power cable and plug are undamaged.
Follow the installation instructions precisely.
End of Season Operations
To completely empty the unit of water, remove the cap on the condenser drain (Fig. 30). Empty all water left in the basin. Once the water has been drained, put the cap back in place. Clean the filter and dry it thoroughly before storing the unit.

TROUBLESHOOTING
Room Conditions
Temperature of room
64°F-95°F (18°C-35°) Cooling
Temperature of room
50°F-77°F (10°C-25°) Heating
| Problem | Cause | Solution |
| The appliance does not power on. | There is no current It is not plugged in. The circuit breaker has tripped. | Check the power supply. Plug the unit into a power outlet. Wait 30 minutes. If the problem persists, contact TCL customer service. |
| The appliance works for a short time only. | There are bends in the air exhaust hose. Something is preventing the air from being discharged. | Position the air exhaust hose correctly, keeping it as short as possible and free of curves to avoid bottlenecks. Check and remove any obstacles bstructing air discharge. |
| The appliance works but does not cool the room. | Windows, doors and/or curtains are open. There are heat sources in the room (oven, hairdryer, etc). The air exhaust hose is detached from the appliance. The technical specification of the appliance is not adequate for the room in which it is located. | Close doors, windows, and curtains, bearing in mind the lips for correct use given above. Eliminate the heat sources. Fit the air exhaust hose in the housing at the back of the appliance. |
| During operation, there is an unpleasant smell in the room. | Air filter clogged. | Clean the filter as described above. |
| The appliance does not operate for approximately three minutes after restarting it | The internal compressor safety device prevents the appliance from being restarted for three minutes since last being powered off. | This delay is part of normal operation and the unit will operate after three minutes have passed. |
| The following message appears on the display: | The appliance has a self-diagnosing system to identify unit malfunctions. | See the SELF-DIAGNOSIS section (page 7). |






Probe Failure
Full Tank




















